Книга Сварочные работы. Практический справочник, страница 33 – Сергей Кашин

Авторы: А Б В Г Д Е Ж З И Й К Л М Н О П Р С Т У Ф Х Ч Ш Ы Э Ю Я
Книги: А Б В Г Д Е Ж З И Й К Л М Н О П Р С Т У Ф Х Ц Ч Ш Щ Ы Э Ю Я
Бесплатная онлайн библиотека LoveRead.ec

Онлайн книга «Сварочные работы. Практический справочник»

📃 Cтраница 33
Иллюстрация к книге — Сварочные работы. Практический справочник [i_089.jpg]

Рис. 49. Струйный процесс переноса электродного металла на изделие


Количество металла электрода, которое может быть расплавлено за конкретный промежуток времени, вычисляют по формуле:


Gр = Kр × I × t,


где Gр – количество расплавленного электродного металла;

Kр – коэффициент расплавления;

I – величина сварочного тока;

t – время горения сварочной дуги.

Между представленными величинами существует прямо пропорциональная зависимость: чем выше величина тока, чем дольше горит сварочная дуга, тем больше электродного металла будет расплавлено и перенесено. Коэффициент расплавления – это количество расплавленного электродного металла в граммах за 1 час, приходящееся на 1 А сварочного тока. Для стальных электродов этот показатель составляет 8–14 г/А·ч и определяется следующими факторами:

✓ материал, из которого изготовлен электрод;

✓ состав электродного покрытия;

✓ род и полярность тока.

При сварке неизбежны потери жидкого металла, которые возникают в результате разбрызгивания, испарения и окисления кислородом расплавленного металла. Следовательно, в наплавленный металл сварного шва переносится лишь часть металла электрода.

Чтобы вычислить количество наплавленного металла, в формуле следует заменить коэффициент расплавления коэффициентом наплавки (Kн), который меньше первого на величину потерь металла электрода, которые составляют 1–3 г/А·ч.

Представленные коэффициенты необходимы для определения расхода электродов, а также для регламентации сварочных работ.

Техника дуговой сварки

Сварочные работы предполагают определенную подготовку деталей, которая включает в себя несколько операций:

✓ правку, которую осуществляют на станках или вручную. Например для правки листового и полосового металла применяют различные листоправильные вальцы (материал может быть в холодном состоянии или в горячем, если он сильно деформирован), а ручную правку проводят на чугунных или стальных правильных плитах, на которые помещают изделие и правят ударами кувалды или с помощью пресса;

✓ разметку, при которой с чертежа на металл переносят размеры деталей, т. е. таким образом намечают контуры будущего изделия. При этом основными являются измерительные инструменты и шаблоны. Размечая деталь, необходимо принимать во внимание, что при сварке происходит укорачивание деталей. Поэтому следует предусмотреть припуски – 1 мм на каждый поперечный стык и 0,1–0,2 мм на каждый погонный метр продольного шва;

✓ резку, которая бывает термической (для легированной стали, цветных металлов) или механической (роликовые ножницы с дисковыми ножами). Последний вариант целесообразнее, если детали или изделия, подготавливаемые к сварке, являются однотипными;

✓ очистку, которой подвергают и основной металл, и присадочный материал. Они должны быть полностью очищены от ржавчины, окалины, масляных и других загрязнений, поскольку наличие посторонних веществ приводит к образованию при сварке дефектов и снижению прочности шва и всего соединения. Особое внимание надо уделить кромке свариваемых элементов и изделий и прилегающей к ним полосы шириной 25–30 мм;

✓ тщательную подготовку кромок, форма которых бывает различной и определяется толщиной листов. Притупление кромок и зазор между ними должны быть равномерными по всей длине;

✓ сборку, на которую приходится примерно 30 % общей трудоемкости изготовления детали или конструкции. Для упрощения работы используют специальные приспособления, инструменты и шаблоны (рис. 50, 51).

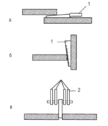
Иллюстрация к книге — Сварочные работы. Практический справочник [i_090.jpg]

Рис. 50. Шаблоны для контроля качества сборки: а – для проверки угла раскрытия кромки; б – для проверки прямого угла; в – для определения смещения листов; 1 – шаблон

Иллюстрация к книге — Сварочные работы. Практический справочник [i_091.jpg]

Рис. 51. Щупы для контроля качества сборки: а – для проверки зазора между листами нахлесточного соединения; б – для определения зазора при тавровом соединении; в – для контроля зазора при стыковом соединении; 1 – щуп-шаблон; 2 – набор щупов


Сборочно-сварочные приспособления применяют для обеспечения доступа к местам установки деталей и рукояткам устройств, которые фиксируют и зажимают деталь, а также для выполнения прихваток и сварки.

К приспособлениям для этой работы предъявляются определенные требования. Они должны:

✓ быть прочными и достаточно жесткими;

✓ удерживать деталь в необходимом положении;

✓ не допускать деформации детали при сварке;

✓ создавать условия, при которых потребуется минимальное количество поворотов при выполнении прихваток и сварных швов;

✓ обеспечивать беспрепятственный доступ для контроля размеров изделия и позволять легко снимать их по окончании сварки;

✓ способствовать безопасности сварочных работ.

Сборочные работы должны вестись в такой последовательности, чтобы каждая предшествующая операция не затрудняла выполнение последующей. Каждая деталь, поступившая на сборку, должна быть проверена на предмет точности геометрических размеров и подготовленности кромок под сварку. Для недопущения деформаций для прихватки надо использовать качественные электроды и выдерживать промежуток между прихватками не более 500 мм, если длина одной прихватки составляет 50–80 мм. Для формирования качественного шва необходимо прихватывать планки в начале и конце изделия.

Чтобы от подготовки перейти непосредственно к выполнению сварки, необходимо понять, каким образом происходит возбуждение дуги на практике. Для этого есть два способа, разница между которыми состоит в том, что в первом случае сварщик дотрагивается концом электрода до поверхности металла, а во втором чиркает по поверхности металла концом электрода и быстро отводит его в сторону примерно на 2–4 мм. Так загорается дуга. При этом надо поддерживать ее длину постоянной, для чего рабочий постепенно опускает электрод по мере того, как тот расплавляется.

Длина дуги должна быть как можно короче, поскольку длинная дуга не дает нужной глубины проплавления основного металла, а электродный металл разбрызгивается, в конечном итоге образуется неровный сварной шов с многочисленными включениями окислов. Короткая дуга сопровождается образованием незначительного количества мелких капель металла, электрод плавится равномерно и дает достаточную глубину проплавления свариваемых частей.

Вход
Поиск по сайту
Ищем:
Календарь