Книга Сварочные работы. Практический справочник, страница 30 – Сергей Кашин

Авторы: А Б В Г Д Е Ж З И Й К Л М Н О П Р С Т У Ф Х Ч Ш Ы Э Ю Я
Книги: А Б В Г Д Е Ж З И Й К Л М Н О П Р С Т У Ф Х Ц Ч Ш Щ Ы Э Ю Я
Бесплатная онлайн библиотека LoveRead.ec

Онлайн книга «Сварочные работы. Практический справочник»

📃 Cтраница 30

Еще более совершенная конструкция – маска со светофильтром «хамелеон», в основе работы которого лежит поляризация жидких кристаллов. При этом жидкокристаллический слой (их может быть несколько), помещенный между поляризационными пленками, изменяет пространственную ориентацию и задерживает некоторое количество света. Специально установленный фильтр предохраняет глаза от инфракрасного и ультрафиолетового излучения. Весь защитный блок имеет толщину не более 10 мм, ширину – 90 мм, длину – 100 мм, вес – не более 100 г. Современные «хамелеоны» срабатывают за 1 миллисекунду (при минусовых температурах не столь быстро).

Существует особая маска для специфических работ, к которым относится сварка металлов с примесями вредных веществ или в условиях плохой вентиляции.

Для таких случаев она оснащается фильтрами и системой подачи воздуха типа противогаза, что надежно защищает органы дыхания от сварочного дыма.

Средства защиты лица, органов зрения и дыхания показаны на рис. 43.

Иллюстрация к книге — Сварочные работы. Практический справочник [i_082.jpg]

Рис. 43. Виды сварочных масок: а – щиток; б – традиционная; в – с подъемным светофильтром; г – со светофильтром «хамелеон»; д – с блоком подачи воздуха


Конструкция сварочной маски должна соответствовать ГОСТу 12.4.035–78 и ТУ 3441–003– 07515055–97, согласно которым она изготавливается из токонепроводящего материала (обычно это электрокартон (фибра) или пластмасса), устойчивого к брызгам расплавленного металла и искрам, и должна защищать внутреннее пространство.

Большое значение имеют вес маски (не более 600 г), габариты и возможность подогнать ее под размер головы.

3. Молоток для отбивания шлака. 4. Стальная щетка для удаления загрязнений и шлака.

5. Зубило для вырубки шва при обнаружении дефектов.

6. Шаблоны для контроля размеров сварного шва.

7. Металлические клейма.

8. Измерительные инструменты (отвес, метр, стальной угольник, линейка, чертилка).

9. Ящик для хранения всевозможных принадлежностей для сварки.

Отдельного разговора заслуживают сварочные провода. Для подведения тока от сети используют провод марки КРПТ; от сварочного аппарата к электродержателю – марки ПРГД, ПРГДО с медными жилами, АПРГДО с алюминиевыми жилами. В любом случае провод должен иметь длину не менее 3 м и не более 30–40 м (при более длинном проводе напряжение в нем упадет и, соответственно, снизится напряжение сварочной дуги, что нежелательно). Если возникает необходимость нарастить провод, применяют муфты, пайку и медные наконечники. Сварочный провод должен иметь определенное сечение, которое определяется величиной сварочного тока (табл. 24).


Таблица 24

Соотношение между сечением сварочного провода и величиной сварочного тока

Иллюстрация к книге — Сварочные работы. Практический справочник [i_083.jpg]

По требованиям техники безопасности сварщик должен быть одет в специальную одежду (комбинезон или куртку и брюки), иметь рукавицы, сшитые из плотного материала (брезента, асбестовой ткани и проч.), способного защитить его от ожогов. Необходимо правильно носить одежду:

✓ надевать брюки навыпуск (поверх обуви);

✓ застегивать куртку на все пуговицы и не заправлять ее в брюки (карманы должны быть с клапанами);

✓ ходить в обуви на резиновой подошве;

✓ головной убор не должен иметь козырька, который помешает защитить лицо маской или щитком.

Ручная дуговая сварка

Продолжительный электрический разряд, который наблюдается при атмосферном давлении в газовой среде между двумя электродами, называется сварочной дугой. Если она образуется между электродами, роль одного из которых играет металлический или угольный стержень (электрод), а другого – свариваемый металл, тогда такая дуга называется дугой прямого действия. В том случае, если два электрода находятся под некоторым углом относительно друг друга, она называется дугой косвенного действия. Первая применяется в большинстве наиболее распространенных видов сварки, а вторая, будучи менее удобной, – при некоторых специальных видах сварки, например при атомно-водородной. При сочетании обоих видов дуги образуется комбинированная дуга.

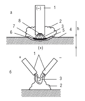
Схематическое изображение дуги прямого и косвенного действия показано на рис. 44.

Дуга прямого действия представлена столбом с основанием в углублении, которое возникает на поверхности сварочной ванны. Форма столба дуги бывает цилиндрической или чуть конической. Его верхняя часть контактирует с раскаленным концом электрода. Эта зона называется катодным пятном. Противоположным ему является анодное пятно, образованное основанием столба в зоне его соприкосновения со свариваемым металлом (напомним, что катод заряжен положительно, а анод – отрицательно). Если значение сварочного тока не превышает средних показателей, т. е. составляет примерно 200–300 А, то диаметр катодного пятна приблизительно в 1,5–2 раза меньше анодного.

Иллюстрация к книге — Сварочные работы. Практический справочник [i_084.jpg]

Рис. 44. Схема сварочной дуги: а – прямого действия; б – косвенного действия; 1 – электрод; 2 – газовое облако; 3 – столб дуги; 4 – соединяемая часть; 5 – анодное пятно; 6 – сварочная ванна; 7 – кратер; 8 – катодное пятно


Столб дуги образует вещество, состоящее из раскаленных и сильно ионизированных газов, которое называется плазмой. В нем сконцентрировано основное количество энергии сварочной дуги, в связи с чем его осевая часть является зоной самой высокой температуры (5500–7800 °C), и она тем выше, чем больше плотность тока в сварочной дуге. Столб дуги окружает ореол пламени (факел дуги). Его образуют пары и газы, температура которых более низкая.

Для возбуждения и горения сварочной дуги необходимы определенные условия. Если рассматривать газы и пары в стандартных условиях, то они оказываются электрически нейтральными и практически не проводят электрический ток. Прохождение последнего через газовую среду возможно только в том случае, если в ней появляются электрически заряженные частицы – электроны, положительные и отрицательные ионы, которые становятся переносчиками электрического тока. (Попутно заметим, что электрон представляет собой материальную частицу, масса которой в 1840 раз меньше массы самого легкого атома – атома водорода, которая несет один отрицательный электрический заряд. Ион – это атом или молекула вещества, может быть либо только положительным, либо только отрицательным.) Такой газ получил название ионизированного. От количества заряженных частиц зависит степень ионизации газа: чем их больше, тем выше степень ионизации, следовательно, и электропроводность газа тоже возрастает.

Вход
Поиск по сайту
Ищем:
Календарь