Книга Сварочные работы. Практический справочник, страница 32 – Сергей Кашин

Авторы: А Б В Г Д Е Ж З И Й К Л М Н О П Р С Т У Ф Х Ч Ш Ы Э Ю Я
Книги: А Б В Г Д Е Ж З И Й К Л М Н О П Р С Т У Ф Х Ц Ч Ш Щ Ы Э Ю Я
Бесплатная онлайн библиотека LoveRead.ec

Онлайн книга «Сварочные работы. Практический справочник»

📃 Cтраница 32

отличается устойчивостью. Ток обратной полярности востребован при сварке тонких металлических листов и в других случаях, когда требуется уменьшить выделение тепла;

✓ длина дуги. Она равна расстоянию от торца электрода до поверхности сварочной ванны. Для стального электрода длина дуги составляет не более 2–4 мм. В этом случае она называется короткой. Для нее характерны такие качества, как устойчивое горение и оптимальное протекание сварочного процесса.

Дуга длиной 4–6 мм считается нормальной, более 6 мм – длинной. В последнем случае отмечается ряд негативных явлений: во-первых, плавление происходит неравномерно, дуга неустойчивая; во-вторых, капли металла, капающие с электрода, могут подвергаться окислению кислородом и насыщению азотом из атмосферного воздуха; в-третьих, наплавленный металл приобретает пористость, а шов – неровную поверхность; в-четвертых, падает производительность, возрастает разбрызгивание жидкого металла, возникают непроваренные участки.

Сварочную дугу можно классифицировать не только по принципу действия (прямого, косвенного и комбинированного), длине, роду тока, полярности постоянного тока или виду электрода, но и по таким признакам, как:

✓ длительность горения. Различаются стационарная и импульсная дуга;

✓ степень сжатия. Дуга может быть свободной и сжатой;

✓ характер среды, в которой происходит сварка. Дуга бывает открытой (горение происходит в атмосферном воздухе) или закрытой (если она возникает под флюсом либо в среде защитных газов);

✓ тип статической вольт-амперной характеристики (так называется зависимость падения напряжения в сварочной дуге от силы тока в условиях постоянной длины дуги).

По этому параметру выделяются дуги с жесткой (падение напряжение не зависит от силы тока), падающей (увеличение силы тока приводит к уменьшению падения напряжения) и возрастающей (напряжение возрастает при увеличении тока) характеристикой.

При сварке вокруг дуги и в металле изделия создаются магнитные поля. Если они несимметричны, тогда под их воздействием дуга отклоняется, затрудняя процесс. Действие магнитных полей, в результате которого дуговой разряд отклоняется, называется магнитным дутьем.

Сила магнитного поля пропорциональна квадрату тока, что объясняет такое явление: магнитное дутье усиливается, если вести сварку с применением постоянного тока силой более 300–400 А, в то время как сварка переменным током протекает с менее выраженным магнитным дутьем. Имеют значение и другие факторы, в частности использование флюса, тонко– и толстопокрытых электродов.

Величина магнитного дутья зависит и от других условий, среди которых следующие:

✓ нахождение ферримагнитных масс в непосредственной близости от зоны сварки;

✓ тип сварного соединения;

✓ наличие зазора между кромками;

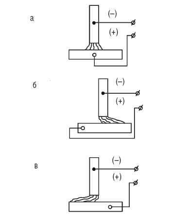
✓ точка подведения электрического тока к изделию (рис. 47) и др.

Поскольку магнитное дутье может создавать трудности при выполнении сварки, для нейтрализации или уменьшения влияния предпринимают соответствующие меры, в частности:

✓ ведут сварку короткой дугой;

✓ подводят сварочный ток как можно ближе к дуге;

✓ варят, наклоняя электрод в сторону действия магнитного дутья, и др.

Иллюстрация к книге — Сварочные работы. Практический справочник [i_087.jpg]

Рис. 47. Отклонение сварочной дуги вследствие магнитного дутья в зависимости от места подведения тока: а – нормальное положение дуги; б – отклонение дуги в левую сторону; в – отклонение дуги в правую сторону


В процессе сварки плавящийся электродный металл постепенно перетекает в сварочную ванну. Это происходит следующим образом:

1) под воздействием высокой температуры сварочной дуги электродный металл расплавляется, например электроду длиной 450 мм для этого достаточно 1,5–2 минут;

2) в результате действия сил поверхностного натяжения и гравитации жидкий металл электрода принимает форму капли, в основании которой образуется тонкая шейка;

3) шейка капли постепенно утончается, что сопровождается увеличением плотности тока в шейке, и удлиняется вплоть до момента касания поверхности основного металла;

4) касание предшествует короткому замыканию, резкому увеличению тока, разрыву шейки капли и возбуждению дуги между электродом и каплей. В результате давления паров и газов она быстро погружается в расплавленный металл сварочной ванны, разбрызгивая некоторую часть материала, после чего весь процесс повторяется с начала (при ручной дуговой сварке каплями переносятся 95 % металла электрода, а 5 % разбрызгиваются). За 1 секунду с электрода на изделие переносится 20–50 капель приблизительно одинакового размера.

Плавление и перенос металла в сварочной дуге показаны на рис. 48.

Иллюстрация к книге — Сварочные работы. Практический справочник [i_088.jpg]

Рис. 48. Капельный перенос электродного металла на изделие: а – образование слоя расплавленного металла на конце электрода; б – формирование капли; в – касание капли поверхности сварочной ванны; г – возбуждение новой дуги


Время, в течение которого происходят горение дуги и короткое замыкание, составляет приблизительно 0,02–0,05 секунды. Форма капель и их размер зависят от ряда факторов, к которым относятся:

✓ сила тяжести и сила поверхностного натяжения. При наложении нижнего шва сила тяжести помогает отрыву капли и переносу электродного металла в сварной шов, а при выполнении потолочного шва, напротив, препятствует;

✓ состав и толщина электродного покрытия, которое снижает поверхностное натяжение примерно на 20–30 %;

✓ величина сварочного тока;

✓ диаметр электрода;

✓ длина дуги и т. д.

При расплавлении покрытия электрода выделяется значительное количество газов, благодаря которым давление в зоне дуги повышается, что приводит к размельчению капель расплавленного металла. С повышением сварочного тока капли уменьшаются в размере. Перенос металла электрода в сварочную ванну крупными каплями наблюдается при сварке на малых токах с применением тонкопокрытых электродов. При увеличении плотности сварочного тока и применении толстопокрытых электродов перенос электродного металла в сварочную ванну напоминает поток мельчайших капель, которые следуют друг за другом. Поэтому данный процесс называется струйным переносом металла (рис. 49).

При этом снижается выгорание легирующих веществ в сварочной проволоке, а чистота металла шва возрастает. Это основное преимущество струйного переноса электродного металла по сравнению с капельным. Но при использовании штучных электродов это невозможно, поскольку плотность тока на электроде не превышает 10–20 А/мм2.

Вход
Поиск по сайту
Ищем:
Календарь