Онлайн книга «Сварочные работы. Практический справочник»
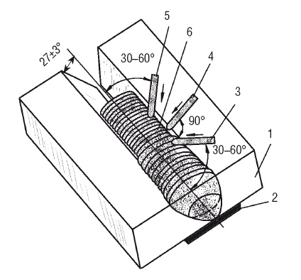
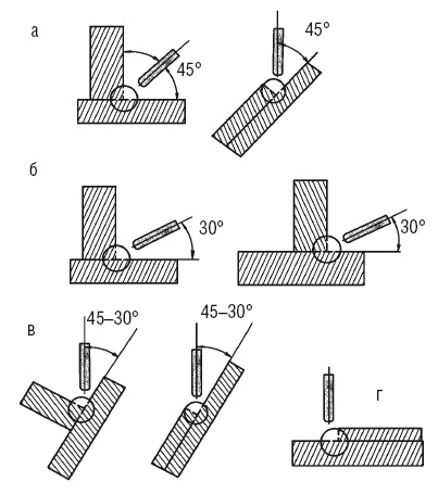
![]() Рис. 56. Техника сварки стыкового соединения без разделки кромок при различном положении электрода: а – вертикальном; б – углом назад; в – углом вперед ![]() Рис. 57. Техника сварки стыкового соединения с разделкой кромок: 1 – пластина; 2 – подкладка; 3 – электрод, расположенный углом вперед; 4 – электрод, расположенный вертикально; 5 – электрод, расположенный углом назад; 6 – корневой шов Наиболее удобными в исполнении и поэтому более предпочтительными являются нижние швы, поскольку вследствие гравитации расплавленный металл электрода стекает в кратер и удерживается в пределах сварочной ванны, а газы и шлаки поднимаются к поверхности. Стыковые швы без скоса кромок производят наплавлением валика вдоль шва, при этом имеет место небольшое уширение, чтобы обеспечить достаточное проплавление кромок. У шва предусматривают усиление до 2 мм. Проварив шов с одной стороны, изделие переворачивают, удаляют шлак и подтеки, а затем выполняют шов с обратной стороны. Стыковые швы с V-образной разделкой кромок варят в один слой, если толщина металла составляет менее 8 мм, а при увеличении толщины свариваемых листов накладывают два и более слоев. Первый слой высотой 3–5 мм выполняют электродом диаметром 3–4 мм, для остальных слоев его диаметр увеличивают до 4–5 мм. Перед тем как наварить очередной слой, предыдущий следует очистить от шлака и застывших капель металла. Это легко сделать металлической щеткой. Когда вся разделка будет заполнена, изделие переворачивают, выбирают (например, пневматическим зубилом) неглубокую канавку (шириной 8–10 мм и глубиной 3–4 мм) в корневом шве и тщательно заваривают ее за один проход, придав шву небольшое усиление. Если нет возможности изменить положение изделия, то необходимо особенно тщательно выполнить корневой шов. Сварка стыковых швов с X-об разной разделкой кромок аналогична наложению многослойных швов с обеих сторон разделки. Ориентировочные режимы ручной дуговой сварки стыковых швов с различной разделкой кромок представлены в табл. 26. При сварке угловых, тавровых и нахлесточных соединений (рис. 58) накладывают угловые швы. Поскольку при угловых швах расплавленный металл стекает в горизонтальную плоскость, рекомендуется выполнять их в нижнем положении «в лодочку», при выборе режима которой можно воспользоваться табл. 27. Таблица 26 Режимы ручной дуговой сварки стыковых швов, выбираемые в зависимости от разделки кромок ![]() ![]() Рис. 58. Техника выполнения угловых, тавровых и нахлесточных соединений: а – в симметричную «лодочку»; б – в несимметричную «лодочку»; в – наклонным электродом; г – с оплавлением кромки Таблица 27 Режимы сварки при наложении углового шва «в лодочку» ![]() Но не всегда есть возможность зафиксировать деталь в соответствующем положении. По этой причине сварку ведут наклонным электродом. Однако если нижняя плоскость углового шва занимает горизонтальное положение, в этом случае не исключается непровар корня шва или какой-либо из кромок. Такой же дефект возникает на нижней поверхности, если возбуждать дугу и начинать работу на вертикальной плоскости. Для недопущения этого при сварке углового шва необходимо возбуждать дугу на нижней кромке в точке А и, миновав разделку, переходить на вертикальную кромку, совершая электродом такие движения, как показано на рис. 59. ![]() Рис. 59. Движения электрода при сварке углового шва Угловые швы могут быть однослойными, если длина катета не превышает 8 мм, и многослойными многопроходными при его длине более 8 мм. Во втором случае сперва выполняют узкий ниточный валик, используя электрод диаметром 3–4 мм, благодаря чему достигается оптимальный провар корня. При определении количества проходов в процессе сварки ориентируются на объем площади поперечного сечения металла шва, заполненный за один проход. Эта величина должна равняться 30–40 мм2, наплавленным за один проход. При выборе режима ручной дуговой сварки угловых швов исходят из наличия одно– или двусторонних скосов либо из их отсутствия (табл. 28 и 29). Таблица 28 Режимы ручной дуговой сварки при наложении угловых швов со скосом кромок ![]() Таблица 29 Режимы ручной дуговой сварки при наложении угловых швов без скоса кромок ![]() Сварка вертикальных швов является непростой задачей, так как под действием гравитации расплавленный металл старается покинуть сварочную ванну. Величина тока, поддерживаемого при выполнении таких швов, должна быть на 10–15 % меньше, чем при сварке нижних швов. Кроме того, дуга должна быть короткой. Наплавленные валики могут быть как узкими, так и широкими. Движения электрода при этом наглядно представлены на рис. 60 и 61. Вертикальные швы накладывают двумя способами: ✓ снизу вверх (на подъем) (рис. 62). При этом дугу возбуждают в нижней точке соединения, а когда образуется сварочная ванна, перемещают слегка вверх и потом в сторону. Дуга должна ориентироваться на основной металл. Благодаря такой методике расплавленный металл при отведенном электроде успевает затвердеть и образовать своеобразную полочку (площадку), которая при движении электрода вверх станет опорой для последующих капель расплавленного металла и не позволит им стекать вниз. Рекомендуемый угол, под которым следует наклонять электрод кверху, составляет 20–25°; |
![Иллюстрация к книге — Сварочные работы. Практический справочник [i_097.jpg] Иллюстрация к книге — Сварочные работы. Практический справочник [i_097.jpg]](img/book_covers/049/49723/i_097.jpg)
![Иллюстрация к книге — Сварочные работы. Практический справочник [i_098.jpg] Иллюстрация к книге — Сварочные работы. Практический справочник [i_098.jpg]](img/book_covers/049/49723/i_098.jpg)
![Иллюстрация к книге — Сварочные работы. Практический справочник [i_099.jpg] Иллюстрация к книге — Сварочные работы. Практический справочник [i_099.jpg]](img/book_covers/049/49723/i_099.jpg)
![Иллюстрация к книге — Сварочные работы. Практический справочник [i_100.jpg] Иллюстрация к книге — Сварочные работы. Практический справочник [i_100.jpg]](img/book_covers/049/49723/i_100.jpg)
![Иллюстрация к книге — Сварочные работы. Практический справочник [i_101.jpg] Иллюстрация к книге — Сварочные работы. Практический справочник [i_101.jpg]](img/book_covers/049/49723/i_101.jpg)
![Иллюстрация к книге — Сварочные работы. Практический справочник [i_102.jpg] Иллюстрация к книге — Сварочные работы. Практический справочник [i_102.jpg]](img/book_covers/049/49723/i_102.jpg)
![Иллюстрация к книге — Сварочные работы. Практический справочник [i_103.jpg] Иллюстрация к книге — Сварочные работы. Практический справочник [i_103.jpg]](img/book_covers/049/49723/i_103.jpg)
![Иллюстрация к книге — Сварочные работы. Практический справочник [i_104.jpg] Иллюстрация к книге — Сварочные работы. Практический справочник [i_104.jpg]](img/book_covers/049/49723/i_104.jpg)