Книга Водоснабжение, канализация и отопление загородного дома, страница 34 – Иван Никитко

Авторы: А Б В Г Д Е Ж З И Й К Л М Н О П Р С Т У Ф Х Ч Ш Ы Э Ю Я
Книги: А Б В Г Д Е Ж З И Й К Л М Н О П Р С Т У Ф Х Ц Ч Ш Щ Ы Э Ю Я
Бесплатная онлайн библиотека LoveRead.ec

Онлайн книга «Водоснабжение, канализация и отопление загородного дома»

📃 Cтраница 34

В последнее время рынок предлагает не только стандартные газовые котлы, но и конденсационные – своеобразный аналог пиролизных котлов, только в «газовом» исполнении. Подобно тому как в пиролизных котлах происходит горение не только древесины, но и древесных газов, в конденсационных газовых котлах горит не только природный газ, но и отработанные газы.

У обычных газовых котлов отработанные газы (продукты горения природного газа) выводятся через дымоход или вытяжные каналы. В конденсационных газовых котлах имеется дополнительный теплообменник, через который проходят отработанные газы. В теплообменнике происходит конденсация отработанных газов, и содержащееся в этой отработке тепло используется. Такая конструкция котла значительно повышает КПД и снижает расход топлива. Экономия топлива составляет около 30 % в сравнении со стандартными газовыми котлами. Правда, цена конденсационных газовых котлов почти на 20 % выше, чем у обычных, но эта переплата – лишь первичные затраты на приобретение оборудования, которые достаточно быстро окупаются в процессе эксплуатации за счет повышения КПД и снижения расхода топлива.

Электрические котлы

Электрические отопительные котлы(Рис. 3.13) одно время устанавливались очень часто в загородных домах – когда электроэнергия была относительно дешева. Но с подорожанием энергоносителя электрические отопительные котлы стали применяться все реже, и теперь их используют в основном в качестве альтернативного источника тепла, то есть как запасное оборудование, на случай выхода из строя основного котла. К сожалению, отключения электроэнергии происходят в сельской местности гораздо чаще, чем исчезновение других видов энергоносителя.

Иллюстрация к книге — Водоснабжение, канализация и отопление загородного дома [i_093.jpg]

Рис. 3.13.Электрический котел: 1 – блок нагрева; 2 – расширительный бак; 3 – циркуляционный насос; 4 – блок управления


Электрические отопительные котлы обладают рядом несомненных преимуществ, которые и обеспечили им популярность: они работают бесшумно, не требуют дополнительной звукоизоляции, дополнительного помещения для хранения топлива, нет неприятного запаха (как в случае с котлом, работающим на жидком топливе), им не нужен дымоход, они могут устанавливаться практически в любом помещении (для экономии места электрический котел можно даже повесить на стену); за счет отсутствия открытого пламени повышается безопасность котла, при использовании наружного накопительного бойлера с помощью электрического котла можно обеспечить не только отопление, но и горячее водоснабжение дома.

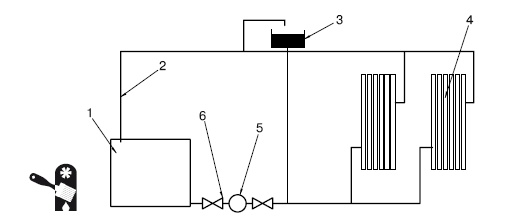
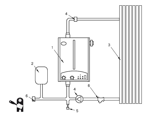
Монтаж электрических отопительных котлов в систему отопления довольно прост, а монтажные схемы обычно имеются в паспорте на котел. Единственное непреложное требование: должен быть обеспечен доступ к котлу для обслуживания и, при необходимости, ремонта. Специалисты рекомендуют устанавливать электрические котлы так, чтобы нижний патрубок располагался ниже, чем отопительные радиаторы, – таким образом улучшается циркуляция воды в системе отопления (Рис. 3.14, 3.15).

Иллюстрация к книге — Водоснабжение, канализация и отопление загородного дома [i_094.jpg]

Рис. 3.14.Схема подключения электрического котла с открытым расширительным баком: 1 – электрический отопительный котел; 2 – напорный стояк; 3 – открытый расширительный бак; 4 – отопительные радиаторы; 5 – циркуляционный насос; 6 – запорная арматура

Иллюстрация к книге — Водоснабжение, канализация и отопление загородного дома [i_095.jpg]

Внимание

Подключение электрического котла должно быть выполнено через УЗО (устройство защитного отключения), за исключением электродного электрического котла.

Современные электрические отопительные котлы снабжаются различными датчиками и сервисным оборудованием для удобства эксплуатации и повышения комфорта (Рис. 3.16). Так, автоматизированная система управления позволяет регулировать температуру воздуха в помещении, при этом точность составляет +0,5 °C. Имеется возможность ступенчатой регулировки мощности, управления циркуляционным насосом, внешняя индикация позволяет оценивать работу котла и т. д. Кроме того, большинство производителей оснащают электрические отопительные котлы релейной системой управления, что снижает чувствительность оборудования к перепадам напряжения в сети (особенно актуально для сельской местности России, где перепады напряжения – дело обычное). Современные электрические котлы могут использовать в качестве теплоносителя как воду, так и антифриз – выпускаются различные варианты.

Иллюстрация к книге — Водоснабжение, канализация и отопление загородного дома [i_096.jpg]

Рис. 3.15.Схема подключения отопительного котла с закрытым расширительным баком: 1 – электрический отопительный котел; 2 – закрытый расширительный бак; 3 – отопительные радиаторы; 4 – циркуляционный насос; 5 – вентиль; 6 – запорная арматура

Иллюстрация к книге — Водоснабжение, канализация и отопление загородного дома [i_097.jpg]

Примечание

Выбирая электрический котел, следует учитывать, что котлы различных производителей могут существенно отличаться друг от друга не только по внешнему исполнению, но и по сервисным функциям.

Иллюстрация к книге — Водоснабжение, канализация и отопление загородного дома [i_098.jpg]

Рис. 3.16.Схема электрического котла с сервисным оборудованием: 1 – бак; 2 – циркуляционный насос; 3 – основание; 4 – крышка бака; 5 – ТЭНы; 6 – предохранительный клапан; 7 – кран удаления воздуха; 8 – аварийный термовыключатель; 9 – пускорегулирующий блок; 10 – панель управления; 11 – термоманометр; 12 – переключатель мощности; 13 – сигнальная лампочка «Сеть»; 14 – сигнальная лампочка «Перегрев»; 15 – терморегулятор капиллярный


К минусам относится не слишком демократичная цена оборудования, а также высокая цена энергоносителя (которая продолжает возрастать). Кроме того, электрический отопительный котел потребляет довольно много энергии, и даже при отсутствии проблем с эксплуатационными расходами можно столкнуться с ситуацией, что такое количество энергии просто не выделят на дом (в сельской местности это не редкость, мощности подстанций ограниченны) или придется отказываться от использования каких-либо других электроприборов и электрооборудования, чтобы обеспечить котел необходимым количеством энергии. Чтобы снизить затраты на отопление, современные электрические котлы оснащаются датчиками, которые обеспечивают автоматическое включение и отключение котла в зависимости от заданной температуры воздуха – это позволяет минимизировать расходы, но они все же остаются довольно высокими, особенно если сравнивать с отопительным оборудованием, использующим другой энергоноситель.

Реклама
Вход
Поиск по сайту
Ищем:
Календарь