Онлайн книга «Водоснабжение, канализация и отопление загородного дома»
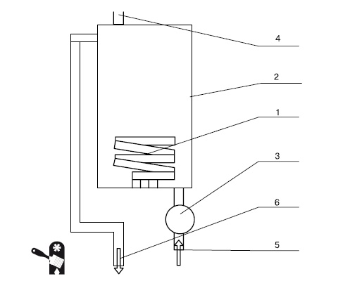
![]() Примечание Тем, кто всерьез обеспокоен экономичностью отопления и электрозависимостью современного отопительного оборудования, рекомендуется обратить внимание на альтернативные источники энергии: солнечные батареи и ветрогенераторы. При грамотном использовании таких источников можно установить любой электрозависимый отопительный котел и совершенно не волноваться за стоимость электричества или за перебои с подачей электроэнергии. Еще одна проблема с электрическим отопительным котлом: питающее напряжение 220 В ограничивает мощность котла 5 кВт, то есть можно обогреть помещение максимальной площадью 50 м 2при невысоких потолках. Это в лучшем случае – маленький дачный домик, ведь отапливаемая площадь – не только жилые помещения, но и прихожая, ванная комната, санузел, кухня и т. д. Для отопления загородного дома, даже небольшого, такой мощности явно не хватает. А для установки котла мощностью, превышающей 5 кВт, требуется питание от трехфазного напряжения 380 В. Чтобы установить такое, нужно наличие специальных разрешений и многое другое, даже специфическая прокладка кабеля. Соответственно расходы на организацию отопления возрастают. Из-за подобных проблем электрические котлы и используются по большей части как вспомогательное отопительное оборудование, а в качестве основного котла устанавливаются в том случае, если не предвидится проблем ни с финансами, ни с электроэнергией. По принципу работы можно выделить три типа электрических котлов: ТЭНовый, электродный и индукционный. ТЭНовые электрические котлы– это котлы, в которых основным элементом является ТЭН, то есть трубчатый электронагреватель. Его задача – преобразование электрической энергии в тепловую и передача ее теплоносителю (Рис. 3.17). ![]() Рис. 3.17.Устройство ТЭНа: 1 – трубки из стали или меди; 2 – спираль; 3 – диэлектрический наполнитель; 4 – изолятор ТЭН нагревается по тому же принципу, что и обычная электрическая лампочка: внутри находится спираль, обладающая большим электрическим сопротивлением, которая разогревается под действием электрического тока. Температура, до которой разогревается спираль ТЭНа, велика – +1200… +1500 °C. Спираль передает тепло окружающему ее наполнителю-диэлектрику, который выводит его на поверхность трубки. Температура на поверхности трубки достигает +800 °C. Принцип работы ТЭНового электрического котла очень прост: теплоноситель нагревается под действием ТЭНа, а затем прокачивается по отопительной системе. ТЭНовые электрические котлы оснащаются автоматическим стравливателем воздуха (Рис. 3.18). ![]() Рис. 3.18.ТЭНовый электрический котел: 1 – ТЭН; 2 – теплообменник; 3 – циркуляционный насос; 4 – автоматический стравливатель воздуха; 5 – вход теплоносителя в котел; 6 – выход теплоносителя из котла ТЭНовые электрические котлы просты в обслуживании, могут работать на перегретой воде, функционировать и при выходе из строя одного ТЭНа, а мощность котла определяется только напряжением сети и не зависит от вида теплоносителя (возможно с равным успехом использование как воды, так и антифризов). Немаловажным плюсом ТЭНовых электрических котлов является их электробезопасность – по сравнению с другими видами электрических котлов, так как основной электроприбор (нагревательная спираль) не имеет контакта с теплоносителем. К недостаткам ТЭНовых котлов относится небольшой срок службы, отнюдь не демократичная стоимость (в ТЭНовых котлах используются дорогостоящие материалы, что приводит к высокой стоимости самого изделия). Проблему также представляет накипь, которая образуется при применении в отопительной системе жесткой воды: при наличии накипи более 3 мм ухудшается охлаждение ТЭНа, что приводит к его перегоранию. В результате возникает необходимость использовать в отопительной системе с ТЭНовым котлом воду, прошедшую водоподготовку для уменьшения жесткости, а применение умягчителей воды или дистиллированной воды существенно увеличивает эксплуатационные расходы на отопительную систему. Минусом ТЭНовых электрических котлов является и низкая ремонтопригодность: если ТЭН выходит из строя, то его отремонтировать невозможно, а приходится производить полную замену. Электродные электрические котлыработают за счет электропроводности воды: вода может проводить электрический ток, в результате чего нагревается (Рис. 3.19). ![]() Рис. 3.19.Принцип работы электродного котла: 1 – катод; 2 – анод; 3 – подача теплоносителя; 4 – выход теплоносителя На рынке представлены электродные электрические котлы как однофазные, так и трехфазные, мощностью 3–16 кВт. Их основным преимуществом является низкая стоимость. К плюсам электродных котлов относятся простота конструкции, компактные размеры, нетребовательность к жесткости воды (при появлении накипи может снизиться мощность котла, но разрушения электродов не происходит), высокий КПД, малая инертность, нечувствительность к перепадам напряжения (при перепадах напряжения изменяется мощность котла, но не происходит отключения). К недостаткам электродного электрического котла относится высокий риск поражения электрическим током (теплоноситель непосредственно контактирует с электродами). Невозможно применение устройства защитного отключения (УЗО), и котлу требуется хорошее заземляющее устройство, что удорожает всю систему. Минусом электродного котла является также невозможность применять в качестве теплоносителя жидкости с низкой точкой замерзания. В процессе эксплуатации электроды могут растворяться, а химический состав теплоносителя – изменяться, это приводит к снижению мощности котла. Выделяющиеся электролизные газы могут не только завоздушивать систему отопления, но и быть ядовитыми. В электродных котлах редко применяется регулировка мощности, так как подобное устройство существенно усложняет конструкцию прибора и удорожает его. Еще одним недостатком электродных котлов является невозможность их использования для организации одноконтурной системы теплоснабжения. Существуют и определенные проблемы с эксплуатацией электродных котлов: требуется постоянно контролировать потребляемый ток, а также обладать знаниями по электропроводности воды. Подобные недостатки привели к тому, что в Европе электродные электрические котлы запрещены не только к применению, но даже к производству в качестве обогревательного оборудования, разрешены производство и эксплуатация таких котлов только в качестве специализированного оборудования (например, при процессах стерилизации), и эксплуатационным обслуживанием занимается специально обученный персонал. На постсоветском пространстве электродные котлы продолжают производиться и эксплуатироваться в качестве обогревательного оборудования из-за их низкой цены. |
![Иллюстрация к книге — Водоснабжение, канализация и отопление загородного дома [i_099.jpg] Иллюстрация к книге — Водоснабжение, канализация и отопление загородного дома [i_099.jpg]](img/book_covers/049/49376/i_099.jpg)
![Иллюстрация к книге — Водоснабжение, канализация и отопление загородного дома [i_100.jpg] Иллюстрация к книге — Водоснабжение, канализация и отопление загородного дома [i_100.jpg]](img/book_covers/049/49376/i_100.jpg)
![Иллюстрация к книге — Водоснабжение, канализация и отопление загородного дома [i_101.jpg] Иллюстрация к книге — Водоснабжение, канализация и отопление загородного дома [i_101.jpg]](img/book_covers/049/49376/i_101.jpg)
![Иллюстрация к книге — Водоснабжение, канализация и отопление загородного дома [i_102.jpg] Иллюстрация к книге — Водоснабжение, канализация и отопление загородного дома [i_102.jpg]](img/book_covers/049/49376/i_102.jpg)