Онлайн книга «Водоснабжение, канализация и отопление загородного дома»
|
Индукционные электрические котлыпредставляют собой наиболее сложную из всех видов электрических отопительных котлов конструкцию. Нагрев теплоносителя в таких котлах происходит за счет явления электромагнитной индукции, и сам котел состоит из двух контуров: магнитной системы и теплообменного устройства (Рис. 3.20). ![]() Рис. 3.20.Устройство индукционного электрического котла: 1 – металлический корпус; 2 – металлический лабиринт; 3 – катушка индуктивности; 4 – вход теплоносителя; 5 – выход теплоносителя Внутри индукционной катушки находится нагреватель, представляющий собой металлический лабиринт, выполненный из бесшовных труб. При создании индукционной катушкой магнитного поля этот лабиринт разогревается, а теплоноситель, циркулирующий в системе (циркуляция осуществляется за счет насоса), нагревается в лабиринте. Так же, как и в ТЭНовых котлах, в индукционных котлах теплоноситель не имеет прямого контакта с электроприборами, и такие котлы обладают высокой электробезопасностью. К плюсам индукционных котлов относится также малая инерция – они быстро выходят на рабочий режим (инерция индукционных котлов значительно ниже, чем, например, ТЭНовых). Индукционные котлы очень надежны, их надежность повышается за счет отсутствия нагревательных элементов. Они могут работать с любым теплоносителем. Немаловажным плюсом является и отсутствие разъемных соединений – в индукционных котлах невозможно возникновение течи. Еще один плюс: в таких котлах практически не образуется накипь. А вот цена на индукционные электрические котлы не слишком радует: они стоят дороже, чем остальные виды электрических котлов. Кроме того, эти котлы обладают самыми большими габаритами и весом. Существуют также проблемы в устройстве плавного регулирования мощности. Некоторые требования, предъявляемые к котлам, приведены в табл. 3.2, 3.3. Таблица 3.2. Требуемое сечение кабеля для электрокотла [8] ![]() Таблица 3.3. Допустимый ток предохранительных автоматов [9] ![]() Кавитационный теплогенератор
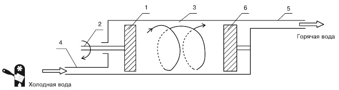
Относительно недавно появился еще один вариант отопительного оборудования: кавитационные теплогенераторы. Сам эффект кавитации известен более ста лет – образование «разрывов» в жидкости в результате местного (локального) понижения давления, то есть образование огромного количества воздушных пузырьков. Когда эти пузырьки «схлопываются», выделяется огромное количество энергии и жидкость нагревается. Главным узлом кавитационного теплогенератора является кавитатор – именно там происходит образование пузырьков. Вода проходит через кавитатор, нагревается под воздействием кавитационных процессов, затем поступает в радиаторы, после прохождения воды через радиаторы температура снижается и цикл начинается заново (Рис. 3.21). КПД такого теплогенератора очень высок: от 90 до 400 %, при этом могут нагреваться большие объемы воды с использованием минимальной мощности (именно кавитационные процессы создают сверхпроизводительность теплогенератора). ![]() Рис. 3.21.Кавитационный теплогенератор: 1 – привод от электродвигателя; 2 – зона нагрева; 3 – вход теплоносителя; 4 – выход нагретого теплоносителя С точки зрения продолжительности эксплуатации лучше, если кавитатор отделен от рабочей камеры устройства, создающего условия для возникновения кавитации. Например, в теплогенераторах роторного типа ротор непосредственно соприкасается с жидкостью (Рис. 3.22). При этом процесс кавитации ведет к разрушению рабочей поверхности ротора, и несмотря на то, что теплогенераторы роторного типа эффективнее, срок их службы непродолжителен. Теплогенераторы, в которых процессы кавитации происходят в отдельной камере кавитатора, а насос является внешним устройством, обладают несколько меньшей эффективностью, зато гораздо более длительным сроком эксплуатации. ![]() Рис. 3.22.Кавитатор роторного типа:1 – ротор; 2 – вал ротора; 3 – рабочая камера; 4 – входной патрубок рабочей камеры; 5 – выходной патрубок рабочей камеры; 6 – тормозное устройство Кроме сверхпроизводительности, кавитационный теплогенератор имеет весьма существенный плюс: он не требует топлива как такового. Фактически топливом для него служит рабочая жидкость (чаще всего вода), которую «заставляет работать» тем или иным образом электродвигатель (это может быть создание вихревых закрученных потоков, повышение/понижение давления за счет изменения скорости протекания жидкости и т. д.). Кавитационный теплогенератор очень просто монтируется в систему отопления (Рис. 3.23), его работа может быть полностью автоматизирована, он экологически безопасен, не требует наличия дымохода и дополнительной звукоизоляции помещения котельной. Кроме того, кавитационный генератор не слишком дорог. К минусам кавитационного теплогенератора относятся электрозависимость (нет электричества – не работает электродвигатель, насос – и нет работы генератора), высокая стоимость электродвигателя, привода ротора или насоса, а также низкая ремонтопригодность – из-за недостатка специалистов, которые способны помочь в случае поломки оборудования. Правда, существуют кавитационные теплогенераторы, имеющие уникальную гарантию: 25–50 лет с момента запуска (для сравнения: газовые и твердотопливные котлы обычно имеют гарантию до 3 лет с момента запуска). Так что есть шанс, что до выработки теплогенератором гарантийного ресурса появятся и специалисты по данному оборудованию. Универсальные (многотопливные) котлы
При выборе отопительного оборудования следует помнить, что любой прибор может сломаться. Поэтому оптимально, если в загородном доме имеется не один отопительный котел, а два, работающие на разных видах топлива, при этом один котел устанавливается в качестве основного, а второй – вспомогательного, который подключается лишь тогда, когда с основным возникли какие-то проблемы. С одной стороны подобный подход выглядит излишней перестраховкой – отопительные котлы не так часто выходят из строя, да и стоит оборудование не слишком дешево, чтоб тратить деньги на «мертвый груз», который может и не потребоваться долгое время. Но с другой стороны, только представьте, что именно ваш котел «решил» сломаться, да еще зимой, а мастера придется ждать минимум несколько дней. |
![Иллюстрация к книге — Водоснабжение, канализация и отопление загородного дома [i_103.jpg] Иллюстрация к книге — Водоснабжение, канализация и отопление загородного дома [i_103.jpg]](img/book_covers/049/49376/i_103.jpg)
![Иллюстрация к книге — Водоснабжение, канализация и отопление загородного дома [i_104.jpg] Иллюстрация к книге — Водоснабжение, канализация и отопление загородного дома [i_104.jpg]](img/book_covers/049/49376/i_104.jpg)
![Иллюстрация к книге — Водоснабжение, канализация и отопление загородного дома [i_105.jpg] Иллюстрация к книге — Водоснабжение, канализация и отопление загородного дома [i_105.jpg]](img/book_covers/049/49376/i_105.jpg)
![Иллюстрация к книге — Водоснабжение, канализация и отопление загородного дома [i_106.jpg] Иллюстрация к книге — Водоснабжение, канализация и отопление загородного дома [i_106.jpg]](img/book_covers/049/49376/i_106.jpg)
![Иллюстрация к книге — Водоснабжение, канализация и отопление загородного дома [i_107.jpg] Иллюстрация к книге — Водоснабжение, канализация и отопление загородного дома [i_107.jpg]](img/book_covers/049/49376/i_107.jpg)