Книга Водоснабжение, канализация и отопление загородного дома, страница 31 – Иван Никитко

Авторы: А Б В Г Д Е Ж З И Й К Л М Н О П Р С Т У Ф Х Ч Ш Ы Э Ю Я
Книги: А Б В Г Д Е Ж З И Й К Л М Н О П Р С Т У Ф Х Ц Ч Ш Щ Ы Э Ю Я
Бесплатная онлайн библиотека LoveRead.ec

Онлайн книга «Водоснабжение, канализация и отопление загородного дома»

📃 Cтраница 31

Выбирая топливный бак, нужно обратить внимание не только на его объем, но и на устойчивость к коррозии (особенно если планируется установка бака в грунт), а также на устойчивость к механическим нагрузкам (для баков, расположенных в грунте, этот критерий является одним из решающих). Рынок предлагает топливные баки из различных материалов: из стали, полиэтилена, армированного стеклопластика, комбинированные и т. д. При выборе проконсультируйтесь со специалистом, который подскажет, какой именно топливный бак будет оптимальным для ваших конкретных условий эксплуатации. Будьте внимательны: несмотря на то что топливный бак стоит относительно недорого (от $250 и выше – в зависимости от объема и материала, из которого он изготовлен), его замена – дело сложное, особенно если вы хотите, чтобы бак был установлен в грунте.

Ведущие производители жидкотопливных отопительных котлов предлагают дополнительное оборудование, с помощью которого можно автоматизировать весь отопительный процесс, в том числе и осуществлять защиту котельного оборудования от нежелательных и опасных режимов работы. Выпускаются датчики, которые могут регулировать работу котла, исходя из температуры не только в помещении, но и даже на улице. Жидкотопливный котел, оснащенный таким оборудованием, может выполнять функции «Умный дом», поддерживая комфортную температуру в помещениях без участия человека. Специалисты рекомендуют использовать системы автоматики производства той же компании, что и основное котельное оборудование.

Недавно на российском рынке появились конденсационные дизельные котлы, которые за счет высшей теплоты сгорания топлива используют для работы меньше солярки, чем стандартные жидкотопливные (по отношению к стандартным жидкотопливным котлам конденсационные являются аналогом пиролизных котлов по отношению к обычным твердотопливным). Применение различных новаторских технических решений в конструкции конденсационных дизельных котлов позволяет сэкономить до 25 % топлива, что существенно повышает привлекательность жидкотопливных котлов такого типа. При этом гарантийный срок эксплуатации составляет 20 лет. Интересно еще и то, что дизельная горелка для конденсационного котла комплектуется специальным защитным кожухом, что позволяет котлу работать практически бесшумно (то есть устраняется еще один недостаток обычного жидкотопливного котла – шумность работы).

Еще один вариант экономии топлива для жидкотопливного котла – использование турбоциклонных горелок, которые выпускаются некоторыми производителями котлового оборудования. С помощью таких горелок происходит полное сгорание топлива, при этом сжигаются и угарный газ, и окиси азота, и другие вещества, которые образуются при горении жидкого топлива, в результате топлива требуется меньше, а также возрастает экологичность жидкотопливного котла – вредные вещества, образующиеся в процессе горения, вместо того чтобы выбрасываться в атмосферу, сгорают, увеличивая эффективность работы котла. Пока лишь немногие производители котлового оборудования предлагают турбоциклонные горелки для своих котлов, но они уже имеются на российском рынке.

Следует заметить, что, хотя традиционным топливом для жидкотопливного отопительного котла считается солярка, такие котлы могут работать и на других видах жидкого топлива: мазуте, отработанных маслах, смеси нефтяных и биомасел, печном топливе и т. д. При этом в дымогарные каналы дизельных котлов устанавливаются турбуляторы из нержавеющей стали (для создания турбулентного потока, что позволяет улучшить теплопередачу и повысить эффективность работы котлового оборудования), а при переходе на отработанные масла они демонтируются (Рис. 3.10). Демонтирование турбуляторов при работе котла на отработанных маслах, мазуте и газомазутных смесях необходимо, так как в этом случае приходится часто очищать дымогарные каналы.

Несмотря на то что жидкотопливные котлы ориентированы не только на использование солярки в качестве топлива, при использовании других видов жидкого топлива (не солярки) могут возникать определенные сложности. Например, для обеспечения эффективной работы котлового оборудования необходимо устанавливать горелку, оптимизированную для определенной топливной смеси по таким параметрам, как вязкость, а также состав, который может отличаться в зависимости от поставщика (например, состав отработки масел различный не только в разных странах, но даже в разных регионах одной страны и в разных городах). Следует учитывать, что жидкотопливный котел имеет различную эффективность при применении разного жидкого топлива.

Иллюстрация к книге — Водоснабжение, канализация и отопление загородного дома [i_089.jpg]

Рис. 3.10.Турбуляторы для жидкотопливного котла


Если планируется использовать жидкотопливный котел для таких видов топлива, которые выделяют большое количество продуктов сгорания (отработка масел как органического, так и синтетического происхождения, мазута и т. д.), рекомендуется выбирать котел, оснащенный не только передней дверкой (в нее встраивается горелка), но и задней – в этом случае увеличивается удобство обслуживания котла и проще становится очистка дымогарных каналов.

Газовые котлы

Газовый отопительный котелработает на природном газе, как на магистральном, так и на сжиженном (Рис. 3.11). Его основным плюсом считается достаточно низкая цена топлива (особенно если имеется магистральный газ). При этом не требуется дополнительного помещения для хранения запасов топлива, как в случае с твердотопливным котлом или котлом, работающим на жидком топливе (если имеется магистральный газ, а если же приходится пользоваться сжиженным, то необходимо предусмотреть место для установки запасного баллона, но это все же не отдельное помещение, а лишь немного места).

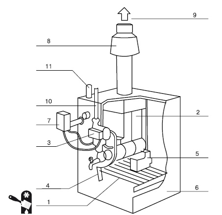
Иллюстрация к книге — Водоснабжение, канализация и отопление загородного дома [i_090.jpg]

Рис. 3.11.Газовый котел: 1 – горелка; 2 – теплообменник; 3 – циркуляционный насос; 4 – кожух котла; 5 – газовый клапан; 6 – подача газа; 7 – блок управления; 8 – дымоход; 9 – выход отработанных газов; 10 – прямая отопления; 11 – отвод излишков топлива (обратка отопления)


Одним из основных недостатков газовых котлов является необходимость отдельного помещения для его установки, причем оно должно быть оборудовано в соответствии с требованиями строительных норм и правил. Требования к проектированию котельных изложены в следующих нормативных документах: СНиП II-35-76 «Котельные установки», СП 41-104-2000 «Проектирование автономных источников теплоснабжения», СНиП 42-01-2002 «Газораспределительные системы». В соответствии с нормативами помещение для установки газового отопительного котла должно быть:

✓ площадью не менее 6 м 2;

✓ с минимальной высотой потолков 2,5 м;

✓ с внешней дверью шириной не менее 0,8 м;

✓ с окном для естественного освещения (естественное освещение должно проектироваться из расчета остекления 0,03 м 2на 1 м 3объема помещения, причем размеры оконных проемов должны быть минимальными);

Реклама
Вход
Поиск по сайту
Ищем:
Календарь