Книга Отопление и водоснабжение вашего дома, страница 16 – Владимир Жабцев

Авторы: А Б В Г Д Е Ж З И Й К Л М Н О П Р С Т У Ф Х Ч Ш Ы Э Ю Я
Книги: А Б В Г Д Е Ж З И Й К Л М Н О П Р С Т У Ф Х Ц Ч Ш Щ Ы Э Ю Я
Бесплатная онлайн библиотека LoveRead.ec

Онлайн книга «Отопление и водоснабжение вашего дома»

📃 Cтраница 16

1 — резервуар; 2 — гравийный сальник; 3 — фильтрующий блок; 4 — каркас с отверстиями; 5 — гвоздь; 6 — пробка.

Фильтр из крупнопористого бетона можно смонтировать и на внутреннем перфорированном каркасе. В этом случае всю колонну бетонных блоков устанавливают на деревянной пробке. Если по какой-то причине произойдет разрушение связующего и сцепление между зернами гравия нарушится, фильтр этой конструкции превращается в засыпной гравийный.

При достаточной мощности водоносного слоя и значительном дебите скважины целесообразно гравийный фильтр разместить ниже статического уровня воды, а сальник сделать засыпным, гравийным. Тогда в полости обсадной трубы над фильтром образуется большее пространство для насоса.


Эта операция называется «обнажение фильтра». Для напорной, артезианской, воды между фильтром и обсадной трубой устанавливают сальник из резины или пенькового просмоленного шнура. После обнажения фильтра штангу поворотом выводят из штыковой муфты и вытаскивают на поверхность.

Абиссинский трубчатый колодец

Когда твердые (каменные) породы отсутствуют или встречаются в небольшом количестве местами, локально, а водоносный пласт состоит из рыхлых зернистых пород (песок средней крупности, смесь песка с галькой) и находится на глубине не более 7 м, проще всего сделать так называемый абиссинский трубчатый забивной колодец.

Подъем воды с глубины более 7 м может быть осуществлен с помощью погружного насоса или эрлифта.

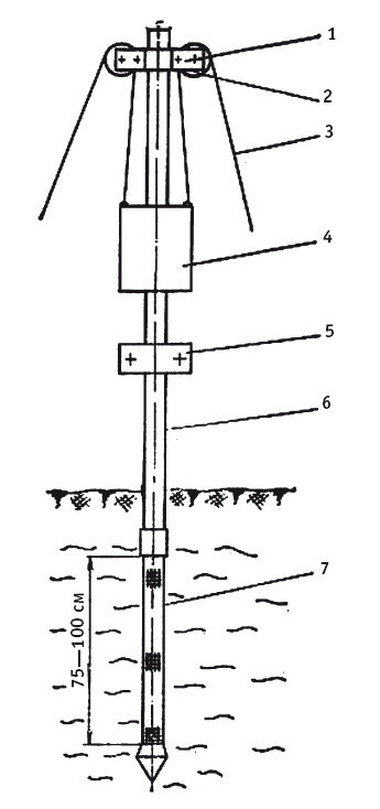
Вначале на выбранном месте для колодца роют шахту размерами 0,8 × 0,8 × 1 м. Затем, присоединив к фильтру трубу, на нее свободно надевают бабу массой 25–30 кг. На расстоянии 1 м от фильтра на трубе укрепляют болтами стальной хомут — подбабок, состоящий из двух половин, а выше его на 1–1,5 м устанавливают второй хомут с двумя блоками. Поставив в центре шахты подготовленную для забивки трубу, шахту заполняют грунтом и утрамбовывают его. После этого забивают абиссинский колодец, поднимая бабу за веревки и ударяя ею по нижнему хомуту. По мере заглубления колодца подбабок и хомут с блоками передвигают вверх по трубе. Заглубив первую трубу, навинчивают следующую и т. д.

Иллюстрация к книге — Отопление и водоснабжение вашего дома [i_041.jpg]

Водоприемная часть абиссинского колодца.

При желании абиссинский колодец нетрудно сделать с сетчатым фильтром. Устройство и технология изготовления таких фильтров будет рассмотрена ниже.

Иллюстрация к книге — Отопление и водоснабжение вашего дома [i_042.jpg]

Простейшее устройство для изготовления абиссинского колодца:

1 —хомут; 2 — блок; 3 — веревка; 4 — баба; 5 — подбабок; 6 — труба; 7 — сетчатый фильтр.


В процессе забивки проверяют, не появилась ли вода в трубе. Для этого в трубу опускают на шнуре небольшой длины отрезок тонкой трубки, который при соприкосновении с водой издает характерный хлопок. Забивку труб производят до тех пор, пока фильтр не погрузится в водоносный слой и уровень воды в трубе не будет стоять на 0,5–1 м выше верхнего края фильтра. После этого забивку труб прекращают и откачивают воду до полного ее осветления. Для подъема воды из абиссинского колодца на высоту до 7 м годятся ручные поршневые насосы. Ручной насос плотно закрепляют на резьбе или на фланцах непосредственно на обсадной трубе колодца.

Эксплуатация скважин

При эксплуатации скважин необходимо постоянно следить за дебитом. Его замеры нужно делать 3-4 раза в год или 2 раза за летний период.


Для этого с помощью ведра и секундомера определяют объем воды, поступающей в 1 с. Можно также использовать одну и ту же емкость и замерять время ее заполнения. Если дебит скважины падает, следует извлечь насос, замерить уровень воды в скважине, определить с помощью шнура и груза ее глубину. При засорении скважины вследствие накопления в ней породы необходимо очистить ее желонкой.

Если же дебит снизился в 1,5–2 раза по сравнению с первоначальным, а уровень воды в скважине остался на прежней глубине, то скважину и фильтр следует очистить. Для этого используют легкие трубы с поршнем. Поршень изготовляют в виде колец из листовой резины диаметром, равным внутреннему диаметру фильтра. Резиновый диск скрепляют двумя металлическими шайбами. Поршень опускают в фильтр и делают резкие движения вверх и вниз. После этого скважину очищают желонкой или интенсивно прокачивают поршневым насосом. Фильтр можно чистить и с помощью ерша, который представляет собой расплетенный стальной трос.

Если механической чисткой не удается добиться повышения дебита, можно обработать скважину раствором соляной кислоты. Это делают в тех случаях, когда фильтр забился железистыми соединениями, выделившимися из воды. Их легко обнаружить по охристой окраске отложений на насосе, водоприемном баке, трубах. Для обработки раствор кислоты 10–15 %-ной концентрации заливают через трубки внутрь фильтра и чистят его поршнем. На 1 м фильтра заливают 5 л раствора кислоты. Раствор в скважине необходимо выдержать в течение суток. После этого поршневым насосом нужно прокачать скважину, удалив из нее все осадки. Вместо кислоты можно использовать 5 %-ный раствор дитионита натрия или полифосфатов (гексаметафосфат). При этом следует соблюдать осторожность в отношении техники безопасности.

Когда никакие методы обработки скважины не дают положительных результатов, фильтр следует заменить. Из скважины его извлекают с помощью фильтрового ключа. Если фильтр подвергся сильной коррозии и не поддается извлечению, надо применить специальное устройство в виде груши. На конец труб прикрепляют конус, основание которого снизу имеет диаметр на 5—10 мм меньше внутреннего диаметра фильтра. После размещения в нижней части фильтра конус сверху обсыпают песком или гравием. В результате происходит его заклинивание, и фильтр с помощью ваг или домкратов извлекают на поверхность.

Извлеченные насосы надо тщательно очистить от прилипших к ним отложений. Профилактику необходимо проводить согласно инструкции на тот или иной тип насоса.

Обустройство скважины

Создание автономного водоснабжения загородного дома включает в себя не только бурение скважины, но ее обустройство необходимым оборудованием. Этот второй этап является не менее важным, чем первый. Он может выполняться как непосредственно после бурения, так и в другое удобное время и заключается в подборе, установке и монтаже специальных устройств, позволяющих добывать воду из пробуренной скважины и доставлять ее прямо в дом. Во избежание засорения внутренних систем водоснабжения загрязнениями, содержащимися в воде, обустройство скважин рекомендуется проводить одновременно с монтажом систем водоподготовки и водоочистки. Это позволит подавать в дом уже очищенную и годную для питья воду.

Вход
Поиск по сайту
Ищем:
Календарь