Книга Отопление и водоснабжение вашего дома, страница 13 – Владимир Жабцев

Авторы: А Б В Г Д Е Ж З И Й К Л М Н О П Р С Т У Ф Х Ч Ш Ы Э Ю Я
Книги: А Б В Г Д Е Ж З И Й К Л М Н О П Р С Т У Ф Х Ц Ч Ш Щ Ы Э Ю Я
Бесплатная онлайн библиотека LoveRead.ec

Онлайн книга «Отопление и водоснабжение вашего дома»

📃 Cтраница 13

Для того чтобы из скважины вытащить упавший мелкий предмет, необходим ловильный штопор — спирально согнутая стальная пластина (полоса) с резьбовым хвостиком наверху. Штопор опускают в скважину на штангах, и при вращении он вместе с породой захватывает упавший предмет. Аналогичные ловильные инструменты применяют и для обсадных труб.

Иллюстрация к книге — Отопление и водоснабжение вашего дома [i_029.jpg]

Буровая вышка.

Вращательное движение штанг в скважине осуществляется с помощью накидного хомута, который может быть выполнен из дерева и стягиваться шпильками. Для подъема тяжелой колонны штанг из глубоких шахт потребуется ворот или лебедка, а также опора для верхнего блока. Обычно в этом случае устанавливают буровую вышку, которая представляет собой треногу высотой 4,5–5 м с канатным блоком наверху. Через блок должны быть пропущены крепкая веревка или стальной трос, с помощью которых колонну штанг с инструментом и разбуренной породой можно было бы вытащить лебедкой или воротом на поверхность. При ударном бурении, когда инструмент со штангами поднимают на 1–1,5 м и сбрасывают в забой, для облегчения труда применяют балансир (рычаг 1-го рода)деревянный брус или крепкую доску-шестидесятку.

Иллюстрация к книге — Отопление и водоснабжение вашего дома [i_030.jpg]

Вортлюг.

Чтобы плоские долота разрабатывали круглую шахту; штанги с инструментом при каждом ударе поворачивают руками на некоторый угол, поэтому к балансиру их подвешивают через штанговый вортлюг.

Буровой снаряд Шитца

При глубине скважины более 10 м процесс ручного ударно-вращательного бурения становится очень тяжелым и трудоемким. Длинные штанги гнутся, трудно избежать искривления оси скважины, много времени уходит на свинчивание-развинчивание штанг, возникает опасность их разрыва. И когда бур не идет, натыкаясь на камни, работа превращается в настоящее мучение. Между тем дело можно существенно облегчить, если штанги заменить стальным тросом или даже веревкой и производить проходку только ударным способом. В настоящее время этот ударно-канатный способ имеет некоторое промышленное значение, применяясь в основном при бурении глубоких скважин на воду. Перед бурением в скважину глубиной 1 м (делается буравом) устанавливают вертикально столб диаметром 140–200 мм и закрепляют оттяжкой за якорь. На верху столба заранее делают поперечину (в виде глаголицы) с подкосом и блоком. Подвешенным на блоке буравом намечают центр скважины. Начинают проходку скважины тем же буравом на глубину 1 м. Далее работу ведут коническим стаканом — это основной инструмент. Поднимают его за веревку на высоту 1–1,5 м и бросают. Стакан врезается в дно скважины, грунт входит в него, уплотняется и удерживается в стакане, пока его вытаскивают на поверхность. Может случиться, что стакан будет забирать грунта слишком мало или совсем его не забирать. Это происходит в тех случаях, когда грунт очень твердый и сухой или состоит из сыпучего песка или песка, напитанного водой (плывуна). В первом случае надо подливать в забой воду, во втором — подсыпать немного растительной земли и незначительно смачивать водой. Можно также пустить в дело цилиндрический стакан или желонку, которая собственно и предназначена для проходки сыпучих и оплывающих грунтов, поскольку снабжена клапаном. С помощью желонки можно извлекать и довольно большие камни, лишь бы они смогли пройти в отверстие под клапан. Желонка в плывучих грунтах будет успешно забирать породу. Но поскольку порода будет заливать скважину, проходку скважины придется вести одновременно с опусканием обсадной трубы. А материалы, из которых делают обсадные трубы, могут быть самыми разными.

Иллюстрация к книге — Отопление и водоснабжение вашего дома [i_031.jpg]

Буровой снаряд Шитца работает чрезвычайно быстро и просто. При достаточной сноровке с его помощью вдвоем можно легко пробить скважину диаметром 270 мм до 20 м глубиной.

Буровой снаряд Шитца состоит всего из четырех несложных инструментов: бурава (А), конического стакана (Б), цилиндрического стакана (В) и желонки (Г). Он может быть изготовлен в любой кузнице.

Иллюстрация к книге — Отопление и водоснабжение вашего дома [i_032.jpg]

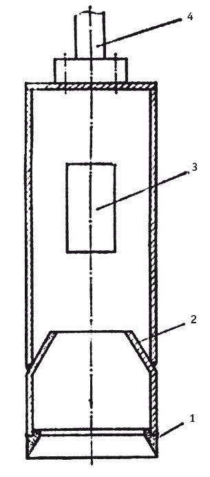
Конический стакан в современном исполнении:

1 — башмак; 2 — конус; 3 — окно для чистки; 4 —ударная штанга. Описанный выше конический стакан Шитца изготовить совсем непросто, но можно упростить конструкцию и сделать ее в домашних условиях из куска трубы. С одного края вырезают клинья и подгибают оставшиеся лепестки, а затем заваривают.

Иллюстрация к книге — Отопление и водоснабжение вашего дома [i_033.jpg]

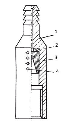
Канатный замок:

1 — корпус; 2 — шайба; 3 — втулка; 4 — отверстие для выхода воды. Замена веревки стальным тросом и позволяет осуществлять такой поворот с помощью специального устройства — канатного замка. Для крепления троса в замке его протягивают во втулку; конец расчаливают на отдельные проволоки, очищают до металлического блеска и вырезают пеньковый сердечник. Затем проволоки загибают вверх, чтобы они смогли войти в коническую расточку втулки; затягивают туда канат и заливают каким-либо легкоплавким металлом или сплавом. Втулка с закрепленным канатом должна в замке свободно вращаться, перемещаться вдоль оси и проскальзывать при закручивании-раскручивании каната. В этом как раз и заключается конструктивная идея канатного замка. Таким образом, при поднятии долота трос натягивается и раскручивается; поворачивая свободно висящее долото вместе со втулкой на некоторый угол. Когда же брошенное долото ударяет в породу; трос в результате снятия нагрузки снова закручивается, проворачиваясь в замке. Назначение опорной шайбы замка — предохранить его корпус от расклепывания при ударах, отверстия служат для вытекания воды, попавшей в замок. Конусная гребенка в верхней части замка позволяет захватить замок с помощью ловильного приспособления при аварии, если трос вырвется из замка, и вытащить ударную штангу с инструментом на поверхность.

Иллюстрация к книге — Отопление и водоснабжение вашего дома [i_034.jpg]

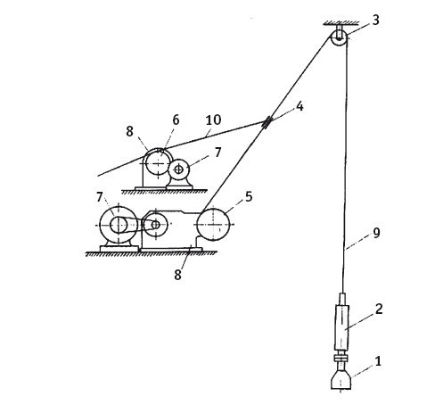
Схема установки для ударно-канатного бурения:

1 — долото; 2 — ударная штанга; 3 — блок; 4 — подвижный захват; 5 — канатный барабан; 6—барабан для веревки; 7—электродвигатель; 8 — редуктор; 9 — канат; 10 — веревка.

Чтобы осуществить удар в забое, т. е. сбросить ударную штангу с буровым инструментом с высоты 1–1,5 м, надо оттягивать канат. Для этого удобно и просто использовать вторую лебедку. Например, с этой целью на выходной вал какого-либо редуктора можно установить небольшой барабан 220 мм диаметром, а на него несколькими витками набросить капроновую веревку. Один конец этой веревки с помощью захвата следует укрепить на тросе. При натягивании второго конца веревки руками она (в результате трения на барабане) оттягивает трос. Если отпустить конец, веревка проскальзывает по барабану и штанга с инструментом падает в забой. Разумеется, по мере углубления инструмента в грунт трос необходимо протравливать, а при подъеме из забоя на поверхность веревку с захватом отсоединять. Барабан для оттягивания каната можно сделать и с ручным приводом по типу старинного ворота.

Вход
Поиск по сайту
Ищем:
Календарь