Книга Отопление и водоснабжение вашего дома, страница 14 – Владимир Жабцев

Авторы: А Б В Г Д Е Ж З И Й К Л М Н О П Р С Т У Ф Х Ч Ш Ы Э Ю Я
Книги: А Б В Г Д Е Ж З И Й К Л М Н О П Р С Т У Ф Х Ц Ч Ш Щ Ы Э Ю Я
Бесплатная онлайн библиотека LoveRead.ec

Онлайн книга «Отопление и водоснабжение вашего дома»

📃 Cтраница 14
Иллюстрация к книге — Отопление и водоснабжение вашего дома [i_035.jpg]

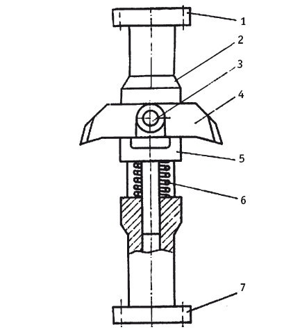
Ловитель для канатного замка:

1 — корпус; 2 — траверса; 3 — штифт; 4 — зуб; 5 — скоба; 6 — канатный замок.

Наиболее слабым местом при ударно-канатном бурении является крепление стального троса в канатном замке. При заклинивании инструмента в забое трос иногда можно вырвать из замка. В этом случае для извлечения инструмента придется изготовить ловитель. Перед спуском ловителя в скважину зубья его надо отвести в крайнее положение, сжав пружины, и закрепить их штифтами. Когда ловитель наденется на верхнюю часть канатного замка (конусную гребенку), торец замка приподнимет траверсу, штифты освободят зубья, и последние под воздействием пружин захватят замок за конические выступы.

Иллюстрация к книге — Отопление и водоснабжение вашего дома [i_036.jpg]

Расширитель скважины:

1 — верхний фланец; 2 — корпус; 3 — ось; 4 — резец; 5 — подкладка; 6 — пружина; 7 — нижний фланец.

Если скважина проходит через твердые пласты камня, срезать стенки с помощью обсадной трубы уже не удастся. Можно попытаться расширить скважину эксцентричным долотом, но более эфективным инструментом является специальный расширитель, этот расширитель имеет два разреза, которые могут поворачиваться на оси и, выступая наружу; за края обсадной трубы, разрабатывать соответственно скважину большего диаметра. Расширитель работает вместе с долотом. Чтобы спустить расширитель в обсадную трубу; надо его резцы согнуть вниз, сжав пружину. Пройдя нижний обрез обсадной трубы, резцы под воздействием сжатой пружины (через подкладку) расходятся и устанавливаются в рабочее положение. При падениях ударной штанги резцы срезают породу со стенок скважины за пределами обсадной трубы. Когда инструмент поднимают на поверхность, резцы упираются в края обсадной трубы, поворачиваются вниз, преодолевая сопротивление пружины, и проходят в обсадную трубу.


Недостатком бурового снаряда Шитца является невозможность проходки скважины в породе с крупными валунами и сплошными каменными пластами. Однако устранить этот недостаток сравнительно легко, если использовать долота (как при ударно-вращательном бурении), а веревку заменить стальным тросом. Тогда ударно-канатное бурение становится универсальным, пригодным для любых пород. Проходка твердых пород требует более сильного удара инструмента в забое. Достигается это применением тяжелой ударной штанги, которую можно сделать цельной или составной (из отдельных стальных болванок, штанг, заполненных бетоном). Соединять эти болванки лучше на фланцах с помощью болтов, поскольку цилиндрические резьбы от ударов быстро сминаются и разъединить потом болванки крайне трудно. В практике автора для проходки очень тяжелых пород (каменные плиты по 60–80 см толщиной одна над другой через 3–4 м) были использованы штанги общей массой по 500 кг. Понятно, что в этом случае уже без лебедки не обойтись, а веревку приходится заменить стальным тросом.

При ударно-канатном бурении скважина идет совершенно отвесно, прямолинейно, глубина ее не лимитируется, лишь бы хватило троса, а о быстроте подъема и спуска инструмента в забои не приходится и говорить, особенно если использовать лебедку с механическим приводом. Не требуется сколько-нибудь значительных усилий и на подъем ударной штанги второй лебедкой. Здесь не рассматриваются особенности бурения различных пород, так как их слишком много. В ряде случаев процесс можно облегчить, если в забой подливать воду. Тогда разрушенные породы, особенно твердые, легче забрать желонкой. При каждом подъеме из забоя бурового инструмента его надо тщательно осматривать. И все же, несмотря на все предосторожности, случаются аварии.

Когда проходка скважины ведется с обсадной трубой, буровой инструмент должен проходить внутри трубы с зазором 10–15 мм на сторону. Остающийся на стенках скважины лишний грунт будет срезаться обсадной трубой при ее опускании. Здесь опять весьма полезной окажется тяжелая штанга, которой трубу можно основательно пристукнуть и обсадить вниз. Стальная труба в этом случае будет наилучшей.

Обсадные трубы

Обсадные трубы для самодельного трубчатого колодца лучше взять стальные, особенно для глубоких колодцев. Они прочнее других, и их легче соединить, впрочем, обсадные трубы могут быть асбестоцементными, пластмассовыми, чугунными и деревянными. Обсадную трубу набирают из отдельных звеньев, длина которых для удобства в работе составляет 2–4 м. Стальные звенья соединяют между собой резьбовыми муфтами или сваркой. В значительной степени способ соединения зависит от диаметра. Так, трубы внутренним диаметром 50 мм (2") проще соединять муфтами, а трубы диаметром 100 мм и более — сваркой. В частности, на концах труб диаметром 50 мм резьбу (14 ниток на 1") нарезают на длине 50 мм. Вся длина муфты — 112 мм (100 мм резьбы плюс две концевые проточки длиной б мм для захода трубы). Форма муфты такая же, как и для соединения штанг.

Иллюстрация к книге — Отопление и водоснабжение вашего дома [i_037.jpg]

Трубный башмак:

А — гладкий; Б — фрезер.

Во время спуска обсадной трубы в скважину нижний конец ее встречает в породах твердые включения в виде галек и пропластов камня. Чтобы предохранить торец трубы от смятия этими твердыми включениями, а также чтобы обрезать трубой высунувшийся в скважину край твердой породы, на нижний конец трубы устанавливают на резьбе или сварке трубный башмак или фрезер. Режущие кромки фрезера должны быть обращены в сторону проворачивания обсадной трубы, т. е. по часовой стрелке. Концы зубьев фрезера закаливают, «чугунят» или производят на них наплавку твердого металла.


Для свинчивания отдельных звеньев обсадной трубы лучше применять деревянные хомуты, так как эти трубы сравнительно тонкостенные и могут быть смяты. Подвешивание обсадной трубы в скважине, конечно, надежнее на стальных хомутах.

При соединении звеньев обсадной трубы сваркой сначала трубу нарезают кислородным резаком на отдельные звенья по 2–3 м длиной. Линию разреза делают с мысиком, чтобы при сварке облегчить центрирование и чтобы стык не имел больших зазоров. Каждый разрез надо не забыть пометить краской. Центрирование звеньев перед сваркой можно осуществить с помощью простейшего кондуктора из двух уголков (швеллеров) или трех стальных накладок. Последние нужно приварить к штангам, что позволит дополнительно укрепить соединительный шов.

Еще одной необходимой принадлежностью обсадной трубы при ручном ударно-вращательном бурении является предохранительный патрубок. Он представляет собой отрезок той же самой обсадной трубы длиной 150–200 мм с резьбой на одном конце. Назначение патрубка — предохранить резьбу верхней муфты обсадной трубы от изнашивания о штанги. Если звенья соединяют сваркой, надобность в таком патрубке отпадает. Когда сварка отсутствует или обсадная труба не

Вход
Поиск по сайту
Ищем:
Календарь