Книга Баня, сауна. Строим своими руками, страница 20 – Иван Никитко

Авторы: А Б В Г Д Е Ж З И Й К Л М Н О П Р С Т У Ф Х Ч Ш Ы Э Ю Я
Книги: А Б В Г Д Е Ж З И Й К Л М Н О П Р С Т У Ф Х Ц Ч Ш Щ Ы Э Ю Я
Бесплатная онлайн библиотека LoveRead.ec

Онлайн книга «Баня, сауна. Строим своими руками»

📃 Cтраница 20

При подходе к междуэтажному перекрытию над шейкой кладку расширяют. Таким образом создают разделку или распушку, толщина которой считая от «дыма» — от 30 до 40 см. Ее выкладывают в несколько рядов кирпича по высоте. Выше распушки по чердачному пространству проходит стояк, то есть ровная часть трубы, доведенная до кровли.

Над кровлей выкладывают головку трубы, после чего делают вторую распушку, называемую выдрой. Она обычно нависает над кровлей на 10 см по четырем сторонам. Это мешает дождевой и снеговой воде стекать на крышу. В противном случае вода будет беспрепятственно стекать вниз, разрушая стояк и заливая чердак бани.

Поверх выдры кладут вторую головку трубы такого же сечения, как и стояк. Наконец, кладку расширяют, в результате чего получается оголовок. Чтобы защитить трубу от разрушения, над ней желательно установить колпак из кровельной стали. Он, кроме всего прочего, также улучшает тягу в печах.

Все части головки трубы, которые выступают над кровлей, покрывают кровельной сталью или цементным раствором с уклоном для стекания воды. Лучше всего оштукатурить головку цементно-известковым или цементным раствором, после чего побелить известью. В таком случае она прослужит долго, ее не придется перекладывать раз в несколько лет.

Как уже говорилось ранее, ширина каналов дымоходов бывает разной, поэтому класть распушку и выдру приходится по-разному, но в любом случае тщательно перевязывая швы. Приведем пример кладки распушки и выдры с каналами разного сечения (см. рис. 6.8, 6.9).

Иллюстрация к книге — Баня, сауна. Строим своими руками [i_062.jpg]

Рис. 6.8. Выполнение распушки кирпичной трубы

Иллюстрация к книге — Баня, сауна. Строим своими руками [i_063.jpg]

Рис. 6.9. Выполнение выдры кирпичной трубы


Допустим, мы имеем дымовой канал 14 × 26 см, толщина стенок которого составляет 26 см. Если толщина швов меньше, размеры канала могут быть уменьшены на 1 см.

Кладка распушки и выдры рассчитывается так, чтобы по длине и ширине по каждому ряду они увеличивались на четверть кирпича (на 6–7 см).

Первый ряд — шейка печи. Ее выполняют из пяти кирпичей, размеры дымового канала составят 14 × 26 см, наружные стороны — 31 × 38 см.

Второй ряд — начало распушки. Наружные размеры составят 59 × 45 см. Чтобы их получить, в кладку нужно добавить четверки и половинки кирпича. Для ограничения размеров канала внутри распушки в кладку вставляют пластинки из колотого кирпича толщиной 3–4 см. Таким образом, размер дымового канала распушки не изменяется.

Третий ряд распушки должен иметь размеры 65 × 51 см. Теперь внутрь кладки вставляют пластинки кирпича толщиной уже около 6 см.

Четвертый ряд имеет размеры 71 × 57 см. Внутри распушки нужно вставить кирпичи толщиной 9–10 см.

Пятый ряд состоит полностью из целого кирпича.

Шестой ряд кладется так же, как и пятый, со строгим соблюдением перевязки швов. Если высоту распушки нужно увеличить, пятый и шестой ряды чередуются.

С седьмого ряда начинается кладка стояка трубы в пять кирпичей, который доводят на один-два ряда выше уровня кровли. Далее на стояке возводят выдру, не забывая при этом тщательно перевязывать швы.

Кладку выдры делают в девять рядов, каждый из которых выступает на четверть кирпича вперед. Внутри нее, около дымового канала, вставляют кирпичные пластинки такой толщины, чтобы они сохраняли размеры канала постоянными.

В заключение напомню, что любые печные трубы необходимо осматривать несколько раз в год и в случае обнаружения дефектов сразу же их устранять.

Печные приборы

Теперь, когда печь практически готова, поговорим о печной «фурнитуре», или, как их называют, печных приборах. Печные приборы — это готовые металлические изделия: топочные, поддувальные и другие дверки, колосниковые решетки, колосники, дымовые задвижки, печные вьюшки, чугунные плиты, заслонки, духовые шкафы, водогрейные коробки и др. (рис. 6.10–6.12).

Иллюстрация к книге — Баня, сауна. Строим своими руками [i_064.jpg]

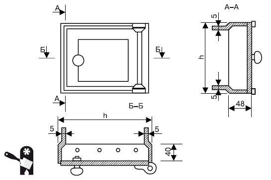
Рис. 6.10. Топочная дверка

Иллюстрация к книге — Баня, сауна. Строим своими руками [i_065.jpg]

Рис. 6.11. Печная задвижка

Иллюстрация к книге — Баня, сауна. Строим своими руками [i_066.jpg]

Рис. 6.12. Колосник


Стоит выбирать чугунные приборы, ибо они более прочные, чем стальные, не прогорают, не ржавеют, меньше коробятся от высокой температуры и долго служат. Дверки и задвижки, а также вьюшки должны хорошо закрываться. Наиболее плотно это делают герметические дверки. Дверки и ручки должны иметь плавный ход, без заедания задвижек, свободно перемещаться в пазах рамок.

Дверки и полудверки подразделяют на топочные, поддувальные, прочистные и вьюшечные. Топочные дверки служат для закрывания печи, загрузки топлива в печь и его перемешивания — шуровки при горении (см. рис. 6.10). В печах, не имеющих поддувала, их используют для регулировки подаваемого воздуха, необходимого для горения топлива. Каждая дверка состоит из рамки, к которой приделан крючок, и полотна. Его крепят на двух петлях к рамке и закрывают ручкой за крючок. Рамку любой дверки нужно прочно приделывать к кладке печи. Изготавливают такие дверки обыкновенными и герметическими.

Прочистные дверки устанавливают в стенках печи или дымовой трубы. Они предназначены для очистки их каналов от золы и сажи. Размеры дверок — 11,2 × 15 см.

Чистки-коробочки более практичны, чем дверки. Их можно изготовить из кровельной стали таким же размером, как и прочистные дверки простой конструкции. Они состоят из рамки, в которую входит коробочка с ручкой. Их легко изготовить самостоятельно. Внутреннюю часть коробочки заполняют куском кирпича на глиняном растворе. Его толщина должна быть равна толщине стенки печи или дымохода. Можно обойтись одной коробочкой без рамки, вставляя ее в отверстие кладки и обмазывая глиняным раствором.

Чтобы можно было прочно установить дверку в печной кладке, к рамкам дверок крепят лапки из полосовой стали. Не стоит фиксировать дверки проволокой: она быстро отгорает.

Металлический бак для воды чаще всего устанавливают в печь так, чтобы он своим днищем накрывал верхнюю часть топки. При таком классическом способе языки пламени нагревают воду непосредственно через его стенки. Берут горячую воду из таких емкостей или ковшиком, открыв крышку, или самотеком по вмонтированной трубе с краном.

Форма баков обычно прямоугольная, а материалом служат сваренные в жесткую конструкцию стальные листы (рис. 6.13). Его можно сварить самому в домашних условиях. При этом лучше использовать «нержавейку» (обычная сталь под воздействием воды и огня быстро ржавеет, и бак приходится заменять).

Реклама
Вход
Поиск по сайту
Ищем:
Календарь