Книга Баня, сауна. Строим своими руками, страница 23 – Иван Никитко

Авторы: А Б В Г Д Е Ж З И Й К Л М Н О П Р С Т У Ф Х Ч Ш Ы Э Ю Я
Книги: А Б В Г Д Е Ж З И Й К Л М Н О П Р С Т У Ф Х Ц Ч Ш Щ Ы Э Ю Я
Бесплатная онлайн библиотека LoveRead.ec

Онлайн книга «Баня, сауна. Строим своими руками»

📃 Cтраница 23

Дымовая труба обычно выводится на 0,4–0,6 м выше конька крыши бани, на верху трубы устанавливается защитный колпак от осадков. Нижний глухой конец дымовой трубы закрывается плотной жестяной заглушкой и используется для прочистки трубы от сажи и слива конденсата.

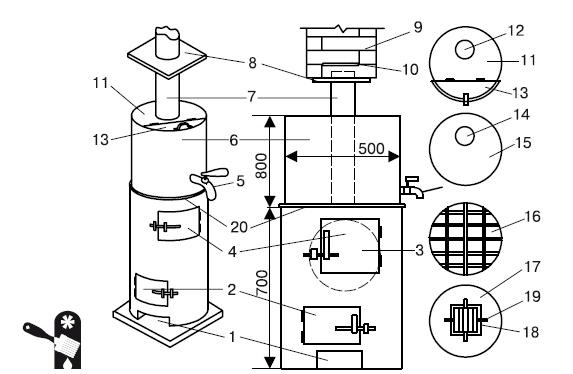
Иллюстрация к книге — Баня, сауна. Строим своими руками [i_075.jpg]

Рис. 6.21. Устройство комбинированной дымовой трубы: 1 — печь-каменка; 2 — скользящая опора; 3 — металлическая труба; 4 — асбоцементная труба; 5 — опорное кольцо; 6 — заслонка; 7 — заглушка; 8 — хомут заглушки; 9 — стойка опоры

Конструкция комбинированной дымовой трубы поддерживается скользящей опорой, расположенной на ее металлической части, то есть труба свободно лежит на опорной части, перемещаясь при тепловом расширении.

Металлическая печь из стальной трубы

Составляющие будущей печи для бани вырезают из полутораметровой трубы диаметром в полметра. Толщина металла должна быть не менее 10 мм.

Трубу необходимо разрезать на две части — 0,6 м и 0,9 м. Больший отрезок трубы предназначен для каменки и топки, а меньший будет использоваться в качестве бака для горячей воды.

Внизу трубы для каменки делают вырез для поддувала шириной 18–20 см и высотой 5–6 см. Над вырезом монтируется с помощью сварки круглая стальная пластина толщиной не менее 1,2 см. Отдельно следует вырезать часть металла для размещения печного колосника в поддувале. Для его закрепления с помощью сварки нужно зафиксировать четыре «ушка».

После этого вырезается ниша для топки. Из куска металла (остатков все той же трубы) размерами 25:30 см изготавливается дверца топки, которая подвешивается на крючках или петлях. К дверце приделывается защелка.

Над топкой приваривается отрезок трубы — будущая каменка. Ее размеры — 30–35 см. Каменка должна быть расположена так, чтобы расстояние от ее днища до верха было не менее 10 см. Заднюю стенку трубы необходимо заварить, а на наглухо приваренной к корпусу печи сделать еще небольшую дверцу размерами 25–30 см.

Каменку до половины заполняют округлыми булыжниками. Для того чтобы камни не высыпались, желательно дополнительно приварить ограждающий стальной прут. (Самодельные печи для бань, изготовленные из трубы, могут быть и иной конструкции. Например, с приваренной над топкой на высоте 35–40 см от колосника решеткой из стальных прутков, на которой и расположены камни.)

Далее в верхней части печи нужно закрепить муфту из стальной шины толщиной 5 мм и шириной не менее 50 мм. Выступающая над печью часть муфты предназначена для монтажа бака.

После устанавливают бак для горячей воды. Для этого к его торцевой части снизу закрепляется с помощью сварки стальной круг толщиной не менее 8 мм. В круге нужно вырезать смещенное к задней стенке бака отверстия для дымовой трубы диаметром 12–15 см. Нижняя сторона дымовой трубы наглухо фиксируется сваркой к самому днищу бака, чтобы исключить возможность протечки воды из бака в топку печи.

Верхнюю часть бака закрывают стальным полукругом с заранее проделанным в нем отверстием для дымовой трубы, которую позже приваривают наглухо к этому отверстию. Таким образом, верхняя часть бака остается открытой для залива воды, а для закрытия горловины изготавливается крышка с ручкой (рис. 6.22).

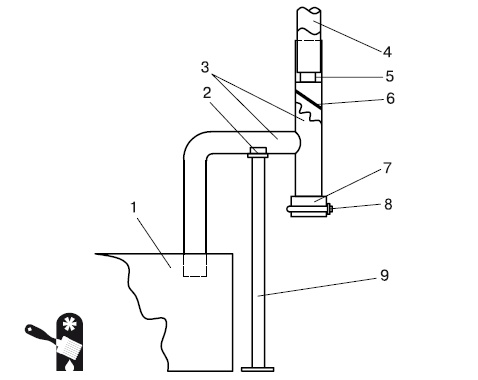
Иллюстрация к книге — Баня, сауна. Строим своими руками [i_076.jpg]

Рис. 6.22. Устройство металлической печи из стальной трубы: 1 — поддувало; 2 — топка; 3 — каменка; 4 — дверца; 5 — кран (желательно пробковый); 6 — бак для горячей воды; 7 — дымовая труба; 8 — площадка для кирпичной трубы; 9 — кирпичная труба; 10 — задвижка; 11 — верх бака; 12 — окно для прохода дымовой трубы; 13 — крышка с ручкой; 14 — окно для трубы; 15 — днище бака; 16 — решетка из прутов арматуры; 17 — стальная пластина; 18 — колосник; 19 — ушки; 20 — кольцо (муфта) из стальной шины


На дымовой трубе на высоте 35 см от бака нужно приварить стальную площадку 30:30 см. Она предназначена для монтажа кирпичной трубы с вьюшкой. Внизу бака, как раз напротив отверстия для залива воды, нужно приварить кран с вентилем.

Готовую печь, установленную на фундаменте, можно обложить кирпичом.

Глава 7
Внутреннее обустройство парилки и других помещений

Идеальный план внутреннего устройства бани выглядит примерно так: с торца строения располагается входная дверь, в центре, со смещением в сторону на полметра, сложена печь, ее топочная дверца выведена в предбанник. Логично возвести основную перегородку, которая будет отделять предбанник от собственно бани, заподлицо с печным порталом. Дверь, ведущую в моечный отсек, можно устроить посередине между печью и правой стеной всего строения.

Понятно, что моечный отсек лучше разделить на два функциональных помещения: мойку и парилку. Следовательно, имеет смысл протянуть перегородку вдоль печи, оставив проем под дверь в ее середине. Таким образом посредством одной печи можно отапливать три помещения: предбанник, моечный отсек и парилку. Это минимум функциональных помещений, предусмотренных в любой бане. Размещение полков в парилке, как правило, тоже традиционное: вдоль стен сруба. Однако возможны различные варианты расположения банной «начинки».

Что главное в бане: «легкий» пар или визуальная эстетика банного культа? Разумеется, первое важнее, однако и второе нельзя отодвигать на задний план. Следовательно, во всем, что касается внутреннего оформления бани, мелочей нет. Все они направлены на то, чтобы получить в первую очередь возможность достижения в парной очень высокой температуры. А для этого у вас должны быть не только правильно подобраны породы дерева, не только разумно устроены вентиляция и циркуляция воздуха, но и продуман максимальный комфорт, который поможет организму пережить «паровой шок» с удовольствием, без отрицательных последствий для внутренних органов в результате полученной ими нагрузки.

Хорошо ли устроена баня, становится понятно сразу, едва человек в нее вошел. Если она уже протоплена до высокой температуры, вы испытаете очень приятное ощущение, едва только втянете в себя горячий воздух. Но когда технология строительства не соблюдена, уже спустя пять минут вы ощутите подташнивание, учащенное сердцебиение и, скорее всего, вам захочется отказаться от идеи попариться.

Сколько бы помещений вы ни запланировали сделать в бане, обязательно, чтобы в каждом были низкая притолока и высокий порог. Тогда не будет улетучиваться тепло. Рекомендуемая высота порога — 20–25 см.

Итак, даже в самой простой бане есть раздевалка, парилка и моечный отсек. Конечно, существует вариант попроще, когда парилка и моечный отсек совмещены (из соображений экономии), а их разделение осуществляется лишь за счет зонирования. Но не всегда уместно так поступать. Естественно, чем больший объем всей бани в целом, тем большие издержки понадобятся для обогрева всех ее отсеков. Однако лучше экономить не на планировке, а именно на площадях, делая все помещения компактными, но все-таки автономными.

Реклама
Вход
Поиск по сайту
Ищем:
Календарь