Книга Баня, сауна. Строим своими руками, страница 18 – Иван Никитко

Авторы: А Б В Г Д Е Ж З И Й К Л М Н О П Р С Т У Ф Х Ч Ш Ы Э Ю Я
Книги: А Б В Г Д Е Ж З И Й К Л М Н О П Р С Т У Ф Х Ц Ч Ш Щ Ы Э Ю Я
Бесплатная онлайн библиотека LoveRead.ec

Онлайн книга «Баня, сауна. Строим своими руками»

📃 Cтраница 18
Иллюстрация к книге — Баня, сауна. Строим своими руками [i_058.jpg]

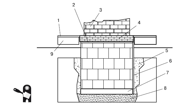
Рис. 6.4. Капитальный фундамент для тяжелой печи: 1 — доски пола; 2 — горизонтальная гидроизоляция (два слоя рубероида); 3 — печь; 4 — кирпич керамический полнотелый (два ряда); 5 — песчаная засыпка; 6 — обмазочная вертикальная гидроизоляция; 7 — ж/б плита; 8 — утрамбованный гранитный щебень; 9 — лаги пола

Иллюстрация к книге — Баня, сауна. Строим своими руками [i_059.jpg]

Рис. 6.5. Фундамент на сваях: 1 — печь; 2 — уровень пола, гидроизоляция; 3 — плита; 4 — сваи; 5 — грунт

Готовим материалы для постройки печи

При выборе материала для сооружения печи нужно учитывать их взаимную сочетаемость. Например, при облицовке топливников и каналов никогда не перевязывают керамический кирпич с огнеупорным, потому что при одинаковом нагреве эти материалы дают разное расширение, и в местах перевязки будут быстро разрушаться. Еще одно обязательное условие: там, где кладка сильно нагревается, внутри нее нельзя применять металл, так как от высокой температуры он сильно расширяется и может просто ее разорвать.

Для кладки используют естественные и искусственные каменные материалы. К первым принадлежат булыжники и бутовый камень для устройства фундаментов под печи, ко вторым — кирпич.

Один кубический метр кирпича весит около 1700 кг и содержит 480 шт. При укладке на растворе необходимое количество кирпича меняется: при тонких швах его уходит меньше, при толстых расход больше. Например, если вы вычислили, что на ваш проект печи уйдет, скажем, 2 м3 кирпича, то запастись им следует не из расчета 960 шт., а прикупить до тысячи.

Перед началом кладки печи кирпич предварительно отбирают и сортируют. Лучший по качеству, без сколов и трещин применяют для кладки топливников и дымовых каналов.

Можно использовать и кирпич от разобранных печей. Глиняный раствор, применяемый для кладки банных печей, отстает от кирпича не так трудно, как цементный. Такой кирпич полностью очищают от раствора и сортируют. Применяют его в основном для кладки фундаментов и труб.

Техника печной кладки

Теперь — о процессе кладки. Честно говоря, не увидев воочию, как это делает опытный специалист, самостоятельно за столь непростое дело браться несколько опрометчиво. Тем не менее некоторые теоретические знания вам не повредят.

Прочность кладки зависит от того, как уложен кирпич, высоко ли его качество, как он будет намочен и как приготовлен раствор.

Если при кладке вы добьетесь того, что у вас получится единый, общий массив, как бы монолит, то качество получится высоким. Но если она будет разделена сплошными вертикальными швами, то такая печь просто развалится. О трещинах тоже не может идти и речи. Стенки печи ни в коем случае не должны пропускать дым в помещение. Иначе получится баня «по-черному».

Перед началом работы кирпичи раскладывают по каждому ряду кладки, раскалывают, отесывают и подгоняют так, чтобы они в точности легли на место.

Затем кирпичи замачивают в корыте длиной, равной количеству кирпичей в ряду. Для этого кирпичи снимают, укладывают в ряд, вымачивают по одному или все сразу и кладут на глиняном растворе на место. Раствор замешивать следует, исходя из соотношения песка и глины 1:1. Он должен получиться такой консистенции, чтобы излишки свободно выдавливались из швов.

Большинство печников наносят раствор во время кладки рукой. Кельму используют только при создании стен с наружной стороны.

Вот один из способов кладки из вымоченного кирпича. Забираем рукой горсть глиняного раствора, вынимаем кирпич из воды, тонким слоем расстилаем по нему раствор и укладываем его на место. После этого, сильно нажимая, немного двигаем кирпич назад и вперед. Снимаем с двух сторон кирпича излишки раствора. Вынимаем из воды следующий, намазываем раствор на плоскость и тычковую грань. Укладываем кирпич на место, придавливаем его к нижнему и к тычковой грани уже уложенного, снимаем излишки раствора. Остальные кладем в таком же порядке.

Смоченный в воде кирпич быстрее впитывает влагу из быстро густеющего раствора. Поэтому его приходится силой выжимать из швов, которые все равно получаются довольно толстыми. Такую работу лучше вести вдвоем. Печник с помощью тряпки или кисти смачивает часть кладки. Его помощник окунает кирпич в воду, быстро намазывает на него раствор и укладывает на подготовленное место. В результате кирпич не успевает впитать влагу из раствора и шов получается более тонким.

Разные способы есть и для выполнения швов в печной кладке. Если вы собираетесь штукатурить печь, швы можно сделать впустошовку, то есть не заполнять их раствором на глубину 0,5–1 см. Тогда штукатурка затекает в швы и лучше сцепляется с поверхностью.

Как уже говорилось, раствор нужно делать с таким расчетом, чтобы во время кладки излишки можно было легко выдавить из швов.

После того как насухо заложен первый ряд печи, ее форму и размеры нужно проверить прави́лом, угольником, метром или шнуром, который натягивают по углам кладки. Только после этого кирпич кладут на раствор, соблюдая перевязку швов. Каждый ряд во избежание перекоса необходимо проверять по горизонтали прави́лом с уровнем, по вертикали — отвесом, на прямоугольность — угольником или шнуром по диагоналям. Выявленные вовремя неточности можно исправить. Понятно, что частые проверки занимают много времени, поэтому при работе применяются направляющие стойки, которые устанавливают строго вертикально.

При кладке из обыкновенного (красного) кирпича толщина швов должна быть не более 0,5 см; из огнеупорного — не более 0,3 см.

После того как вы убедились в хорошем качестве кирпича и определили по второму ряду кладки его толщину, параметры нужно перенести на стойки. К примеру, толщина швов составит 0,5 см, толщина кирпича — 6,5 см. Значит, толщина ряда кладки должна быть 7 см. Это расстояние наносят на стойки с помощью неглубоких пропилов на одном уровне. Если вести кладку по этим отметкам, отпадает необходимость проверять ее для каждого ряда.

Топливники, каналы, горнило, трубы, то есть внутренние поверхности печей, должны быть ровными и чистыми, без выступов и шероховатостей.

По вертикали в кладке печи отклонения допускаются не более 1 см на всю высоту, на лицевых сторонах печи неровности могут быть не более 0,5 см, а при облицовке изразцами — 0,2 см.

Швы кладки необходимо перевязывать. Наилучшим вариантом является, когда кирпич своей серединой ложится на шов. Удовлетворительной считается кладка, при которой перевязка делается от половины до четверти кирпича, перевязку менее четвертой части допускать не следует. Если же в нескольких местах ее избежать не удается, все нужно перевязать целым кирпичом. Такие печи могут простоять десятки лет.

Стенку толщиной в один кирпич кладут поочередно из тычковых и ложковых рядов. Тычковые ряды должны быть уложены поперек стенки, а ложковые — вдоль. Для перевязки нужно использовать трехчетверку. Перегородки, образующие дымовые каналы внутри печи, кладут так, чтобы кирпичи свободно примыкали друг к другу. Перевязывают кирпич через два-три ряда в замок с наружными стенками. В некоторых случаях можно просто выпустить его тычковой гранью на лицевую сторону печи.

Реклама
Вход
Поиск по сайту
Ищем:
Календарь