Книга Как обустроить мансарду своими руками, страница 4 – Кирилл Балашов

Авторы: А Б В Г Д Е Ж З И Й К Л М Н О П Р С Т У Ф Х Ч Ш Ы Э Ю Я
Книги: А Б В Г Д Е Ж З И Й К Л М Н О П Р С Т У Ф Х Ц Ч Ш Щ Ы Э Ю Я
Бесплатная онлайн библиотека LoveRead.ec

Онлайн книга «Как обустроить мансарду своими руками»

📃 Cтраница 4

При сборке данной конструкции пазы, расположенные в стропильной ноге, изготавливают так, чтобы они были сопряжены с гребнем стены, после чего стропила временно закрепляют в конструкции при помощи подпорок. Когда процесс монтажа стропильной фермы завершен, в конструкции закрепляют коньковый брус и брус по осям затяжек. Между ними дополнительно устанавливают ветровые связи. После этого стропильные ноги крепят к брусьям стены с помощью металлического уголка. В нижней части уголок закрепляют в двух верхних рядах брусчатой стены. Стропила, призванные переносить с кровли нагрузку на несущие стены, следует устанавливать с шагом от 60 см до 1 м – данное расстояние зависит не только от выбранного кровельного материала, но и от уклона крыши.

Иллюстрация к книге — Как обустроить мансарду своими руками [r3.jpg]

Рисунок 3. Конструкция стропил в доме, выполненном из брусьев: 1 – стропильная нога, 2 и 4 – продольные брусья, 3 – подкосы, 5 – затяжка, 6 – перекрытие, 7 – стеновой брус, 8 – крепления (гвозди или саморезы), 9 – стальной уголок; а, б) узлы сопряжений

Утепление внешнее

Внешнее утепление крыши представляет собой специальную систему, где непосредственно под кровлей размещают материалы, способные обеспечить тепло-, паро-, гидроизоляцию и вентиляцию не только самой кровли, но и подкровельного помещения, чердака или мансарды.

Поддерживается данная система, как уже было сказано выше, системой из стропил, обрешетки, к которым крепится кровля. Именно через крышу дом теряет максимально возможное количество тепла – около половины теплопотери идет именно через нее. Если чердак не обустроен, то делать утепление придется не всегда. Дело в том, что данное помещение регулярно проветривается, температура, влажность и иные показатели равны атмосферным. Если же эти цифры и отличаются, то разницей между ними можно пренебречь. Если сооружение мансарды не предусмотрено, то в этом случае основное внимание уделяют утеплению чердачного помещения.

Когда в доме планируется мансарда или же плоская крыша, а чердак отсутствует, то крышу придется дополнительно утеплять, чтобы не допустить лишних потерь теплоэнергии.

При прокладке теплоизоляционного слоя, находящегося непосредственно под кровлей, температура и влажность воздуха в подчердачном помещении и на открытом воздухе начинают серьезно отличаться. В этом случае влага с теплым воздухом поднимается вверх и соприкасается с поверхностью крыши, которая значительно холоднее. Из-за этого на ней образовывается конденсат. Кроме того, влага к элементам крыши может попадать тогда, когда слой пароизоляции был уложен под слой кровли не слишком аккуратно. Причинами образования конденсата могут также стать недостаточное перекрывание пароизоляции, не слишком плотное соединение слоя материала со стенами и трубами, неаккуратные разрывы и ряд других обстоятельств.

В связи с этим при создании утепленной крыши в первую очередь необходимо заняться разработкой надежной пароизоляции со стороны внутреннего помещения. Со стороны кровли слой утеплителя дополнительно защищают от влаги гидроизоляционными материалами, которые крепят непосредственно к стропилам в процессе строительства крыши или же соединяют со специальным настилом.

Утеплить крышу можно с помощью пенопласта. Его плюсы: низкие теплопроводность, стоимость и водопоглощение, высокая прочность, экологичность, строгие размеры, он «дышит», приглушает звуки, легко перемещается и монтируется. Главный минус: из-за жесткости не заполняет все пространство, оставляя мостики холода.

Подобная двусторонняя защита крыши весьма надежна, однако в некоторых случаях даже этого бывает недостаточно. Поэтому дополнительно создают условия для быстрого отвода влаги, проникающей к утеплителю по случайности. Для этого требуется циркуляция воздуха непосредственно в полостях, где расположен утеплитель. В этом случае одна полость находится между кровлей и гидроизоляционным слоем, расположенным сразу под ней, а другая – между гидроизоляцией и теплоизоляцией.

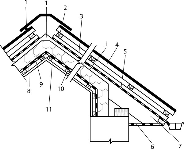
Чтобы наружный воздух свободно подходил к этим полостям и мог спокойно уйти без привлечения дополнительного оборудования, в свесе крыши, а также в верхней части кровли изготавливают специальные продухи. А чтобы воздух мог хорошо циркулировать в упомянутых выше помещениях, между кровлей и гидроизоляцией вдоль стропил располагают рейки так называемой контробрешетки. При этом их толщина и будет формировать воздушную полость. Сюда воздух проникает через боковые свесы крыши со специальными отверстиями (рис. 4).

Иллюстрация к книге — Как обустроить мансарду своими руками [r4.jpg]

Рисунок 4. Схема конструкции вентилируемой кровли мансарды: 1 – вентиляционный зазор, 2 – обрешетка, 3 – рейки 3 × 5 см по стропилам, 4 – кровельное покрытие, 5 – ветровлагозащитный слой (кровельный), 6 – отверстия для вентиляции кровли, 7 – стропильная нога, 8 – пароизоляция, 9 – утеплитель, 10 – рейка 3 × 5 см, 11 – внутренняя обшивка


Сегодня для теплоизоляции крыши чаще всего используют минерально-волокнистые маты, а также пенополистирольные и пенополиуретановые плиты, теплопроводность которых практически равна нулю. Если же чердачное помещение вообще отсутствует, то вполне подойдут материалы типа пенополистирола ПСБ-С или минеральной ваты, однако первый тип теплоизолятора имеет гораздо меньший вес.

Если крыша построена по бесчердачному принципу, но при этом ей отводится роль террасы, следовательно, на нее будет приходиться дополнительная нагрузка, то в этом случае гораздо лучше подойдет теплоизоляционный материал более высокой твердости. Это пенополистирол с плотностью минимум 20 кг/м3 или же минеральная вата. Но самым подходящим будет экструдированный пенополистирол. Его показатели водонепроницаемости одни из наиболее высоких по сравнению с теми материалами, которые имеются на рынке.

Стоит отметить, что толщина утепления должна составлять как минимум 15 см. Теплоизоляцию делают в 2 слоя, укладывая их под прямым углом друг к другу. Это необходимо для того, чтобы не допустить возникновения мостиков холода. Данный эффект может образоваться в случае, если использовались стекловолокнистые материалы с невысоким показателем плотности.

Если крыша скатная, то теплоизоляционные материалы не должны быть слишком высокой прочности. Однако очень важно, чтобы выбранный материал не давал усадку и не проседал под весом. Пенополистирол не всегда можно использовать для создания дополнительного слоя утепления скатных крыш. Дело в том, что данный материал огнеопасный, поэтому он требует проведения мероприятий, направленных на создание противопожарного слоя. Например, можно пропитать их антипиреном, сделать огнезащитный слой.

В качестве теплоизолятора подойдут гидрофобизированые плиты из базальтовых горных пород, которые снаружи отделаны фольгой или стеклохолстом. При их покупке следует попросить продавца представить на них специальные гигиенические сертификаты.

Вход
Поиск по сайту
Ищем:
Календарь