Книга Как обустроить мансарду своими руками, страница 43 – Кирилл Балашов

Авторы: А Б В Г Д Е Ж З И Й К Л М Н О П Р С Т У Ф Х Ч Ш Ы Э Ю Я
Книги: А Б В Г Д Е Ж З И Й К Л М Н О П Р С Т У Ф Х Ц Ч Ш Щ Ы Э Ю Я
Бесплатная онлайн библиотека LoveRead.ec

Онлайн книга «Как обустроить мансарду своими руками»

📃 Cтраница 43
Ограждения

Важнейшим конструктивным элементом лестниц являются перила. Они должны быть безопасными в эксплуатации и при этом эстетически привлекательными. Если какие-то возможные минусы во внешнем виде ступенек можно прикрыть, например, ковром, то с неказистым ограждением ничего не поделать, а ведь он него во многом зависит, насколько красивой будет лестница.

При самостоятельном изготовлении перил следует иметь в виду, что некоторая часть предварительно заготовленных деталей обязательно окажется не совсем подходящей для внедрения в конструкцию и будет отсеяна. Специалисты утверждают, что таких деталей обычно около 10 %. Объясняется это неизбежными ошибками в процессе изготовления. Поэтому рекомендуется заготовить больше деталей, чем требуется.

Материалы для ограждений используют разнообразные: металл, дерево, стекло, камень, различные гибридные варианты. Перила с балясинами называются балюстрадами.

Балясины представляют собой фигурные столбики – вертикальные опоры, стоящие по всей лестнице на некотором расстоянии друг от друга (как правило, не более 15 см). Если диаметр этих столбиков менее 5 см, то в целях безопасности для детей устанавливают по две промежуточные балясины на ступень. Балясины можно сделать очень изящными, что украсит лестницу.

Что касается технических характеристик, то ограждение не должно сломаться, даже если на него облокотится стокилограммовый человек. Если длина ступенек превышает 1 м, около стены целесообразно тоже закрепить ограждение. Высотой перила рекомендуется делать по меньшей мере 90 см. На лестнице длиной свыше 6 м высота ограждения должна быть не менее 1,1 м. Без поручня длина столбиков составляет 100–130 см, сечение – от 7 × 7 до 12 × 12 см. Стандартная форма балясин предполагает токарную обработку посередине столба (сужение) и шар на вершине.

Сечение опорных столбов должно соответствовать ширине поручня в месте их сопряжения, тогда как промежуточные столбы обычно имеют меньшее сечение и вставляются в продольный паз снизу поручня. Хотя на промежуточные столбики нагрузки почти нет, их все равно следует жестко крепить.

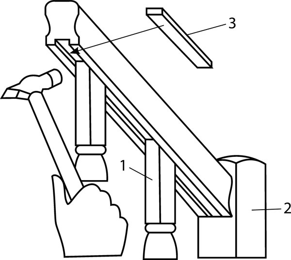
В пазу между двумя балясинами размещают планку, тщательно прикрепленную к поручню с помощью клея, гвоздей (рис. 35).

Иллюстрация к книге — Как обустроить мансарду своими руками [r35.jpg]

Рисунок 35. Крепление планки к поручню: 1 – промежуточная балясина, 2 – опорная балясина, 3 – планка


Снизу ограждения балясину крепят к ступеньке метизом, а к полу или тетивам – вставлением в паз подперилка (такому же элементу, как поручень, но с противоположной стороны). Их размеры совпадают. Планка также используется. Высота промежуточных балясин 80–90 см, а толщина 40–80 см (рис. 36).

Иллюстрация к книге — Как обустроить мансарду своими руками [r36.jpg]

Рисунок 36. Крепление планки к подперилку: 1 – промежуточная балясина, 2 – подперилок, 3 – планка


Подперилок делают, когда балясина устанавливается не на ступень. Кроме того, с его помощью реализуют расширение, если балясина толще тетивы (косоура). Делают его в балюстрадах. Общая последовательность работ: прикрепляют подперилок, потом в его пазы вставляют балясины, на которые сверху пазом вставляют поручни.


Вход
Поиск по сайту
Ищем:
Календарь