Книга Как обустроить мансарду своими руками, страница 29 – Кирилл Балашов

Авторы: А Б В Г Д Е Ж З И Й К Л М Н О П Р С Т У Ф Х Ч Ш Ы Э Ю Я
Книги: А Б В Г Д Е Ж З И Й К Л М Н О П Р С Т У Ф Х Ц Ч Ш Щ Ы Э Ю Я
Бесплатная онлайн библиотека LoveRead.ec

Онлайн книга «Как обустроить мансарду своими руками»

📃 Cтраница 29

Сама по себе мембрана довольно прочная, и повредить ее вряд ли удастся. В связи с тем, что ее толщина незначительна, такой стеклопакет можно считать однокамерным. При использовании стеклопакета с мембраной не будет возникать мостик холода, который образуется при установке второй стеклянной камеры.

Еще одним положительным свойством мембран является возможность дополнительно ограничить ультрафиолетовое излучение, проникающее сквозь стекла в дом. Это позволяет избежать выгорания мебели, паркета, линолеума или штор.

Во всех энергосберегающих конструкциях окон применяется тройная технология уплотнения. Помимо уплотнителя, при изготовлении оконной коробки устанавливают еще несколько уплотнителей в створке – основной и дополнительный. Благодаря им стык оконной коробки со створкой хорошо закрыт, через него не попадают в помещение влага и холодный воздух. Дополнительный уплотнитель позволяет защищать комнату от проникновения холода даже в случае, когда основной уже вышел из строя или получил серьезные повреждения. Все уплотнители в профиле размещены в специальных канавках. Это помогает увеличить срок их службы и повысить показатели герметичности всей конструкции.

При такой высокой герметичности воздух в комнате становится влажным и насыщенным вредными соединениями. В связи с этим возникает вопрос о вентиляционной системе.

По мнению специалистов, герметичность нормальная в том случае, если через 1 м2 проема в течение одного часа проходит не больше 10 кг воздуха.

Для недопущения запотевания стекол, а также для создания наиболее комфортных условий непосредственно в помещении температура на внутренней поверхности стекла должна быть выше наружной приблизительно на 9 °C. В связи с этим в течение всего периода эксплуатации поливинилхлоридных оконных профилей комнату придется регулярно проветривать и следить за тем, чтобы теплый воздух регулярно поступал к окну. Это требуется для того, чтобы на стеклах не возникал конденсат.

В таких окнах могут находиться специальные прокладки, которые будут создавать небольшую щель для проникновения свежего воздуха. Крупные производители оконных профилей предлагают клиентам системы, имеющие в своей конструкции вентиляционные устройства. Среди них есть автоматические системы, в которых при сильном или порывистом ветре микропроветриватель сам будет закрывать подачу воздуха снаружи. Разместить подобное устройство в оконном профиле можно не только при производстве окна в цеховых условиях, но даже после его установки на место.

Если же возможности установить приточный клапан нет, то слишком большой герметичности помещения можно избежать с помощью подходящего кондиционера, установления и отрегулирования системы вентиляции и отопления.

В мансарде может быть столько окон, сколько хочется хозяевам, но ее общая застекленность должна относиться к площади пола как 1: 8. Для достижения наибольшей освещенности помещения окна размещают в непосредственной близости друг от друга (друг над другом).

При ремонтных и утеплительных работах в старой мансарде далеко не всегда меняют старые окна и устанавливают новые. И зачастую это правильное решение. Предварительно следует взвесить все за и против. На первом этапе между стеной и оконной коробкой проверяют качество швов. Для того чтобы обеспечить наиболее качественный уровень тепло-, паро– и звукоизоляции, данный стык тщательно изолируют и защищают его от проникновения влаги. Если есть небольшие щели, то их заделывают герметиком, предварительно убрав отставший слой шпатлевки.

Если шов довольно широкий, то придется прибегнуть к более решительным мерам, которые позволят утеплить всю конструкцию. Технология изготовления монтажного шва предполагает сооружение трех слоев уплотнения. Наружный слой нужен для гидроизоляции утеплителя, а также для защиты конструкции от неблагоприятных атмосферных воздействий. Внутренний слой в этом случае предназначен для пароизоляции слоя утеплителя (рис. 26).

Иллюстрация к книге — Как обустроить мансарду своими руками [r26.jpg]

Рисунок 26. Заделка и изоляция стыков между окном и стеной: а) окно с четвертью, б) окно без четверти; 1 – стена, 2 – наружное водонепроницаемое уплотнение, 3 – нижний брус оконной коробки, 4 – вертикальный брус оконной коробки, 5 – тепло– и звукоизоляция, 6 – внутреннее уплотнение (пароизоляция), 7 – четверть


Установка такой системы позволяет не допустить промерзания шва, проникновения влаги в районе откосов и их растрескивания. Средств для уплотнения существует множество. Главный принцип здесь – внутри должно быть более плотно, нежели снаружи. Изнутри шов покрывают пароизоляционными материалами повышенной плотности. Стык заполняют пористыми утеплителями, а снаружи помещают плотный материал, хорошо пропускающий пар, но при этом обладающий звукоизоляционными характеристиками. Благодаря такому конструктивному решению материал обеспечивает вентиляцию стыка.

Очень важно, чтобы шов был эластичен и не препятствовал подвижкам коробки из-за температурных деформаций и осадки строения. В качестве пароизоляции можно использовать разного рода эластичные материалы, например, силиконовые герметики, пенополиуретановые или пенополиэтиленовые шнуры. Помимо них, допустимо применять пароизоляционные, сжатые в заводских условиях ленты, армированную фольгу и пр. Последний материал также применяют для увеличения показателей теплоизоляции, которая получается за счет того, что тепловое излучение будет отражаться внутрь помещения. Пароизоляционные материалы укладывают по всему периметру оконного проема. Звуко– и теплоизоляционный слой изготавливают из минеральной или стеклянной ваты, монтажной пены или синтетического уплотнителя. Для наружного слоя шва следует брать эластичные герметизирующие материалы, среди которых нетвердеющие мастики или акриловые герметики.

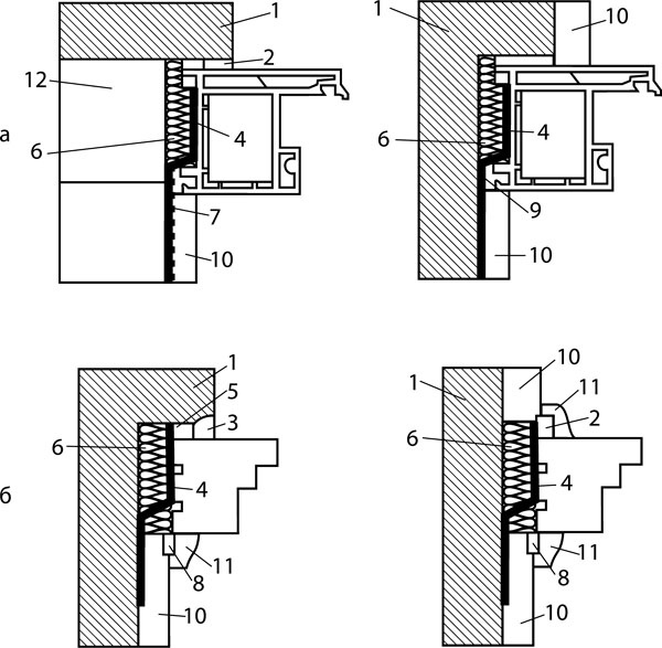
Однако необходимо помнить, что акриловые герметики не в состоянии в течение долгого времени сопротивляться воздействию влаги и атмосферных осадков, поэтому их надо закрывать деревянными нащельниками или пластиковыми профильными конструкциями. Как правильно изготовить узел примыкания коробки к стене, показано на рисунке 27.

Иллюстрация к книге — Как обустроить мансарду своими руками [r27.jpg]

Рисунок 27. Заделывание оконных стыков при помощи различных строительных и отделочных материалов: а) окна из поливинилхлоридных материалов, б) деревянные окна; 1 – стена (как с четвертью, так и без нее), 2 – наружное уплотнение из пенополиуретановой ленты, 3 – наружное уплотнение силиконом, 4 – монтажная анкерная пластина, 5 – дистанционный шнур, 6 – теплозвукоизоляция (минеральная вата), 7 – внутреннее уплотнение из пароизоляционной ленты, 8 – внутреннее уплотнение из пенополиуретановой ленты, 9 – внутреннее уплотнение силиконом, 10 – штукатурка, 11 – маскирующая планка, 12 – утепление стены


Образование щелей под окном между подоконником и вертикальными брусками также недопустимо. Через них будет проходить влага, стены начнут намокать (если они из древесины, то возможно развитие гнилостных процессов), не исключено возникновение грибковых образований. На первом этапе щели тщательно очищают от скопившихся там грязи и пыли. Затем их просушивают, покрывают двумя слоями олифы или другого антисептика, замазывают шпатлевкой, специальной замазкой или герметичными материалами. После этого финишную поверхность просушивают и покрывают двумя слоями масляной краски.

Вход
Поиск по сайту
Ищем:
Календарь