Книга Отопление и водоснабжение вашего дома, страница 51 – Владимир Жабцев

Авторы: А Б В Г Д Е Ж З И Й К Л М Н О П Р С Т У Ф Х Ч Ш Ы Э Ю Я
Книги: А Б В Г Д Е Ж З И Й К Л М Н О П Р С Т У Ф Х Ц Ч Ш Щ Ы Э Ю Я
Бесплатная онлайн библиотека LoveRead.ec

Онлайн книга «Отопление и водоснабжение вашего дома»

📃 Cтраница 51

Назначение чеканки то же, что и у конопатки, но длиной она 190 мм, а шириной 20 мм. Чеканка позволяет проникнуть в труднодоступные места и, кроме того, ею удобнее пользоваться при окончательной стадии процесса уплотнения стыков. Как и конопатку, чеканку можно изготовить самому.

Советы мастера-сантехника

В доме постоянно возникают работы по поддержанию систем водоснабжения и канализации в надлежащем порядке. Это и установка сместителей (и их ремонт), и неисправности душа, и протечки в сливных бачках, и многое другое. Дадим рекомендации по устранению лишь некоторых неполадок.

Как установить смеситель с переключателем «душ — слив»

При ремонте смесителей следует учитывать, что все они выполняются с декоративным покрытием, поэтому, чтобы не повредить это покрытие, губки применяемого инструмента не должны иметь зубцов, под губки же с зубцами следует при работе подложить картонные, медные или латунные полоски. В настоящее время наибольшее распространение получили смесители пробкового типа, являющиеся общими для ванн и умывальников. Соединяются такие смесители с подводящими трубами при помощи втулок и накидных гаек. Трудно, да и, пожалуй, невозможно требовать, чтобы расстояние между подводящими трубами точно соответствовало расстоянию между патрубками смесителя.

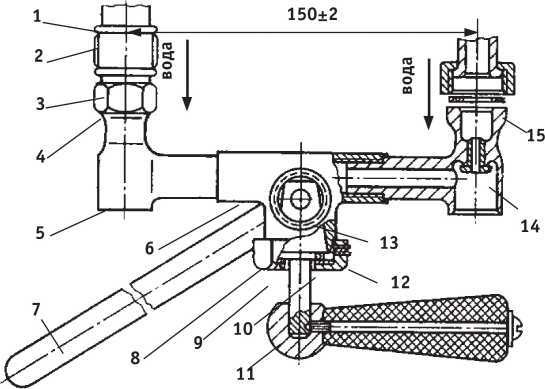
Иллюстрация к книге — Отопление и водоснабжение вашего дома [i_123.jpg]

Смеситель с пробковым переключателем:

1 — подводящая труба; 2— муфта; 3— втулка; 4— накидная гайка; 5— боковина; 6— корпус; 7— извив; 8— накидная гайка; 9— шайба латунная; 10— ограничитель; 11— остов; 12— стопорный винт; 13 — конус подвижной (конусная пробка); 14— втулка ремонтная; 15— прокладка.


Поэтому втулки, необходимые для подсоединения смесителей, несколько изогнуты (один конец втулки смещен относительно оси), что позволяет регулировать межцентровое расстояние между втулками, поворачивая последние. Помните, что смесители обычно поступают в продажу в комплекте с двумя втулками и двумя накидными гайками и менять старую втулку на новую можно только тогда, когда они одинаковой длины. Если длины разные — придется менять и вторую втулку. Перед вкручиванием втулки возьмитесь пальцами левой руки за ее буртик и, оставив обнаженными две начальные нитки резьбы, на остальные с избытком намотайте уплотнение (нити льна) по часовой стрелке, если смотреть со стороны торца с резьбой. Вкручивать втулку (делают это, поместив в ее прямоугольное отверстие какую-либо пластинку) следует до тех пор, пока ее торец не дойдет до плоскости, в которой находится торец второй втулки, на 2–3 мм. Теперь примерим смеситель к обеим втулкам. При расстоянии между центрами отверстий втулок большем, чем расстояние между отверстиями боковин смесителя, торцы втулок окажутся в одной плоскости при доворачивании одной из втулок. Накидные гайки должны свободно накручиваться на резьбу боковин. Вообще снятие и установка смесителя без замены накидных гаек и втулок занимает всего 2–3 мин.

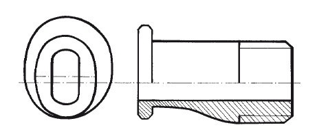
Иллюстрация к книге — Отопление и водоснабжение вашего дома [i_124.jpg]

«Отогнутая» втулка для соединения смесителя с подводящими трубами.


После окончательной установки втулок сточите напильником с их торцов заусенцы, которые могут прорезать прокладки. При подсыхании и растрескивании старых прокладок их следует заменить на новые. Для этого лучше взять листовую резину средней твердости толщиной 3–5 мм. Более толстая прокладка лучше скрадывает неточности подгонки торцов втулок и боковин. Максимальная толщина прокладки ограничивается числом ниток резьбы у накидной гайки. Ведь на гайке всегда должно оставаться не менее двух ниток резьбы для первоначального «захвата» резьбы боковины. Новые прокладки для накидных гаек смесителя требуются очень редко, поэтому делать для них специальные стальные просечки нет смысла. Проще по старой прокладке или по размерам накидной гайки методом «деления хлеба на ломтики» нарезать наружную окружность (многоугольник). Отверстие легко пробить отверткой с металлической рукояткой или узкой стамеской на деревянной доске. Сделав прокладку, вложите ее в накидную гайку и подсоединяйте смеситель. Для проверки герметичности соединения открывайте вентиль. При подкапывании перекройте вентиль и подтяните накидную гайку.

Если не держит седло

Современные смесители обычно делаются составными, что намного облегчает их ремонт. Так, боковины смесителя на краске ввертываются в отверстия корпуса, и их можно менять при порче седел — наиболее часто выходящих из строя деталей смесителя. Ведь при «проедании» седел водой, когда в них возникает радиальная канавка, даже спецы-сантехники единственный выход видят в замене смесителя или его боковины. Поэтому не допускайте длительного подтекания воды из излива смесителя.

Из-за чего возникает канавка в седле? Основная причина — длительная течь из-за неплотно закрытой вентильной головки (головки крана) или из-за повреждения резиновой прокладки клапана.

Конечно, течь из излива — не всегда признак разрушения седла, ведь вода подтекает и при повреждении прокладки клапана. Для выяснения причины течи поступим так, как обычно поступают в подобных случаях. Сначала перекроем вентиль, стоящий перед смесителем (по температуре капающей из излива воды легко определить, какой вентиль закрывать), а затем, немного вывинтив маховик, выкрутим головку из соответствующей боковины. Для проверки седла просунем в освободившееся резьбовое отверстие боковины отвертку, чтобы ее жало расположилось по радиусу отверстия, и проведем жалом по седлу. Имеющаяся канавка сразу даст о себе знать. Если она «молодая» и ее глубина не более 0,3 мм, то есть временный выход. Той же отверткой соскребите острые края канавки. В клапан вставьте прокладку из нетвердой резины толщиной 4–6 мм. Установите головку на место. Теперь, чтобы не было течи, придется более туго заворачивать маховик. Учтите, что чаще всего терпит бедствие седло боковины, пропускающее горячую воду.

Можно ли починить смеситель с поврежденным седлом? Конечно, можно, причем несколькими способами.

Первый способ — замена боковины. Ее снимают со старого переведенного «про запас» смесителя, для чего среднюю часть смесителя зажимают в тисках и выворачивают боковину, аккуратно взявшись зевом ключа за торцы резьбовых отверстий. Ремонтируемый смеситель отсоединяют от труб и таким же образом выкручивают дефектную боковину с поврежденным седлом. При установке боковины ее закручиваемую часть предварительно смазывают суриковой замазкой или отстоем суриковой краски. При отсутствии последних используйте любую масляную краску, взяв ее отстой. Следите, чтобы краска не попала во внутренние сверления боковины и центральной части смесителя. После заворачивания боковину необходимо довернуть (или отвернуть), чтобы ее торец под накидную гайку был в одной плоскости с соответствующим торцом второй боковины. Кроме того, обязательно выдержите межцентровое расстояние между боковинами (150+2 мм). Пока не подсохнет краска, лучше смесителем не пользоваться. При отсутствии такой возможности для гарантии подмотайте немного льна в конце заворачивания.

Вход
Поиск по сайту
Ищем:
Календарь