Онлайн книга «Отопление и водоснабжение вашего дома»
|
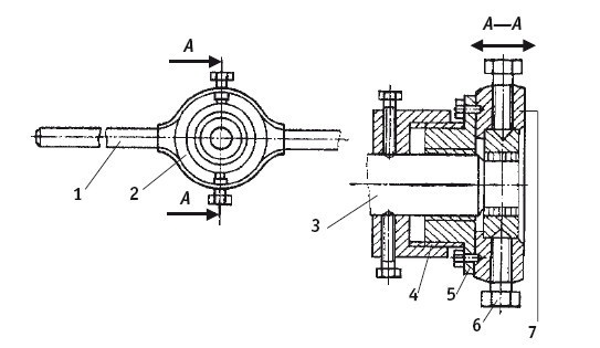
Место разрезания на трубе смазывается маслом или периодически обливается водой. Корпус трубореза надевается на трубу. Рукоятку вращаем до соприкосновения со стенкой трубы ролика-резака. Докручиваем рукоятку еще на 1/4 оборота так, чтобы ролик врезался в трубу. Весь труборез за рукоятку двигаем вперед-назад, постепенно проходя окружность. После этого еще вгрызаем ролик и повторяем процесс до окончательного разрезания трубы. Снимаем труборез и зачищаем заусенцы, опиливая торец трубы напильником. Излишне напоминать, что такая работа возможна после установки трубы в прижиме. При ремонте трубореза учтите, что ролики изготовляются из инструментальной стали У8А, остальные детали из ст. 45. После закалки ролики имеют примерно твердость напильника: HRC 52–56. Плашки, клуппы. При соединении труб с помощью резьбовых фитингов (муфт) не обойтись без плашек или клуппов, с помощью которых на концах труб нарезают резьбу. Для примера приведем последовательность операций при нарезании резьбы 1/2" круглой плашкой на полудюймовой трубе (с внешним диаметром 21,5 мм). Закрепляем трубу в прижиме. При его отсутствии можно зажать трубу в тисках, расположив ее между губками или под ними. Чтобы труба при нарезании резьбы не проворачивалась в тисках, на ее противоположный конец наворачивают угольник с отрезком трубы. Этот отрезок, упираясь в верстак, не даст трубе вращаться. Следовательно, для описываемого случая труба должна уже иметь с одной стороны резьбу. С конца зажатой трубы снимаем фаску шириной 2–3 мм. Сама труба в нарезаемой части должна выступать на минимальную длину из зажимного приспособления. Это обеспечит жесткость и облегчит нарезание. Смажьте нарезаемое место жидким маслом. Закрепите нужную круглую плашку в воротке (плашкодержателе) двумя или четырьмя упорными винтами. ![]() Труборез: 1 — ползун; 2 — корпус; 3 — ролик; 4 — винт; 5 — рукоятка. ![]() Вороток одногнездный: 1 — рукоятка; 2— винт; 3 — корпус. Чтобы не ошибиться в виде и размере нарезаемой резьбы, клеймо на плашке должно «смотреть» в сторону, противоположную внутреннему буртику воротка, в который упирается плашка. Стороной с клеймом и накладывайте плашку в воротке на торец трубы с фаской. Плашка должна располагаться в плоскости, перпендикулярной к оси трубы. Самая трудная фаза нарезания — начальная. Правой ладонью изо всех сил нажимайте на вороток в месте установки плашки, левой — вращайте рукоятку по часовой стрелке. Заборная часть плашки должна, врезавшись, «схватиться» за трубу. Дальше — легче. Плашка как бы станет на рельсы, и можно будет обеими ладонями вращать рукоятки. На первоначальную врезку потратим тем меньше усилий, чем большая будет фаска. Если нечем изготовить фаску, то «подкатите» (термин старых опытных сантехников) прямой угол между торцом и образующей трубы ударами молотка, т. е. закруглите угол. Применение воротка с направляющим фланцем и втулкой значительно облегчает нарезание резьбы. При работе вороток с направляющим фланцем надевается на трубу до упора плашки в ее торец. Затем втулку выворачиваем (втулка и фланец соединены на резьбе) на ту длину резьбы, которая необходима. Эта длина, например, должна быть немного меньше половины протяжения фитинга, которым соединяются трубы. Втулку закрепляем двумя болтами (винтами) на трубе. Когда примемся вращать рукоятки воротка, фланец будет втягиваться, навинчиваясь на втулку. Конечно, резьба на фланце (втулке) должна быть аналогична нарезаемой резьбе. ![]() Вороток с направляющим фланцем и втулкой: 1 — рукоятка; 2— корпус; 3— труба; 4— втулка; 5— направляющий фланец; 6— болт; 7— плашка. Применяются воротки подобной конструкции, но без выворачивающейся тянущей втулки. Направляющий фланец у них отлит заодно с корпусом плашкодержателя. Таким воротком сложнее работать, чем воротком с направляющим фланцем и втулкой, но легче, чем одногнездным. Самостоятельно проще всего изготовить одногнездный вороток. Корпус выточите на токарном станке или подберите обрезок толстостенной трубы. Рукоятки и опорный буртик для плашки в трубе можно приварить. Съемные рукоятки на резьбе желательны для сокращения размеров воротка при переноске. В корпусе просверлите отверстия и нарежьте в них резьбу в соответствии с имеющимися в наличии винтами. Расстояния между отверстиями выберите сообразно углублениям на наружном диаметре плашек. В эти углубления и должны войти концы винтов. ![]() Косой клупп: 1 — головка штыря; 2 — штырь; 3 — плашка раздвижная; 4 — рукоятка винта; 5— винт; 6— штифт; 7— корпус; 8— рукоятка; 9— сухарь. Плашку, конечно, самому не изготовить. Но ее в некоторых случаях вполне заменит гайка или контргайка, например, при очистке забитой краской резьбы. Только пообильнее смазывайте при этом резьбу. Клуппами, благодаря тому, что их призматические плашки состоят из двух частей и расстояние между ними регулируется, можно начинать нарезать резьбу на трубе большего диаметра, чем нужно. В комплект клуппов входят и сухари, которые ставят вместо плашек. Тогда клуппом можно пользоваться, как воротком для метчиков. Наиболее распространенными, так называемыми косыми, клуппами можно нарезать трубные резьбы до 1/2". Вантузы (прокачки). Подобные приспособления для прочистки ванн, раковин выпускают с диаметром резиновых груш 100, 125, 150 мм. Лучше иметь два вантуза (большой и маленький). У вантуза с грушей диаметром 100 мм обязательно прибейте обойными гвоздиками ту часть груши, в которую вдета рукоятка. Тогда сможете этим вантузом прокачивать и засоры в унитазе. Второй вантуз послужит для прокачки ванн и умывальников. ![]() Конопатка. Конопатки, чеканки. Их применяют для укладки уплотнителя в кольцевых промежутках раструбных стыков канализационных труб. Длина стандартной конопатки — 290 мм, ширина лезвия — 25 мм, толщина 3–5 мм. Ширину лезвия можно довести до 1/4 окружности трубы, что убыстрит работу. Конопатки несложно изготовить самому из полосовой стали. ![]() Чеканки. |
![Иллюстрация к книге — Отопление и водоснабжение вашего дома [i_117.jpg] Иллюстрация к книге — Отопление и водоснабжение вашего дома [i_117.jpg]](img/book_covers/084/84773/i_117.jpg)
![Иллюстрация к книге — Отопление и водоснабжение вашего дома [i_118.jpg] Иллюстрация к книге — Отопление и водоснабжение вашего дома [i_118.jpg]](img/book_covers/084/84773/i_118.jpg)
![Иллюстрация к книге — Отопление и водоснабжение вашего дома [i_119.jpg] Иллюстрация к книге — Отопление и водоснабжение вашего дома [i_119.jpg]](img/book_covers/084/84773/i_119.jpg)
![Иллюстрация к книге — Отопление и водоснабжение вашего дома [i_120.jpg] Иллюстрация к книге — Отопление и водоснабжение вашего дома [i_120.jpg]](img/book_covers/084/84773/i_120.jpg)
![Иллюстрация к книге — Отопление и водоснабжение вашего дома [i_121.jpg] Иллюстрация к книге — Отопление и водоснабжение вашего дома [i_121.jpg]](img/book_covers/084/84773/i_121.jpg)
![Иллюстрация к книге — Отопление и водоснабжение вашего дома [i_122.jpg] Иллюстрация к книге — Отопление и водоснабжение вашего дома [i_122.jpg]](img/book_covers/084/84773/i_122.jpg)