Книга Me 163 ракетный истребитель Люфтваффе, страница 22 – Сергей В. Иванов

Авторы: А Б В Г Д Е Ж З И Й К Л М Н О П Р С Т У Ф Х Ч Ш Ы Э Ю Я
Книги: А Б В Г Д Е Ж З И Й К Л М Н О П Р С Т У Ф Х Ц Ч Ш Щ Ы Э Ю Я
Бесплатная онлайн библиотека LoveRead.ec

Онлайн книга «Me 163 ракетный истребитель Люфтваффе»

📃 Cтраница 22
Иллюстрация к книге — Me 163 ракетный истребитель Люфтваффе [pic_117.jpg]

Выпущенный для посадки полоз, Science Museum, Лондон.

Иллюстрация к книге — Me 163 ракетный истребитель Люфтваффе [pic_118.jpg]

Полоз для посадки у Me 163, Даксфорд. Передний кожух снят.

Иллюстрация к книге — Me 163 ракетный истребитель Люфтваффе [pic_119.jpg]

Колесо стартовой тележки.


Знаки государственной принадлежности (кресты и свастики) чаще всего были старого типа: черные с кантом. В последние месяцы войны Крест на верхней стороне крыльев и свастика на киле подверглись упрощению — остался один кант без черных элементов.

Самолеты, использовавшиеся в бою, несли тактические номера, выполненные белой или желтой краской, иногда с черным кантом. Номера наносили у основания киля, иногда на самом киле.

Кресты на крыльях первоначально наносили вдоль центральной линии крыла, позднее их сместили к передней кромке.

Некоторые самолеты могли нести эмблемы частей в составе JG400.

На самолеты наносили эксплуатационные надписи, обозначающие горловины топливных баков, эксплуатационные указания (черные) и предостерегающие надписи (красные). Серийный номер обычно наносили черной краской только на одну (левую) сторону киля.

Техническое описание Me 163В

Одноместный перехватчик с ракетным двигателем. Бесхвостый среднеплан смешанной конструкции.


Фюзеляж


Фюзеляж полузакрытый из алюминиевого листа, круглый в сечении, технологически членился на две секции.

Передняя секция состояла из носового обтекателя, кабины и части фюзеляжа, вмещавшей баки. Задняя секция состояла из двигательного и хвостового отсека. Фюзеляж усиливали 11 шпангоутов. На верхней стороне фюзеляжа крепился фонарь кабины и обтекатель бака.


Хвостовое оперение


Самолет имел только киль деревянной конструкции, симметричного профиля, площадью 2,02 м². Руль направления площадью 0,523 м². Руль уравновешен по массе.

Иллюстрация к книге — Me 163 ракетный истребитель Люфтваффе [pic_120.jpg]

Схема главного шасси «Кометы».

1. Стартовая Тележка. 2. Полоз в выпущенном состоянии. 3. Полоз в убранном состоянии. 4. Подпорка, 5. Подпирающая балка. 6. Наклоненные плечи. 7. Соединения.

Иллюстрация к книге — Me 163 ракетный истребитель Люфтваффе [pic_121.jpg]

Схема гидравлической системы шасси.

Иллюстрация к книге — Me 163 ракетный истребитель Люфтваффе [pic_122.jpg]

1. Ось тележки. 2. Поддерживающая балка. 3. Главные колеса. 4. Шкворни. 5. Соединения. 6. Зацепы. 7. Ступица. 8. Крышка ступицы.

Иллюстрация к книге — Me 163 ракетный истребитель Люфтваффе [pic_123.jpg]

1. Подфюзеляжная балка. 2. Полоз. 3. Наклонная опора полоза. 4. Крышка зацепа. 5. Крышка соединения. 6. Усиление полоза. 7. Колесная тележка. 8. Зацепы. 9. Натягивающая пружина.


Крылья


Крылья деревянные с коробчатым главным лонжероном и вспомогательным лонжероном-швеллером. К вспомогательному лонжерону крепились рули-элероны и триммеры. К фюзеляжу крыло крепилось тремя шкворнями. Обшивка из фанеры Te-Vau-Bu (буковая шпонка, проклеенная клеем Tegofilm). Толщина профиля крыла 14 % у основания (нервюра № 1) при 30 % хорды и 8,7 % у конца (нервюра № 19) при 20 % хорды. Стреловидность 23,3° на 1/4 хорды, геометрический поворот 5,7 %. Неподвижные предкрылки на половине размаха крыла.

Система управления рулями на качалках.

Рули-элероны на внешней стороне крыльев деревянные с матерчатой обшивкой. Триммеры на внутренней стороне крыльев той же конструкции, что и рули-элероны.

Посадочные закрылки, а точнее аэродинамические тормоза, подвешивались на нижней стороне крыла и представляли собой алюминиевые пластины. Они располагались на центроплане по середине хорды и выпускались с помощью гидравлического привода.

Отклонение рулей:

Руль направления: 35° влево и вправо.

Рули-элероны: в зависимости от режима работы.

Триммеры: +/- 10°.

Посадочные закрылки: +45°.

Шасси состояло из посадочного полоза, убираемого и выпускаемого с помощью гидравлического привода. Полоз сначала делали из алюминия, позднее из стали. Первые машины имели деревянный полоз, у них также отсутствовал хвостовое колесо. К полозу крепилась колесная тележка, которую сбрасывали после взлета (полоз, убираясь, высвобождал крепления тележки). В районе хвоста находилось управляемое колесо, выпускаемое гидравлически.

Аварийный выпуск полоза осуществлялся пневматической системой.

Шины колес на тележке 700x175 мм, давление 5.5 атм. хвостового колеса 260x85 мм. давление 4 атм.

Самолет также мог взлетать с помощью колесной тележки фирмы Borsig, стартовой тележки с пружиной Лечера фирмы VDM. а также тележки с управляемым передним колесом фирмы АНАС.

Иллюстрация к книге — Me 163 ракетный истребитель Люфтваффе [pic_124.jpg]

Хвостовое колесо.

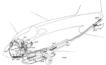
1. Хвостовая часть фюзеляжа. 2. Шпангоут № II.3. Трубки контура. 4. Кожух пружины. 5. Воздухопровод. 6. Вилка хвостового колеса. 7. Усилитель системы выпускания колеса. 8. Соединение гидравлической системы. 9. Соединение гидравлической системы. 10. Узел крепления гидравлического усилителя. 11. Узел крепления маятника хвостового колеса. 12. Соединение системы управления хвостовым колесом. 13. Шкворень, крепящий головку гидравлического усилителя. 14. Тяга управления колесом.

Иллюстрация к книге — Me 163 ракетный истребитель Люфтваффе [pic_125.jpg]

Крыльчатка, вращающая генератор.

Иллюстрация к книге — Me 163 ракетный истребитель Люфтваффе [pic_126.jpg]

Спинки кресла пилота

Реклама
Вход
Поиск по сайту
Ищем:
Календарь