Онлайн книга «Интеллектуальная собственность в бизнесе: изобретение, товарный знак, ноу-хау, фирменный бренд...»
|
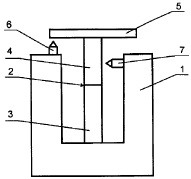
Формула изобретения Устройство микроперемещений, содержащее основание, пьезотрубку с электродами, один конец которой закреплен на основании, а другой снабжен первой опорой, отличающееся тем, что в него введена вторая опора вторая опора размещена внутри пьезотрубки, при этом один конец второй опоры жестко закреплен на основании, а другой расположен под перемещаемым объектом. ![]() Рис. Устройство перемещения Патент РФ № 2282258 на изобретение «Способ перемещений» (патентообладатель: ЗАО «НТ-МДТ»; приоритет от 9 сентября 2004 г.) Извлечения из формулы изобретения Устройство перемещения, состоящее из основания с закрепленным на нем одним концом совмещенным узлом блока перемещения по одной координате (Z) и блока перемещений по двум взаимно перпендикулярным координатам (X, Y), другим свободным концом совмещенного узла блока перемещения вместе с расположенным на нем держателем объекта, отличающееся тем, что на упомянутом основании введены упоры, размещенные через зазоры напротив упомянутых свободного конца совмещенного узла и держателя объекта, при этом величины зазоров превышают величины функциональных перемещений конца совмещенного узла и держателя объекта в направлении соответствующих упоров, но меньше, чем предельно допустимые по прочности совмещенного узла отклонения в тех же направлениях. ![]() Рис. Устройство перемещения Патент РФ № 2282581 на изобретение «Способ изготовления калиброванного нанокапиллятора и устройство для его изготовления» (патентообладатель: федеральное государственное унитарное предприятие «Государственный научный центр Российской Федерации Институт теоретической и экспериментальной физики им. А.И. Алиханова»; приоритет от 29 ноября 2004 г.) Извлечения из формулы изобретения ![]() Рис. Устройство для изготовления калиброванного нанокапилляра Способ изготовления калиброванного нанокапилляра, включающий процедуру оценки его диаметра, отличающийся тем, что выполняют непрерывный контроль диаметра капилляра по заданному шаблону, причем в качестве «пробки» минимального диаметра выбирают одноатомный газ, а в качестве «пробки» максимального диаметра выбирают молекулярный газ и, пропуская смесь этих газов через заготовку капилляра, оценивают диаметр капилляра по изменению соотношения концентраций атомного и молекулярного газов при управляемом разложении в капилляре молекулярной компоненты газовой смеси. Патент РФ № 2293766 на изобретение «Способ получения надмолекулярных композитов» (патентообладатель: Дерябин Д.Г., Давыдова О.К.; открытая лицензия; приоритет от 13 апреля 2005 г.) Извлечения из описания изобретения Основной задачей, на решение которой направлен заявляемый способ, является получение надмолекулярных композитов из ДНК и формообразующего амфифильного вещества, в составе которых достигается упорядоченное (параллельное) расположение нитей ДНК. Дополнительной задачей, решаемой при осуществлении заявляемого способа, является длительное сохранение нативной структуры и физико-химических свойств ДНК в составе образующегося надмолекулярного композита. Извлечения из формулы изобретения Способ получения надмолекулярных композитов из линейных молекул дезоксирибонуклеиновой кислоты путем смешивания двухцепочечных молекул ДНК с амфифильным формообразующим веществом в водном растворе и последующего инкубирования полученной смеси, отличающийся тем, что в качестве амфифильного формообразующего вещества используют вещество с химической формулой. ![]() Рис. Химическая формула к патенту РФ № 2293766 Патент РФ № 2282583 на изобретение «Углеродный полимер» (патентообладатель: Левченко В.А., Раков Д.Л.; приоритет от 11 декабря 2003 г.) Извлечения из описания изобретения Целью изобретения является повышение трибологических свойств материала, в частности уменьшение трения, а также увеличение твердости, износостойкости, плотности упаковки атомов, задиростойкости и температурной стабильности. ![]() Рис. Углеродный полимер Извлечения из формулы изобретения Углеродный полимер с гомеотропно-ориентированными атомами углерода, отличающийся тем, что выполнен в виде монокристаллической структуры с плотной упаковкой атомов углерода с sp-sp3-гибридизацией, при этом расстояние между цепочками углерода составляет от 3,97 до 5,11 Е. Патент РФ № 2291835 на изобретение «Способ получения микроструктур» (патентообладатель: федеральное государственное унитарное предприятие «Научно-исследовательский институт комплексных испытаний оптико-электронных приборов и систем» (ФГУП НИИКИ ОЭП); приоритет от 21 июля 2005 г.) Извлечения из реферата изобретения Изобретение относится к области микро– и нанотехнологий обработки материалов с применением лазерного излучения. Техническим результатом изобретения является разработка производительного, экологически чистого, высокотехнологичного способа получения микроструктур с плоским дном как ячеистого, так и канального типа. Патент РФ № 23000158 на изобретение «Способ формирования субмикронной и нанометровой структуры» (патентообладатель: Институт информатики и микроэлектроники РАН; приоритет от 29 сентября 2005 г.) Извлечения из реферата изобретения |
![Иллюстрация к книге — Интеллектуальная собственность в бизнесе: изобретение, товарный знак, ноу-хау, фирменный бренд... [_98.jpg] Иллюстрация к книге — Интеллектуальная собственность в бизнесе: изобретение, товарный знак, ноу-хау, фирменный бренд... [_98.jpg]](img/book_covers/066/66472/_98.jpg)
![Иллюстрация к книге — Интеллектуальная собственность в бизнесе: изобретение, товарный знак, ноу-хау, фирменный бренд... [_99.jpg] Иллюстрация к книге — Интеллектуальная собственность в бизнесе: изобретение, товарный знак, ноу-хау, фирменный бренд... [_99.jpg]](img/book_covers/066/66472/_99.jpg)
![Иллюстрация к книге — Интеллектуальная собственность в бизнесе: изобретение, товарный знак, ноу-хау, фирменный бренд... [_101.jpg] Иллюстрация к книге — Интеллектуальная собственность в бизнесе: изобретение, товарный знак, ноу-хау, фирменный бренд... [_101.jpg]](img/book_covers/066/66472/_101.jpg)
![Иллюстрация к книге — Интеллектуальная собственность в бизнесе: изобретение, товарный знак, ноу-хау, фирменный бренд... [_102.jpg] Иллюстрация к книге — Интеллектуальная собственность в бизнесе: изобретение, товарный знак, ноу-хау, фирменный бренд... [_102.jpg]](img/book_covers/066/66472/_102.jpg)
![Иллюстрация к книге — Интеллектуальная собственность в бизнесе: изобретение, товарный знак, ноу-хау, фирменный бренд... [_103.jpg] Иллюстрация к книге — Интеллектуальная собственность в бизнесе: изобретение, товарный знак, ноу-хау, фирменный бренд... [_103.jpg]](img/book_covers/066/66472/_103.jpg)