Онлайн книга «Интеллектуальная собственность в бизнесе: изобретение, товарный знак, ноу-хау, фирменный бренд...»
|
Патент РФ № 2088266 на изобретение «Способ интенсивного обучения иностранному языку» [171] (патентообладатель: Ангел В.И., Доморацкая Н.И., Доморацкий И.О., Роженок В.И., Роженок Г.В.; приоритет от 3 февраля 1993 г.) Реферат изобретения Изобретение предназначено для ускоренного обучения иностранным языкам. Способ позволяет повысить интенсивность и качество обучения больших групп слушателей. Для этого он содержит этап оптимизации мотивации обучаемых, который осуществляют в виде сеанса коллективного гипноза, этап оперативного врабатывания, который начинается с выполнения психолингвистических управлений, а заканчивают психофизиологичесиким тренингом, этап формирования моделированного восприятия, который осуществляют в виде гипнотического воздействия с последующей изобретательной активацией восприятия конкретного раздражителя, например звукового. Патент РФ № 2251972 на изобретение «Способ тренировки адаптационных механизмов личности к стрессовым ситуациям и устройство для его реализации» (патентообладатель: Ункафов М.А.; приоритет от 12 марта 2003 г.) Реферат изобретения Изобретения относятся к медицине, к области психотерапии, и предназначены для коррекции неврологических и психопатологических расстройств с тревожно-фобической симптоматикой путем индивидуальных тренировок. Технический результат от использования изобретений – обеспечение возможности тренировки адаптационных механизмов личности к стрессовым ситуациям. Способ содержит оценку реакции организма на стимулирующие сигналы, включает сеансы индивидуального тренинга, которые проводят с воздействием на организм двух квазиантиподных стимулирующих сигналов одинаковой физической модальности, разнесенных во времени и появление которых носит случайный характер, и предъявлением в качестве сигнала биологической обратной связи изменения значения физиологического показателя, адекватно отражающего реакцию организма на воздействие стимулирующего сигнала. На первом этапе тренировки добиваются привыкания организма к воздействию квазиантиподных стимулирующих сигналов; на втором этапе добиваются выработки условного рефлекса на один из стимулирующих сигналов, для чего сопровождают этот стимулирующий сигнал дискомфортным воздействием на третьем, заключительном этапе, волевыми усилиями добиваются подавления реакции организма на стимулирующий сигнал, сопровождаемый на втором этапе тренировки дискомфортным воздействием. Устройство содержит последовательно соединенные преобразователь физиологического показателя в электрический сигнал и биоусилитель, блок анализа и управления, к выходам которого подключены блок предъявления сигналов биологической обратной связи (БОС), блок предъявления дискомфортного воздействия, блок индикации и блок формирования и предъявления квазиантиподных стимулирующих сигналов. Использование изобретений позволяет пациенту приобрести навыки управления своими эмоциями, снизить порог чувствительности к внешним воздействиям, научиться адекватно реагировать на стрессовые ситуации. ГЛАВА 23
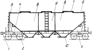
ПЕРЕВОЗКИ И ЖЕЛЕЗНОДОРОЖНЫЙ ТРАНСПОРТ Можно долго спорить о перспективах развития интеллектуальной собственности, но представители некоторых областей упорно отрицают необходимость ее использования. Одна из таких сфер – вопросы транспорта и перевозок. Нередко, беседуя с представителями компаний из этой сферы, можно столкнуться с непоколебимой уверенностью в отсутствии какого-то оригинального интеллектуального капитала в деятельности их компаний. Однако уже сейчас в России защищено различными способами достаточно внушительное количество различных объектов. В качестве наглядных примеров наличия объектов интеллектуальной собственности нельзя не указать изобретения, относящиеся к конструкциям вагонов и железнодорожных платформ, шахтных дорог, изобретения – способы перевозки пассажиров и грузов; а также различные полезные модели. Патент РФ № 2279550 на изобретение «Шахтная монорельсовая дорога» (патентообладатель: государственное образовательное учреждение высшего профессионального образования Санкт-Петербургский государственный горный институт им. Г.В. Плеханова (технический университет); приоритет от 14 февраля 2005 г.) Извлечения из формулы изобретения Шахтная монорельсовая дорога, содержащая горную выработку, металлическую арочную податливую крепь, на которой закреплен монорельс двутаврового поперечного сечения с возможностью передвижения по нему колесного подвижного состава, отличающаяся тем, что между крепями с шагом, превышающим шаг расстановки крепей, по длине монорельса размещены горизонтально ориентированные плиты, которые снизу жестко соединены с верхней полкой монорельса, а сверху – с П-образным башмаком, причем каждая плита с упомянутым башмаком анкерами прижата к кровле выработки, а между ней и башмаком размещена вставка из податливого материала. Рис. Патент № 2279550 ![]() Патент РФ № 2270114 на изобретение «Многофункциональная железнодорожная платформа» (патентообладатель: ФГУП «Центральный научно-исследовательский институт «Буревестник»; приоритет от 26 января 2004 г.) Извлечение из реферата изобретения Изобретение относится к железнодорожному транспорту, а более конкретно – к железнодорожным платформам для перевозки длинномерных грузов. Многофункциональная железнодорожная платформа содержит установленную на ходовые тележки несущую раму 1 с торцевыми стенками, распределенными по ее длине промежуточными секциями с рабочей поверхностью для укладки труб, опорами для установки контейнеров и опорами 15 для установки листового проката, выполненными с возможностью установки этих опор в рабочее или исходное положения, комплект устройств закрепления труб. ![]() Рис. Патент № 2270114 Патент РФ № 2265536 на изобретение «Хоппер-вагон модульный» (патентообладатель: ОАО «Крюковский вагоностроительный завод» (Украина); приоритет от 7 октября 2003 г.) Извлечение из реферата изобретения Изобретение относится к железнодорожному транспорту, а именно к конструкции бункерных вагонов для перевозки сыпучих грузов. ![]() Рис. Патент № 2365536 |
![Иллюстрация к книге — Интеллектуальная собственность в бизнесе: изобретение, товарный знак, ноу-хау, фирменный бренд... [_92.jpg] Иллюстрация к книге — Интеллектуальная собственность в бизнесе: изобретение, товарный знак, ноу-хау, фирменный бренд... [_92.jpg]](img/book_covers/066/66472/_92.jpg)
![Иллюстрация к книге — Интеллектуальная собственность в бизнесе: изобретение, товарный знак, ноу-хау, фирменный бренд... [_93.jpg] Иллюстрация к книге — Интеллектуальная собственность в бизнесе: изобретение, товарный знак, ноу-хау, фирменный бренд... [_93.jpg]](img/book_covers/066/66472/_93.jpg)
![Иллюстрация к книге — Интеллектуальная собственность в бизнесе: изобретение, товарный знак, ноу-хау, фирменный бренд... [_94.jpg] Иллюстрация к книге — Интеллектуальная собственность в бизнесе: изобретение, товарный знак, ноу-хау, фирменный бренд... [_94.jpg]](img/book_covers/066/66472/_94.jpg)