Онлайн книга «Современные подвалы, подполы и погреба»
|
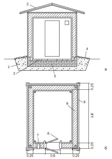
Рис. 76. Погреб (вариант 1): а – общий вид; б – разрез; в – план; 1 – горбыль; 2 – глиносолома; 3 – глиняный слой; 4 – насыпной грунт; 5 – слой гидроизоляции; 6 – глиняный замок; 7 – цементно-песчаная стяжка Выполните глиняный замок. Спланируйте дно котлована, насыпьте щебеночную подушку слоем толщиной 8-10 см, утрамбуйте, заполните расплавленным битумом, после чего залейте бетонную подготовку, для которой используют цемент, песок и щебень (1:2:4). Из кирпича сложите стены, оштукатурьте их цементно-песчаным раствором. Таким же раствором отделайте пол в погребе, положив его толщиной 4–5 см. Осуществите гидроизоляцию, обмазочную или оклеечную, в соответствии с местными условиями. Для перекрытия используйте горбыль или необрезные доски толщиной 40–50 мм. Места опирания досок на кирпич обработайте горячим битумом, что придаст им долговечность. Поверх них уложите плотный слой соломенно-глиняного теста толщиной 20 см (можно настелить толь или рубероид). Не забудьте установить вентиляционную трубу и навесить дверь, изготовленную из хорошо пригнанных досок толщиной 40–50 мм. Завершит строительство обваловка. Вариант 2. Удобный земляной погреб можно устроить на склоне (рис. 77), он имеет несколько важных достоинств. Во-первых, рационально используется участок, во-вторых, погреб с наклонной крышей неплохо защищен от грунтовых и поверхностных вод. В-третьих, имеет значение и тот факт, что трудоемкие земляные работы сведены к минимуму. ![]() Рис. 77. Погреб (вариант 2): 1 – закром; 2 – накат; 3 – глина; 4 – грунт Осваиваем пространство ниже нулевой отметки Если вода прорвала слой герметизации и случилась протечка, то даже засыпка подвала землей может не дать положительного результата, поскольку влаге некуда деться. В конечном итоге сырость появится в подполе. Можно попытаться разрешить проблему и устранить протечку современными гидроизоляционными средствами, но сделать это будет трудно, если полы в подвале настелены и отделка завершена. Выкопайте котлован на склоне, который в плане имеет форму квадрата со стороной 250 см. Высота по высокой стене составляет 2–2,5 м, по низкой – насколько позволит склон. По углам и посередине основания выкопайте ямы и установите в них столбы из подтоварника. Два бревна (они должны быть длиннее, чем котлован), которые будут выполнять роль балок перекрытия, положите на гидроизоляцию из рубероида и набейте на них доски потолка, они должны выступать за границы балки примерно на 50 см. Поверх потолка уложите накат из бревен и покройте его глиняной обмазкой. В погребе установите вентиляционную трубу с заслонкой и защитите ее гидроизоляционным коробом. Стены внутри помещения обшейте двумя слоями досок внахлест. Между стеной погреба и откосом котлована устройте гидроизоляцию из двух слоев рубероида. Пол толщиной 10 см глинобитный, состоящий из смеси песка и глины, взятых в одинаковой пропорции. Вход в погреб осуществляется через тамбур с невысокой утепленной дверью. На перекрытие насыпьте грунт слоем 30–50 см. Чтобы поверхностные воды, стекающие со склона, не проникали в погреб и не размывали его, на высоте 2–3 м выполните водоотводную канаву глубиной 70–80 см, причем проложите ее наискось, чтобы почва не размывалась. В последнюю группу конструкций входят погреба, строящиеся на поверхности земли. Вариант 1. В тех местностях, где из-за близких грунтовых вод нет возможности построить заглубленный или полузаглубленный погреб, предпочтение отдается наземным конструкциям, в частности, так строится лабаз (рис. 78) для хранения сельскохозяйственной продукции. ![]() Рис. 78. Погреб-лабаз (вариант 1): 1 – закром; 2 – обваловка; 3 – рубероид; 4 – обрешетка; 5 – лаз Его высота составляет не более 2 м, в противном случае овощи будут замерзать. Если размеры лабаза позволяют, то в нем вы можете сделать два прохода, но достаточно и одного. Основное отличие лабаза от погребов других конструкций состоит в том, что у него нет потолочного перекрытия, поэтому для строительства потребуется меньше средств. Выполните каркас постройки из окоренных бревен диаметром 13–18 или 18–22 см, выкопав под них ямы глубиной примерно 1 м. Соедините столбы обвязкой, для чего их вершины зарубите «на шип». Чтобы нижняя обвязка и заглубленные концы столбов не страдали от соприкосновения с грунтом, обработайте их антисептическим составом. Один из торцов конструкции обшейте двумя рядами досок, поместив между ними утеплитель. С противоположной стороны навесьте утепленную дверь (лаз с тамбуром). Из горбыля выполните сплошную обрешетку и настелите на нее один или два слоя рубероида, после чего сделайте обваловку толщиной 30–40 см. В лабазе установите вентиляционную трубу с регулируемым клапаном. Вокруг лабаза выкопайте водоотводную канаву. Осваиваем пространство ниже нулевой отметки При строительстве подвала его перекрывают железобетонными плитами, которые принимают нагрузку от других элементов конструкции на себя. Именно по этой причине стены подвала необходимо загрузить в тот же сезон, иначе пучинистый грунт расширится и стены отклонятся внутрь подвала. Вариант 2. Из утепленных ящиков тоже можно построить небольшой погреб (рис. 79). ![]() Рис. 79. Погреб (вариант 2): а – разрез; б – план; 1 – песчано-щебеночная подушка; 2 – двухскатная крыша; 3 – пол; 4 – отмостка; 5 – глиняный замок; 6 – дверь; 7 – продух; 8 – слой утеплителя; 9 – слой гидроизоляции Подобрав подходящее место, снимите с него дернину, чтобы получилась выемка глубиной 20–50 см, благодаря которой обогрев почвенным теплом улучшится. Уплотните основание, насыпав на него песчано-щебеночную подушку, чтобы в погреб не проникала сырость. Прежде чем вы выполните глиняный замок толщиной 15–20 см, положите на подушку куски рубероида (обязательно внахлест), на него насыпьте известь-пушонку слоем 1–1,5 см, чтобы в погреб не смогли попасть грызуны. Надземная – это конструкция в виде ящика с двойными стенками из досок толщиной 40–50 мм, между которыми вложен утеплитель, например керамзит, пенополистирол или опилки (последние должны быть предварительно обеззаражены 10 %-ным раствором медного купороса, а, чтобы в них не заводились грызуны, смешайте опилки с известью-пушонкой (9:1)). |
![Иллюстрация к книге — Современные подвалы, подполы и погреба [i_094.jpg] Иллюстрация к книге — Современные подвалы, подполы и погреба [i_094.jpg]](img/book_covers/060/60939/i_094.jpg)
![Иллюстрация к книге — Современные подвалы, подполы и погреба [i_095.jpg] Иллюстрация к книге — Современные подвалы, подполы и погреба [i_095.jpg]](img/book_covers/060/60939/i_095.jpg)
![Иллюстрация к книге — Современные подвалы, подполы и погреба [i_096.jpg] Иллюстрация к книге — Современные подвалы, подполы и погреба [i_096.jpg]](img/book_covers/060/60939/i_096.jpg)