Онлайн книга «Современные подвалы, подполы и погреба»
|
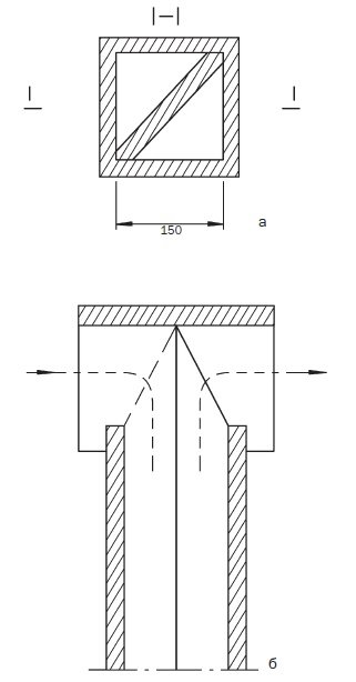
Вариант 4. Нередко погреб устраивается в гараже (рис. 63), причем нередко он используется и в качестве смотровой ямы. ![]() Рис. 63. Погреб (вариант 4) (стрелками показано направление перемещения воздушных масс): 1 – решетчатый люк; 2 – погреб Глубина погреба составляет 180–190 см. Если он устраивается при высоком уровне грунтовых вод, то его стенки лучше всего сделать монолитными из бетона повышенной плотности. При сухих грунтах их можно строить из асбоцементных листов, склеенных для прочности в два слоя битумной мастикой и прикрепленных к деревянному, обработанному антисептическим составом каркасу, саморезами или шурупами. Покройте ограждающие конструкции грунтовкой и нанесите два слоя горячего битума. Необходимо позаботиться и о вентиляции погреба. Для этого либо люк оснащается крышкой и решеткой, поверх которой в качестве утеплителя стелется ватное одеяло, либо устанавливается двухканальная вентиляционная труба (рис. 64). ![]() Рис. 64. Двухканальная вентиляционная труба: а – вид сверху; б – разрез Вариант 5. Под садовым домиком можно устроить погреб-подвал (рис. 65), который может быть не слишком глубоким и равным высоте ленточного фундамента. Пол подвала представляет собой утрамбованное земляное основание, на которое уложен слой бетона толщиной 6–8 см. Оклеечная гидроизоляция выполнена в виде двух слоев рубероида, соединенного горячим битумом, устройству которой предшествует создание глиняного замка. Оштукатурьте стенки подвала цементным раствором и тщательно затрите его, после чего нанесите известковую побелку. Для вентиляции подвального пространства в цоколе предусмотрены продухи. Вход в подвал осуществляется через люк в полу. Крышку для него сделайте двойной из шпунтованных досок, проложенных утеплителем. У люка имеется ручка-кольцо, заделанная впотай. ![]() Рис. 65. Погреб (вариант 5): а – разрез; б – план; в – фрагмент; 1 – подвал; 2,17 – продух; 3 – глиняный замок; 4 – оклеенная гидроизоляция; 5,16 – отмостка; 6 – печь; 7 – люк; 8 – стена дома; 9 – перекрытие; 10 – стенка погреба; 11 – штукатурка; 12 – дренаж; 13 – асбоцементный лист; 14 – слой битума; 15 – обратная засыпка Осваиваем пространство ниже нулевой отметки Чтобы просушить погреб, можно воспользоваться простым способом. Необходимо нарастить вентиляционную трубу таким образом, чтобы она практически доставала до пола. Под ней поставьте горящую свечу. Чтобы создать тягу, сожгите в трубе кусок бумаги, после чего тяга будет поддерживаться пламенем. Весь процесс займет примерно три дня. Вариант 6. Погреб, сложенный из камня (рис. 66), отличается особой надежностью, хотя в настоящее время такие хранилища встречаются довольно редко. В погребе, оборудованном погребицей (надземной постройкой), поддерживается постоянный температурно-влажностный режим (примерно 5–6 °C). У него отсутствует вентиляционная система, но проветривание происходит через зазоры во входном люке. Выкопайте по всем правилам котлован, уплотните его основание, постройте глиняный замок толщиной 20–25 см. Пол глинобитный, в который вдавлен щебень. Стены погреба сложены из плитняка, раствор глиняный. Погреб имеет сводчатое перекрытие, снаружи залитое известковым раствором, по консистенции напоминающим густую сметану. Поверх раствора выполните теплоизоляцию, нанеся 10 см слоя глины, смешанной с древесной золой. Когда замазка просохнет, поверх нее насыпьте слой земли. Для спуска в подвал устроены каменные ступени. Дверь изготовьте из хорошо пригнанных досок толщиной 40–50 мм. ![]() Рис. 66. Погреб (вариант 6): а – вид спереди; б – вид сбоку; в – план; 1 – погребица; 2 – свод; 3 – обратная засыпка; 4 – ступени От природно-климатического воздействия погреб защищен каменной погребицей, сложенной на глиняном растворе. По периметру погребицы выполните отмостку и выкопайте водоотводные канавки. Вариант 7. Заглубленный погреб с погребицей (рис. 67) очень удобен в эксплуатации, поскольку надземное помещение также можно использовать для кратковременного хранения продукции. Осваиваем пространство ниже нулевой отметки Погреб один раз в три года необходимо дезинфицировать, чтобы не допустить распространения насекомых, плесневых грибков и т. п. Есть разные способы это осуществить. Согласно одному из них надо взять 2–3 кг негашеной извести в расчете на 10 м2 площади, положить ее в бак, залить водой и оставить в погребе, закрыв двери, вентиляционную трубу, продухи, и оставить погреб на двое суток, после чего проветрить помещение. При работе с известью надо соблюдать технику безопасности. Выкопайте котлован на соответствующую глубину, выровняйте основание, утрамбуйте его и устройте щебневую подушку толщиной 8-10 см, по которой возведите глиняный замок толщиной 2–3 см, после чего сделайте бетонную подготовку, залив его слоем толщиной 10 см. Примерно через две недели выполните по бетонному основанию цементно-песчаную стяжку толщиной 5 см и пожелезните ее для обеспечения дополнительной прочности. ![]() Рис. 67. Погреб (вариант 7): а – общий вид; б – план; в – разрез; 1 – утеплитель; 2 – слой побелки; 3 – отмостка; 4 – двухслойная гидроизоляция; 5 – глиняный замок; 6 – бутобетон Стены погреба должны быть возведены из долговечного материала, например бетона (толщиной 20–30 см), камня (толщиной 25–30 см), бревен (диаметром 12–18 см). В соответствии с местными условиями выполните гидроизоляцию. По боковым сторонам также должен быть глиняный замок. Для этого пространство между стенами и грунтом заполните мятой глиной, выкладывая ее слоями по 20–30 см и тщательно упрессовывая. Перекрытие утеплите керамзитом, поверх которого произведите глиняную замазку толщиной 3 см. Не забудьте выполнить отверстия для входа в погреб. Размер люка: примерно 70 × 70 см. Установите в погребе двухканальную вентиляционную трубу. Постройте погребицу из имеющегося материала (кирпича, самана, бревен и др.). |
![Иллюстрация к книге — Современные подвалы, подполы и погреба [i_080.jpg] Иллюстрация к книге — Современные подвалы, подполы и погреба [i_080.jpg]](img/book_covers/060/60939/i_080.jpg)
![Иллюстрация к книге — Современные подвалы, подполы и погреба [i_081.jpg] Иллюстрация к книге — Современные подвалы, подполы и погреба [i_081.jpg]](img/book_covers/060/60939/i_081.jpg)
![Иллюстрация к книге — Современные подвалы, подполы и погреба [i_082.jpg] Иллюстрация к книге — Современные подвалы, подполы и погреба [i_082.jpg]](img/book_covers/060/60939/i_082.jpg)
![Иллюстрация к книге — Современные подвалы, подполы и погреба [i_083.jpg] Иллюстрация к книге — Современные подвалы, подполы и погреба [i_083.jpg]](img/book_covers/060/60939/i_083.jpg)
![Иллюстрация к книге — Современные подвалы, подполы и погреба [i_084.jpg] Иллюстрация к книге — Современные подвалы, подполы и погреба [i_084.jpg]](img/book_covers/060/60939/i_084.jpg)