Книга Современные подвалы, подполы и погреба, страница 29 – Галина Серикова

Авторы: А Б В Г Д Е Ж З И Й К Л М Н О П Р С Т У Ф Х Ч Ш Ы Э Ю Я
Книги: А Б В Г Д Е Ж З И Й К Л М Н О П Р С Т У Ф Х Ц Ч Ш Щ Ы Э Ю Я
Бесплатная онлайн библиотека LoveRead.ec

Онлайн книга «Современные подвалы, подполы и погреба»

📃 Cтраница 29

После того как будут подготовлены все инструменты и материалы, необходимые для монтажа электропроводки, можно перейти к определению мест, которые будут заняты электроустановочными устройствами, наметить наиболее короткие и удобные пути для прокладки проводов.

Основной провод должен проходить в 10–20 см от потолка. От него вертикально вниз отходят ответвления к электроустановочным устройствам; от распределительной коробки к потолочному светильнику для скрытой проводки можно выявить кратчайший путь по перекрытию; провода к розеткам и выключателям подводятся снизу, к осветительным приборам – сверху.

Для безопасности все соединения должны осуществляться в разветвительных коробках. Необходимо исключить действие на них механических нагрузок и обязательно тщательно изолировать, при этом следует придерживаться таких правил:

• не перекрещивать провода;

• не размещать проводку, проложенную параллельно металлическим трубам, ближе 10 см от них;

• соблюдать расстояние между проводами и металлическими трубами не менее 5 см, если возникает необходимость в таком пересечении.

Розетки и выключатели необходимо размещать на такой высоте, чтобы ими было удобно пользоваться (как правило, это 60–80 см от пола, хотя розетки часто размещаются в 30 см от него или даже около плинтуса). При этом надо учитывать и характер расстановки предметов интерьера. Но в любом случае не разрешается, чтобы выключатели загораживались дверным полотном. Также запрещено устанавливать розетки и выключатели внутри помещений с повышенной влажностью. Если появляется такая необходимость, то розетка должна иметь двойную изоляцию и устанавливаться через разделительный трансформатор, размещенный за пределами такого помещения.

После разметки можно приступать к монтажу электротехнических устройств. Для скрытой проводки зубилом и молотком выдолбите канавки (проводка должна быть заглублена на 10 мм, чтобы можно было замазать ее цементным раствором), для коробок – гнезда (предварительно по контуру сверлом диаметром 6–9 мм просверлите отверстия).

При пропускании провода сквозь стену в ней с помощью шлямбура проделайте отверстие, в которое необходимо вставить трубку (пластмассовую или металлическую).

В соответствии с разметкой разместите крепежную арматуру, прибейте скобы, установите электротехнические плинтусы, трубы и пр.

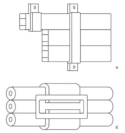
Монтировать проводку лучше в трубах – так легче заменить их при повреждении. Это безопасно для таких помещений, как мастерская или гараж, которые размещаются в подвальном или цокольном этаже. Но следует учитывать, что прокладка в трубах двух– или трехпроводной линии нежелательна. Для нее предназначаются металлические рукава или стальные либо пластмассовые трубы. Протягивать сквозь них, а также через электротехнический плинтус провода помогает гибкий тросик. Прокладка кабеля и защищенного провода имеет определенные особенности, в частности для их крепления используются скобки с лапками или пряжками (рис. 38).

Крепление кабелей надо размещать с шагом 50 см и в 10–15 мм от начала изгиба, не рекомендуется перегибать их (радиус должен равняться, как минимум, десяти его диаметрам). Через электротехнические плинтусы и трубы они прокладываются так же, как и обычные провода.

Далее необходимо нарезать провод, предварительно распрямив его. При нарезке оставляйте запас в 6–7 см, который может потребоваться при повторном соединения проводов в коробке и др. Подготовленные провода вложите в предназначенные крепления и соедините. При пересечении тщательно обмотайте их изолентой или поместите в изоляционную трубку. В распределительной коробке все провода, кроме скручивания и изоляции, надо уложить так, чтобы исключить контакт соединений друг с другом. Там, где провод будет изгибаться, разрежьте перемычку между жилами на 5–7 см.

Иллюстрация к книге — Современные подвалы, подполы и погреба [i_045.jpg]

Рис. 38. Фиксация кабеля или защищенного провода к основанию: а – скобкой с лапками (одной или двумя); б – скобкой с пряжкой


При монтаже электропроводки необходимо правильно сращивать провода между собой. Только в этом случае можно рассчитывать на надежную работу электросхемы. В таких случаях контакт должен отвечать ряду требований:

• сопротивления в соединении и во всей цепи на целых участках должны соответствовать друг другу;

• должна быть исключена механическая нагрузка на участки соединения проводов. Если этого нельзя избежать, то прочность соединения не должна быть менее таковой на целом участке провода;

• соединения должны быть герметично заизолированы.

Осваиваем пространство ниже нулевой отметки

В отличие от буртов и наземных погребов для хранения плодов более удобны подвальные помещения и заглубленные погреба, которые не требуется строить ежегодно, как бурты. Чтобы поддерживать необходимую температуру, достаточно изолировать их от источников тепла и притока морозного воздуха.

Выполняя соединения и ответвления проводов, помните, что они не должны растягиваться. Кроме того, размещайте таким образом, чтобы в процессе эксплуатации они оставались доступными для осмотра и ремонта.

Различаются разборные и неразборные соединения проводов (в трубах какие-либо соединения запрещены). В первом случае они выполняются с помощью болтов, винтовых соединений, штыревых выводов, во втором – посредством сварки, пайки, опрессовки. Чтобы качество соединения не пострадало, осуществляйте его перед установкой провода в крепление.

Соединяя провода, снимите изоляцию с концов, после чего можно подготовить их к работе, т. е. из отдельных проволочек, составляющих жилу, надо свернуть плотный жгутик и залудить паяльником. Чтобы повысить надежность контакта, жилы можно зачистить наждачной бумагой, на которую нанесен тонкий слой вазелина (смазав зачищенный конец, он не допустит окисления). Используя круглогубцы, загните конец жилы в кольцо (чтобы оно не раскрутилось во время затягивания винта, его следует выполнять по часовой стрелке), совпадающее по диаметру с размером винта зажима. Плотность контакта повысится, если под головку винта надеть пружинную шайбу, потом шайбу-звездочку.

Иллюстрация к книге — Современные подвалы, подполы и погреба [i_046.jpg]

Рис. 39. Разновидности скруток: а – простая параллельная; б – простая последовательная; в – простая с ответвлением


Винт или гайку затягивайте до конца, т. е. пока пружинная шайба полностью не сожмется. На детали контактного соединения должно быть нанесено антикоррозионное покрытие.

При неразборных соединениях зачистите концы, залудите и соедините (рис. 39).

Необходимо правильно соединять концы многожильного провода (рис. 40). После зачистки концов переплетите их косичкой и скрутите.


Вход
Поиск по сайту
Ищем:
Календарь