Книга Современные подвалы, подполы и погреба, страница 27 – Галина Серикова

Авторы: А Б В Г Д Е Ж З И Й К Л М Н О П Р С Т У Ф Х Ч Ш Ы Э Ю Я
Книги: А Б В Г Д Е Ж З И Й К Л М Н О П Р С Т У Ф Х Ц Ч Ш Щ Ы Э Ю Я
Бесплатная онлайн библиотека LoveRead.ec

Онлайн книга «Современные подвалы, подполы и погреба»

📃 Cтраница 27

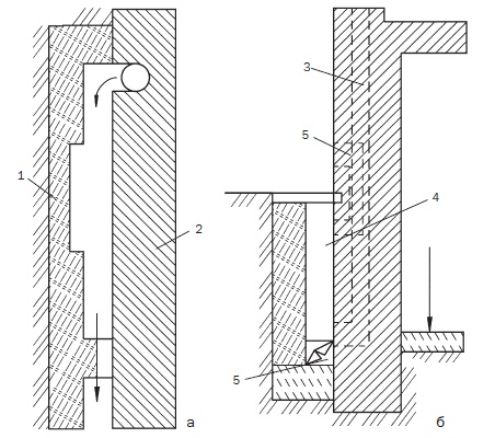
Отступив от наружной стены 15 см, постройте опорную стенку толщиной 30 см, в нескольких местах опирающуюся на фундамент. В стене выполните первый канал диаметром 12–15 см и глубиной 15–20 см, начало которого будет расположено на 5–10 см выше уровня фундамента, а конец – около карниза.

На другом конце кладки выполните второй канал, начало которого должно находиться ниже уровня почвы, а конец – в 40–50 см выше него. Вставьте в каналы дренажные трубки, кладку очистите, оштукатурьте цементно-известковым раствором, воздушную полость, образовавшуюся между стеной и фундаментом, перекройте плитами. Изложенное представлено на рис. 34.

Иллюстрация к книге — Современные подвалы, подполы и погреба [i_040.jpg]

Рис. 34. Создание воздушной полости для вентиляции подвальной стены: а – план; б – разрез; 1 – опорная стенка; 2 – стена подвала; 3 – вентиляционный канал; 4 – воздушная полость; 5 – вентиляционное отверстие


Теплоизоляция более эффективна, если она осуществляется с наружной стороны подвальной стены. При ее размещении внутри стена подвала и цоколь будут контактировать с окружающей средой, увлажняться, и это постепенно скажется на целостности стены и отделки.

В заключение подчеркнем, что степень изоляции определяется и тем, для каких целей будет оборудовано подвальное помещение. Но в любом случае теплоизоляция необходима, поскольку благодаря ей значительно уменьшатся расходы на отопление и будет обеспечена сохранность как подвала, так и всего дома.

Электроснабжение подвала

Без знаний и соблюдения требований и норм невозможно осуществить такое ответственное и важное дело, как электрооборудование подвального помещения. Основные работы по электроснабжению состоят в том, чтобы подвести кабель, смонтировать розетки, выключатели, подключить светильники и другие электроприборы. Для этого потребуются различные инструменты, в частности:

• набор отверток и гаечных ключей, имеющих различные размеры и конфигурацию. С их помощью электроприборы можно разбирать и собирать;

• плоскогубцы и кусачки с изолированными рукоятками, которыми удобно скручивать провода и при необходимости перекусывать их;

• круглогубцы, чтобы на концах проводов делать кольца, без которых нельзя подсоединить их к выключателям, розеткам и другим устройствам;

• бокорезы, чтобы снимать с проводов изоляционный слой;

• нож для зачистки концов провода;

• ножницы по металлу;

• электропаяльник, канифоль, припой, которые необходимы для пайки контактов;

• ножовка по металлу;

• электрическая дрель и набор сверл;

• зубило, долото, пробойник и молоток для выполнения каналов для скрытой проводки и гнезд для электроустройств;

• изоляционная лента;

• метчикоплашкодержатель для нарезки как внутренней, так и наружной резьбы.

При этом не забывайте о том, что инструмент должен быть в исправном состоянии, удобным в использовании, заточенным. От этого зависят не только качество и скорость, но и безопасность выполнения работ.

Помимо названных, при осуществлении электропроводки необходимы специфические инструменты, которые позволят определить фазу, напряжение в сети и приборах. Для первого потребуется специальная отвертка-индикатор. При включении в розетку лампочка в отвертке загорается, что указывает на наличие в сети тока.

Осваиваем пространство ниже нулевой отметки

Высота овощей, уложенных в виде штабеля, не превышает 60 см. При этом кверху он сходит на конус. Сухие охлажденные овощи должны пересыпаться десятисантиметровым слоем песка, а извлеченный из ямы грунт будет выполнять роль защитного покрытия. Когда температура в бурте понизится до 2 °C, то дополнительно подсыпается слой грунта.

Если случается обрыв, то отвертка-индикатор не поможет его обнаружить. Для этой цели предназначается переносная электрическая лампочка, которую вы легко сделаете сами. Достаточно вкрутить лампу в патрон с двумя выведенными наружу проводами. Такое простое приспособление вполне может заменить и отвертку-индикатор. Но помните, что соединение нужно изолировать, тем самым обеспечивая безопасность его использования.

Для электромонтажных работ может понадобиться омметр, перед применением которого надо изучить инструкцию.

Чтобы собрать электросхему, необходимы соответствующие материалы, причем хорошего качества. Речь идет об электропроводах, имеющих определенное сечение и покрытых изоляцией; электроустановочных устройствах, к которым относятся розетки, выключатели, зажимы и пр.; монтажные устройства (крепеж: гвозди, дюбеля, скобы ит. п.; крюки для светильников, коробки и т. д.).

Для электропроводки потребуются кабель различного сечения, медный или алюминиевый провод. Причем медный предпочтителен, поскольку стоек к изгибанию, обладает большей проводимостью тока, не ржавеет, в 2–3 раза прочнее алюминиевого при растяжении. При наличии резиновой изоляции рабочая температура провода составляет 65 °C, в пластмассовой – чуть выше 70 °C. Относительно проводов, прокладывающихся в кабель-каналах, можно сказать, что значение силы в них должно быть выше разрешенного примерно на 10–20 %, поскольку они неизбежно будут нагреваться и повышать температуру друг друга, тем более что скрытая проводка не может обеспечить необходимых условий охлаждения.

Надо правильно подобрать сечение провода. Здесь основным критерием будет максимальное значение силы тока, нагревающего изоляцию. Кроме того, нужно учитывать и механическую нагрузку на провод, которая возникает, например, в контактных зажимах оконечных устройств. Значения силы тока, допустимые для проводов различного сечения, представлены в табл. № 6.

Чтобы правильно выбрать основной провод, изучите технические характеристики устанавливающихся в подвальном помещении приборов, выпишите величину силы, которая для них потребуется, суммируйте значения и найдите по таблице провод соответствующего сечения.

Сечение жил при наличии малых токов зависит от механической прочности проводника. Для алюминиевых жил оно составляет 3 мм2 (при открытой проводке, закрепленной на роликах, не менее 2,5 мм2), для медных – 1 мм2.

Поскольку невозможно представить проводку, выполненную без наращивания, то при этом надо учесть, что алюминиевые провода соединяются труднее, поскольку на воздухе они окисляются и на них образуется твердая пленка, плохо проводящая ток. Перед тем как соединить концы, их следует зачистить, однако она вскоре снова появляется и при пайке мешает соединению с припоем. Температура плавления такой пленки составляет 2000 °C, т. е. в три раза больше температуры плавления самого материала (алюминия).

Помимо названного недостатка, алюминиевый провод обладает низким пределом текучести, который обнаруживается при винтовых зажимах. Вследствие мягкости алюминия контакты в разборных соединениях со временем слабеют. В результате алюминий выступает из-под зажима, тем самым ослабляя контакт.

Вход
Поиск по сайту
Ищем:
Календарь