Книга Современные подвалы, подполы и погреба, страница 14 – Галина Серикова

Авторы: А Б В Г Д Е Ж З И Й К Л М Н О П Р С Т У Ф Х Ч Ш Ы Э Ю Я
Книги: А Б В Г Д Е Ж З И Й К Л М Н О П Р С Т У Ф Х Ц Ч Ш Щ Ы Э Ю Я
Бесплатная онлайн библиотека LoveRead.ec

Онлайн книга «Современные подвалы, подполы и погреба»

📃 Cтраница 14

Кирпичные стены в подвале могут быть сплошными и пустотелыми. В первом случае они возводятся из пустотелого или пористого кирпича, а во втором сначала поднимаются две стенки (версты) в полкирпича, которые в процессе кладки связываются между собой. Образовавшиеся между ними пустоты заполняются керамзитом, шлаком и т. п. Если дом обкладывается облицовочным кирпичом, то к стене подвала кладка фиксируется с помощью металлических стяжек, которые размещаются на расстоянии не более 20 см по вертикали и 90 см по горизонтали. Возникающий при этом промежуток между основной и облицовочной кладками необходимо заполнить строительным раствором.

При выполнении наружных стен подвала из монолитного бетона или кирпича и при условии, что их длина составляет более 25 м, надо устраивать деформационные швы, конструкция которых не допустит просачивания влаги в подвальное пространство.

В стенах подвалов толщиной не более 14 см на участках опирания элементов цокольного перекрытия надо строить пилястры, соединив их по всей высоте со стеной.

Часто в большом подвальном помещении сооружаются внутренние подпорные стены, которые размещаются на расстоянии 3–4 м друг от друга. Они не доходят до потолка и перпендикулярны основной стене.

Осваиваем пространство ниже нулевой отметки

Все необходимое для гидроизоляции подвала выбирается на основе данных гидрогеологической экспертизы. Материалы с различными добавками обеспечивают им дополнительную водонепроницаемость, устойчивость к морозам и трещинообразованию. Кроме того, система гидроизоляции одновременно должна выполнять функцию антикоррозийного покрытия, и современные средства этому соответствуют.

Вентиляция подвала

Спустившись в подвал, вы сразу же сможете определить состояние вентиляционной системы. На недостаточность или даже отсутствие ее укажут спертый воздух, ощущение сырости, конденсат и плесень на стенах. Чтобы не допустить подобного, необходимо заблаговременно позаботиться о вентиляции подвального помещения.

Вентиляция представляет собой «ряд взаимосвязанных устройств и процессов, предназначенных для создания организованного воздухообмена с целью обеспечения нормальных условий». Комплексная система вентиляции дома должна быть продумана при разработке проекта, причем она различается в зависимости от материала, из которого выполняются стены надземной части дома. В этом отношении деревянные стены находятся вне конкуренции, поскольку «дышат». При кирпичных стенах процесс естественного воздухообмена значительно осложнен и требует проведения специальных мероприятий.

Говоря о вентиляции дома, начинать необходимо с фундамента, так как от его состояния зависит благополучие всей конструкции. В том случае если в доме не будет подвала, достаточно в цокольной части оставить продухи (рис. 19), через которые в подполье будет поступать свежий воздух, а мелкоячеистая решетка, закрывающая их, не допустит проникновения в дом грызунов и т. п.

Иллюстрация к книге — Современные подвалы, подполы и погреба [i_023.jpg]

Рис. 19. Вентиляционные отверстия в цокольной части дома


В доме с подвалом необходимо вентилировать именно его (рис. 20).

Иллюстрация к книге — Современные подвалы, подполы и погреба [i_024.jpg]

Рис. 20. Вентиляция в подвале: 1 – монолитные бетонные стены; 2 – бетонный пол; 3 – продухи в цоколе; 4 – направление движения воздуха; 5 – отмостка; 6 – грунт


Если вы внимательно рассмотрите рис. 20, то заметите, что продухи (110 × 150 мм) на противоположных сторонах расположены на разном уровне, благодаря чему создается перепад атмосферного давления, что приводит воздушные массы в помещении в движение и обеспечивает проветривание подвального помещения. Поэтому влага будет испаряться, а воздух в подвале останется сухим, и на его стенах не появится грибок.

Для вентиляции подвала необходимо предусматривать специальные каналы и устраивать их в дымовентиляционных блоках, которые выходят за пределы крыши.

Наименьшее сечение такого канала в кирпичной стене составляет 140 × 140 мм. Один из них приточный (начинается у пола), другой вытяжной (начинается у потолка), и располагаются они на противоположных сторонах подвала. Установку каналов не отделяют от основной работы, а выполняют одновременно с кладкой капитальной стены. Толщина стен и перегородок внутри каналов составляет не менее половины кирпича.

Поскольку подвалы не всегда бывают полностью заглубленными, помимо вытяжных вентиляционных каналов, согласно СНиПу 31-01-2001 в подвальном помещении должно быть размещено окно, которое не только дополнительно будет способствовать вентилированию, но и пропускать в подвал естественный свет. С наружной стороны у окна необходимо выполнить приямок (рис. 21).

Иллюстрация к книге — Современные подвалы, подполы и погреба [i_025.jpg]

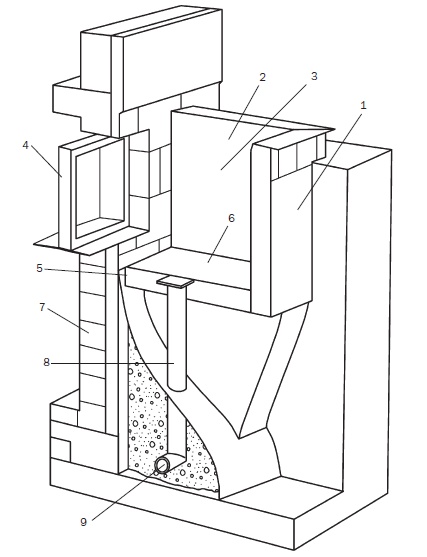
Рис. 21. Конструкция приямка (разрез): 1 – слой гидроизоляции; 2 – бетонный приямок; 3 – внутренняя стенка приямка, выкрашенная белой краской; 4 – окно подвала; 5 – компенсационный шов; 6 – бетонный пол; 7 – стена подвала; 8 – водоотвод; 9 – дренажная труба


Во избежание несчастного случая он закрывается решеткой. Чтобы в подвал через окно не поступала вода, в приямке выполняется водоотвод в ливневую канализацию.

Чтобы контролировать влажность воздуха в подвале, особенно если он используется для хранения овощей, необходимо иметь в нем специальный прибор – психометр. Его можно приобрести или сделать самостоятельно из двух спиртовых термометров (ртутные в подвальных помещениях использовать вообще не рекомендуется), закрепив их на одной подставке. При этом один остается сухим, а конец второго погружается в емкость с дистиллированной водой (рис. 22).

Иллюстрация к книге — Современные подвалы, подполы и погреба [i_026.jpg]

Рис. 22. Психометр: а – самодельный; б – заводского производства


У влажного термометра показания ниже, чем у сухого, поскольку влага сего поверхности постоянно испаряется, затрачивая при этом тепло. Выяснив разницу между показаниями, с помощью специальной табл. № 4 вы всегда сможете определить относительную влажность воздуха в помещении.


Таблица № 4

Определение относительной влажности воздуха

Иллюстрация к книге — Современные подвалы, подполы и погреба [i_027.jpg]
Гидроизоляция подвала

Вероятно, нет такого человека, который бы не задавался вопросом, откуда в сухом подвале вдруг появилась вода. Это одинаково волнует и тех, кто держит в нем картофель, и тех, кто ставит в него машину, и др. Если стены подвала не просыхают, то не избежать повышенной влажности во всем доме.

Вход
Поиск по сайту
Ищем:
Календарь