Книга Современные подвалы, подполы и погреба, страница 13 – Галина Серикова

Авторы: А Б В Г Д Е Ж З И Й К Л М Н О П Р С Т У Ф Х Ч Ш Ы Э Ю Я
Книги: А Б В Г Д Е Ж З И Й К Л М Н О П Р С Т У Ф Х Ц Ч Ш Щ Ы Э Ю Я
Бесплатная онлайн библиотека LoveRead.ec

Онлайн книга «Современные подвалы, подполы и погреба»

📃 Cтраница 13

Если закладывается мелкозаглубленный фундамент, то при постройке подвала следует предусмотреть достаточное и поэтому безопасное расстояние от стен подвала до внутренней вертикальной грани фундамента. Это предотвратит воздействие оседающего под нагрузкой грунта на стенки подвала. Расстояние определяется рядом факторов. Среди них величина отметки подвала и подошвы фундамента, среднего давления под ней; свойства грунта. Если расстояние между фундаментом и стеной подвала потребуется уменьшить, то ее надо рассчитать на прочность, потому что будут воздействовать значительные силы: боковое давление от расширения мерзлого грунта и гидростатическое давление грунтовых вод.

Стены подвала

Если проектом дома предусмотрено подвальное помещение, то обычно его стены совпадают с заглубленным ленточным фундаментом несущих стен, а потолок представляет собой цокольное перекрытие. Как мы уже говорили, подвал делают высотой 190–220 см, и этого вполне достаточно, чтобы расположить в нем подсобные помещения различного предназначения, например кладовую, котельную и т. п. Но если в подвале предполагается устроить тренажерный зал, то высота его должна быть увеличена до высоты жилых помещений или даже больше.

Стены подвала могут иметь разную толщину, это определяется материалом, который используется для их возведения, типом перекрытия, глубиной подвала (при заглублении стен в грунт более чем на 1 м толщина стен должна устанавливаться с учетом бокового давления грунта) и длиной стены.

Предлагаем ориентированные данные для прямоугольного в плане подвального помещения, закладывающегося в непучинистых грунтах (табл. № 2).

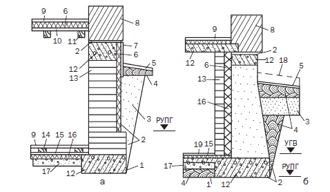
В зависимости от характера грунта фундамент, являющийся одновременно стенами подвала, должен выкладываться из разного материала. Если грунт непучинистый, то можно использовать кирпич, бутовый камень, бетонные блоки; в пучинистых грунтах целесообразнее заложить бетонный или железобетонный фундамент (рис. 18), но независимо от этого отметка верха подвальных стен должна располагаться, как минимум, в 15 см от планировочной отметки земли.


Таблица № 2

Наименьшая толщина стен подвала, заложенного в непучинистых грунтах

Иллюстрация к книге — Современные подвалы, подполы и погреба [i_019.jpg]

При отделке наружных стен первого этажа деревом или штукатуркой по деревянной обрешетке их нижняя отметка должна находиться не менее чем в 25 см от поверхности земли.

Иллюстрация к книге — Современные подвалы, подполы и погреба [i_020.jpg]

Рис. 18. Устройство стен (фундамента) подвала (РУПГ – расчетный уровень промерзания грунта, УГВ – уровень грунтовых вод): а – в непучинистых грунтах; б – в пучин истых грунтах; 1 – материковый грунт; 2 – слой гидроизоляции; 3 – насыпной грунт; 4 – глиняный замок; 5 – отмостка; 6 – слой теплоизоляции; 7 – асбоцементный лист; 8 – стена дома; 9 – чистый пол; 10 – черный пол; 12 – балка; 13 – кирпич (бетонные блоки, бутовый камень); 14 – лаги; 15 – цементная стяжка; 16 – бетон; 17 – щебень; 18 – уровень отмостки при замерзании грунта; 19 – пол подвала


При строительстве небольших индивидуальных домов профессионалы рекомендуют проработать вариант заложения монолитного фундамента, вертикальные конструкции которого станут стенами подвала и плавно перейдут в цоколь. В таких случаях закладывается ленточный фундамент, под который выкапывается траншея глубиной примерно 2 м. Одновременно для фундамента (стен) и цоколя в ней монтируется опалубка (она может быть и передвижной щитовой, изготовленной из досок толщиной 40 мм и длиной 150 см), в которую заливается бетон. Благодаря такому методу подвал будет иметь прочные цельнолитые стены.

После того как бетон застынет и опалубка будет снята, изнутри извлекается грунт, под стенами примерно на половину ширины делается подкоп, после чего все пространство, освобожденное от грунта, покрывается песчано-щебеночной или песчано-гравийной смесью, выравнивается, уплотняется, армируется, и заливается бетонный пол.

По сравнению с монолитной бетонной стеной кладка ее из бетонных блоков не потребует устройства опалубки и уменьшит расход бетона примерно на 40–45 %. При этом блоки следует класть пустотами вверх и заполнять их мергелем или измельченной глиной до достижения стеной уровня земли, что еще более повысит водонепроницаемость кладки.

Стены, сложенные из штучного материала (кирпича, бетонных блоков), требуют усиления их прочности, и это достигается тем, что в процессе кладки через каждые 30–40 см в горизонтальные швы вкладывается арматурная сетка. Кроме того, по периметру стен (вверху и внизу) надо формировать железобетонные пояса.

Подземные части сооружения (глубина заложения, прочностные характеристики, деформативность и долговечность) должны соответствовать требованиям действующего СНиПа «Дома жилые одноквартирные».

Осваиваем пространство ниже нулевой отметки

Если в подвале вы планируете устроить кухню, то необходимо помнить, что это возможно только в том случае, если для приготовления пищи и устройства отопления будет использоваться магистральный газ. При применении с этой целью сжиженного газа от подвального или полуподвального помещений следует отказаться, поскольку пропан тяжелее воздуха и при утечке может накапливаться в плохо проветривающихся нижних этажах, что грозит взрывом.

Согласно строительным нормам для стен подвала необходим бетон классом не ниже 12,5 по прочности на сжатие или сборные бетонные блоки (из бетона того же класса), или кирпич (камень). Чтобы было легче ориентироваться в соотношении между классами бетона по прочности и его марками, предлагаем табл. № 3.


Таблица № 3

Классы бетона по прочности и его марки

Иллюстрация к книге — Современные подвалы, подполы и погреба [i_021.jpg]

Таблица № 3 (продолжение)

Иллюстрация к книге — Современные подвалы, подполы и погреба [i_022.jpg]

При возведении стен из бетонных блоков, бутового камня, бутобетона и кирпича следует руководствоваться технологией по устройству ленточного фундамента из этих материалов. Главное отличие между ними состоит в необходимости создания качественной гидроизоляции. Для этого стены подвала традиционно оштукатуриваются цементно-песчаным раствором (1:2 или 1:3) и оклеиваются двумя слоями рубероида, посаженного на горячую битумную мастику. Снаружи стены покрываются горячим битумом (относительно других способов гидроизоляции см. ниже).

Если стены подвала выполняются из бутового камня, то они одновременно обкладываются в полкирпича. Для перевязки облицовки и кладки через 4–7 рядов укладываются тычковые ряды.

Вход
Поиск по сайту
Ищем:
Календарь