Книга Водоснабжение, канализация и отопление загородного дома, страница 26 – Иван Никитко

Авторы: А Б В Г Д Е Ж З И Й К Л М Н О П Р С Т У Ф Х Ч Ш Ы Э Ю Я
Книги: А Б В Г Д Е Ж З И Й К Л М Н О П Р С Т У Ф Х Ц Ч Ш Щ Ы Э Ю Я
Бесплатная онлайн библиотека LoveRead.ec

Онлайн книга «Водоснабжение, канализация и отопление загородного дома»

📃 Cтраница 26
Иллюстрация к книге — Водоснабжение, канализация и отопление загородного дома [i_075.jpg]

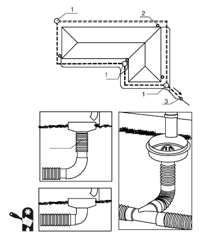
Рис. 2.10.Ливневая канализация: 1 – воронка под водосточную трубу; 2 – коллекторный колодец; 3 – дренажный колодец; 4 – колодец для дождевой воды; 5 – сброс воды в грунт; 6 – обратный клапан


Ливневая канализация может быть как открытой, так и закрытой. При открытой ливневой канализации для сбора и отвода воды используются открытые канализационные каналы (в простейшем варианте – канавки с уклоном в сторону улицы). При закрытой ливневой канализации эти каналы являются закрытыми (для этого используются трубы, чаще всего бетонные или полиэтиленовые). Может использоваться и ливневая канализация смешанного типа – с открытыми и закрытыми канализационными каналами.

Грамотный расчет ливневой канализации – дело непростое. Следует учитывать множество факторов, начиная от погодных условий (среднегодовое количество осадков в данной местности, количество солнечных и пасмурных дней, температура и т. д.) и заканчивая типом грунта на участке. Немаловажное значение имеет и глубина залегания грунтовых вод, наличие или отсутствие на участке автономной системы водоснабжения (колодца или скважины) и многое другое. Нужно рассчитать планируемое количество талых и дождевых вод, которые будут поступать не только с самого участка, но и на участок – с прилегающих территорий (к примеру, если участок располагается в довольно низком месте, то на него будут попадать все воды с более высоких мест). Лучше всего доверить такой расчет специалистам, потому что, занимаясь планированием ливневой канализации самостоятельно, можно получить довольно дорогостоящую систему, которая не будет эффективно работать.

Именно потому, что полноценная ливневая канализация является дорогостоящим и относительно сложным оборудованием, владельцы загородных домов предпочитают ограничиваться «урезанным» вариантом.

В случае небольшого дачного или загородного дома ливневая канализация представляет собой несколько канав, прокопанных до улицы. В эти канавы могут быть вмонтированы пластиковые желоба, или канавы могут быть забетонированы (устраиваются бетонные желоба), а могут быть оставлены как есть (в случае глинистых плотных грунтов).

Если участок достаточно велик и на нем собирается много талых и дождевых вод, то перекапывать его разнообразными канавками – не слишком хорошая идея. Проще установить закрытую систему ливневой канализации в упрощенном виде: уложить в выкопанные канавки трубы, которые будут доставлять талые и дождевые воды за пределы участка (Рис. 2.11). При этом коллекторный колодец находится уже за пределами участка и является частью общественной системы ливневой канализации.

При устройстве ливневой канализации закрытого типа необходимо учесть возможную нагрузку на трубы (например, будет над трубами расположена пешеходная или подъездная дорожка, то есть придется ли трубам выдерживать вес человека либо автомобиля). Цена труб различается в зависимости от предполагаемой нагрузки, а соответственно, изменяется стоимость монтажа ливневой канализации.

Иллюстрация к книге — Водоснабжение, канализация и отопление загородного дома [i_076.jpg]

Рис. 2.11.Устройство ливневой канализации: 1 – дренажный колодец; 2 – воронка для сбора воды с крыши; 3 – коллекторный колодец

Глава 3
Отопление загородного дома

Жилой дом должен иметь систему отопления – это аксиома. Если отопительной системы нет, то это означает не только определенное неудобство проживания (к примеру, если дом используется сезонно – только в теплое время года, то о неудобствах проживания говорить не приходится), но и уменьшение безремонтного срока эксплуатации самого дома: сырость и перепады температуры разрушают стены, кровлю и фундамент. Так что загородный дом желательно снабдить системой теплоснабжения даже в том случае, если вы не планируете проживание в нем в холодные периоды – в таких случаях рекомендуется периодически приезжать и протапливать дом.


Система теплоснабжения включает в себя:

✓ источник теплоты;

✓ трубопроводы;

✓ системы потребления тепла с нагревательными приборами.


Системы теплоснабжения разделяют по радиусу действия:

✓ местные системы теплоснабжения – это системы, в которых совмещается выработка и передача тепла (к примеру, печь, которая является одновременно источником теплоты и нагревательным прибором);

✓ центральные системы теплоснабжения – они снабжают теплом здание любой величины от единого источника (таким источником обычно является отопительный котел);

✓ централизованные – предназначены для снабжения теплом нескольких зданий.


Чаще всего применяется совмещенная прокладка теплопроводов, то есть они прокладываются в проходных каналах вместе с остальными коммуникационными соединениями (водопровод, электрокабели, газопровод). В таких каналах высотой 1,8–2 м обязательно предусматривается вентиляция, а люки выхода устанавливаются по трассе канала через каждые 300 м на глубине 0,5–1 м. Все люки снабжаются откидной лестницей.

Трубопроводы тепловых сетей выполняются из стальных труб диаметром 0,025–0,4 м, устанавливаемых с уклоном 0,002. Вверху размещаются воздухоспусковые устройства, а внизу – дренажные спуски. Запорная арматура располагается на каждом из ответвлений трубопроводов в точках присоединения к магистрали и отдельному зданию.

Внешняя часть теплотрассы (если она требуется – в случае подключения к централизованному источнику) выполняется специалистами, а вот внутренняя требует пристального внимания домовладельца, так как внутри дома система отопления состоит из котла, трубопроводов и радиаторов и от выбора этих элементов зависит не только качество и стоимость сооружения системы теплоснабжения, но и долговременность ее работы, а также – что очень важно – стоимость эксплуатации.

Планируя систему отопления, следует задуматься, какова она будет: с естественной или принудительной циркуляцией теплоносителя.

В системах с принудительной циркуляцией теплоносителя (это может быть как вода, так и антифриз) теплоноситель движется по трубам и отопительным радиаторам под действием циркуляционного насоса. Системы с естественной циркуляцией еще называют гравитационными, так как теплоноситель при подобной схеме осуществляет движение под действием силы тяжести, за счет разницы плотности теплоносителя в подающей и обратной линиях, так как в подающей линии теплоноситель горячий, а в обратную поступает уже остывшим, холодным. Но при этом отопительные приборы должны располагаться выше котла хотя бы на 0,5 м, то есть при использовании гравитационной системы отопления практически невозможно или очень сложно обеспечить отопление того этажа, где расположен котел. Поэтому котел приходится располагать в подвале или гараже (если первым уровнем дома является гараж), при этом данные помещения будут неотапливаемыми.

Реклама
Вход
Поиск по сайту
Ищем:
Календарь