Книга Водоснабжение, канализация и отопление загородного дома, страница 11 – Иван Никитко

Авторы: А Б В Г Д Е Ж З И Й К Л М Н О П Р С Т У Ф Х Ч Ш Ы Э Ю Я
Книги: А Б В Г Д Е Ж З И Й К Л М Н О П Р С Т У Ф Х Ц Ч Ш Щ Ы Э Ю Я
Бесплатная онлайн библиотека LoveRead.ec

Онлайн книга «Водоснабжение, канализация и отопление загородного дома»

📃 Cтраница 11
Иллюстрация к книге — Водоснабжение, канализация и отопление загородного дома [i_027.jpg]

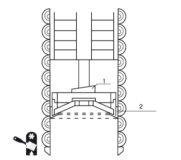
Рис. 1.12.Башмак в нижней части сруба: 1 – клин; 2 – башмак


Чтобы гарантировать строго вертикальный ход сруба в колодезной шахте, можно применять специальные направляющие (Рис. 1.13). Угловые направляющие изготавливаются из толстых досок и крепятся гвоздями к каждому венцу сруба. Посередине каждой стороны сруба устанавливаются дополнительные средние направляющие, также изготовленные из толстых досок и прикрепленные гвоздями к каждому венцу сруба. Средние направляющие придают всей конструкции дополнительную жесткость, что позволяет сохранять строгую вертикальность при опускании сруба. После того как все направляющие установлены, к ним вплотную укладываются толстые бревна, а в углы вбиваются длинные колья. Подобная конструкция гарантирует, что сруб будет идти в шахту без перекосов.

Иллюстрация к книге — Водоснабжение, канализация и отопление загородного дома [i_028.jpg]

Рис. 1.13.Направляющие для гарантии вертикального осаживания сруба в колодезной шахте: 1 – угловые направляющие; 2 – дополнительная средняя направляющая; 3 – бревна; 4 – колья

Иллюстрация к книге — Водоснабжение, канализация и отопление загородного дома [i_029.jpg]

Примечание

Конструкция направляющих после завершения работ из шахты не извлекается, а остается в грунте.

При рыхлом и сыпучем грунте могут возникать проблемы при осаживании сруба колодца в шахту – он застревает. В этом случае приходится ударять по верхнему венцу, чтобы миновать проблемное место. Это не всегда помогает, и, чтобы продолжить осаживание сруба, приходится сооружать на верхнем венце платформу для груза. Масса груза может составлять несколько тонн, и под таким весом сруб оседает. Но бывает, что и такое давление не дает результата, и тогда сооружение колодца выполняется самым сложным и непроизводительным способом – наращиванием сруба снизу. При этом в стенках шахты необходимо устраивать углубления для закладывания концов бревен (эти углубления называются «закладами» или «печурами»), выступающих за габариты сруба на 50–70 мм, – для наращивания сруба снизу через каждые 4–5 венцов делается венец, имеющий такие выступающие бревна («пальцы»). «Пальцы» поджимаются в углублениях домкратами и подклиниваются. Подобный способ применим только в том случае, если грунт достаточно плотный. В рыхлых грунтах и плывунах наращивание сруба снизу невозможно, так как нельзя надежно закрепить «пальцы» в грунте. Поэтому прежде чем браться за строительство деревянного колодца, необходимо определить, с каким грунтом придется иметь дело, и, исходя из этого, выбирать способ монтажа сруба в шахте колодца.

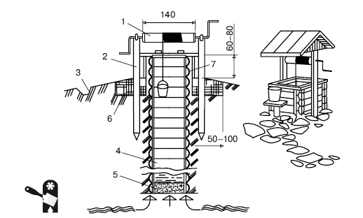
После того как закончены работы в шахте, сруб наращивается над поверхностью земли на 0,6–0,8 м. Эта надземная конструкция называется оголовком колодца (Рис. 1.14). Оптимально, если он снабжен крышкой или навесом, чтобы исключить попадание в колодец мусора.

Иллюстрация к книге — Водоснабжение, канализация и отопление загородного дома [i_030.jpg]

Рис. 1.14.Оголовок колодца и способы подъема воды

Иллюстрация к книге — Водоснабжение, канализация и отопление загородного дома [i_031.jpg]

Внимание

Если вода в колодце предназначена для питья, то крышка обязательна!

Вокруг оголовка сооружается отмостка. Ее строительство рекомендуется начинать не ранее чем через два года после завершения строительства колодца – из-за возможной усадки грунта. После того как грунт осядет, по периметру оголовка устраивается глиняный замок глубиной 1–1,5 м и шириной около 0,5 м, а поверх замка строится отмостка. Проще всего и надежнее соорудить отмостку из железобетона.

Готовый шахтный колодец из дерева выглядит таким образом (Рис. 1.15).

Иллюстрация к книге — Водоснабжение, канализация и отопление загородного дома [i_032.jpg]

Рис. 1.15.Деревянный шахтный колодец: 1 – ворот; 2 – спайка; 3 – водоотводная труба; 4 – сруб; 5 – гравийная подушка; 6 – глиняный замок; 7 – обшивка оголовка колодца (выполняется из досок)

Бетонный колодец

Основной недостаток деревянных колодцев – сложность их строительства. Поэтому теперь их строят редко. Гораздо чаще сооружаются бетонные колодцы. Срок их службы – около 25 лет, а стоимость существенно ниже стоимости деревянных. К тому же бетонные колодцы гораздо проще строить. Бетонный колодец может быть выполнен из железобетонных колец, построен с помощью монолитного литья или сооружен из бетонных пластин.

Наиболее распространенный вариант – колодцы из железобетонных колец. Такие колодцы очень просто монтируются (особенно по сравнению с деревянными), и даже над материалом не нужно особенно задумываться: бетонные кольца приобретаются готовыми. Колодец из железобетонных колец можно построить буквально за несколько дней, а при легком грунте и наличии опыта в строительстве колодцев – даже за один день.

Чаще всего для железобетонных колодцев используются кольца типа КС 10-9 (высота – 900 мм, внутренний диаметр – 1000 мм, внешний диаметр – 1160 мм, вес – 700–750 кг). Возможно использование колец и других размеров: с высотой 400–900 мм (легче устанавливать кольца с меньшей высотой), внутренним диаметром 1000–1200 мм аналогичного типа. Кольца выбираются в зависимости от запланированного размера колодца и личных предпочтений (кто-то предпочитает железобетонные кольца, а кто-то просто бетонные – у этих колец разная толщина (50–90 мм и 80–120 мм соответственно) (Рис. 1.16).

Иллюстрация к книге — Водоснабжение, канализация и отопление загородного дома [i_033.jpg]

Рис. 1.16.Стандартное железобетонное кольцо типа КС 10-9 ГОСТ 8020-90


Бетонные и железобетонные кольца изготавливаются в двух вариантах: с замками (такие кольца парные: на одном выемка, а на втором бортик, соответствующий по размерам выемке первого кольца) и без них, с гладкими плоскими торцами. Рекомендуется для сооружения колодцев использовать кольца с замками – таким образом минимизируются подвижки колец относительно друг друга в водонасыщенных «плавающих» грунтах, в то время как обычные гладкие кольца могут быть просто выломаны из конструкции. Для фиксации плоских колец в конструкции колодезной шахты необходимо использовать стальные скобы. Толщина скоб – около 5 мм, ширина – от 50 до 80 мм. Форма скоб может быть различной (Рис. 1.17).

Реклама
Вход
Поиск по сайту
Ищем:
Календарь