Онлайн книга «Водоснабжение, канализация и отопление загородного дома»
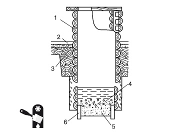
![]() Рис. 1.8.Сруб из деревянных пластин: 1 – колодезный сруб; 2 – отмостка; 3 – глиняный замок; 4 – щебень; 5 – песок; 6 – короб для песчано-гравийного фильтра ![]() Внимание Ни в коем случае нельзя использовать для сооружения колодезного сруба древесину, прошедшую какую-либо химическую обработку: против возгорания, появления гнили, грибков и т. д. – вода из такого колодца непригодна для использования. Все поверхности древесины, которые будут обращены внутрь колодца и будут иметь постоянный контакт с водой или находиться в условиях повышенной влажности, должны быть тщательно обработаны до гладкости. Не допускаются сколы, заусенцы, шероховатости, отщепления, другие дефекты – любая неровность поверхности приводит к скапливанию воды и грязи и, как следствие, к ускорению гниения древесины, а также к снижению качества воды. Обычно деревянные колодцы имеют в сечении квадратную форму – соединение бревен под прямым углом является наиболее прочным и плотным. Чаще всего стороны колодца выбираются длиной 1 м, но бывает, что и больше и меньше – от 70 см до 1,4 м. Соединение бревен в углах выполняется так же, как при строительстве домов, – «в лапу» либо «в чашу». Соединение «в чашу» применяется редко, так как при этом могут оставаться свободные концы бревен, выходящие за пределы стен. Это соединение используется только в том случае, если колодец сооружается не опускным способом (при опускании колодезного сруба в шахту выступающие концы бревен не только замедляют и затрудняют работу, но и могут привести к развалу сруба). Следует заметить, что сооружение колодезного сруба из бревен – работа нелегкая, требующая определенного (и немалого) мастерства и навыков. Небольшая ошибка в том же соединении бревен – и окажется, что вся работа была напрасной, а колодец непригоден для использования из-за просачивания грунтовых вод. Проще изготавливать сруб не из бревен, а из пластин или брусьев, также можно применять толстые доски. Угловые соединения сруба из пластин, брусьев или досок выполняются так же, как и в срубе из бревен (Рис. 1.9). Первая сборка сруба осуществляется на поверхности, при этом каждый его венец маркируется для последующего монтажа в подготовленной шахте. Самый простой вариант – это если колодец неглубок (до 6 м) и шахта может быть сразу отрыта на нужную глубину. В этом случае подготовленный сруб просто монтируется в готовом котловане – так называемое возведение сруба со дна колодезной шахты. При этом пазы между венцами сруба должны быть заполнены жирной глиной – это предотвращает просачивание воды. Чаще всего сруб таким образом возводится на раме-основании, которая укрепляется на дне шахты. Возможен также вариант с монтажом пола: сначала на дне шахты размещаются лежни (распиленные вдоль бревна), которые служат основанием пола, а затем монтируется сруб. ![]() а ![]() б Рис. 1.9.Варианты соединения углов сруба: а – соединение в простую «лапу»; б – соединение в косую «лапу» Гораздо сложнее, если сруб нужно опускать в шахту и при этом котлован под ним приходится углублять – это опускное крепление с наращиванием сруба сверху по мере погружения. Такая работа тяжелая и непростая, требующая участия минимум двоих человек – один работает на поверхности, а второй в котловане (а когда котлован подходит к водоносному горизонту и приходится поднимать мокрый тяжелый грунт, то и больше). Хорошо, если колодец относительно неглубок, а грунт плотный – в этом случае можно осуществлять опускное крепление с наращиванием сруба сверху, опуская его на веревках. Над шахтой устанавливается рама из бревен, сруб подвешивается к раме в шахте на небольшой высоте от дна (от 0,5 до 1 м), при этом веревки подводятся серединой под углы сруба, а затем закрепляются на бревнах рамы несколькими витками (не менее 5 штук), грунт выбирается из-под него, а при ослаблении веревок сруб постепенно опускается в шахту. В процессе опускания необходимо производить проверку вертикальности: поскольку между срубом и стенками шахты имеется зазор, то можно перемещать сруб, наклонять его, чтобы соблюсти строгую вертикальность в его размещении в колодезной шахте (Рис. 1.10). ![]() Рис. 1.10.Опускание сруба в шахту колодца на веревках: 1 – шахта колодца; 2 – рама из бревен; 3 – сруб; 4 – веревки Если же колодец глубок, то работы усложняются. В этом случае нельзя применять опускание сруба на веревках. Сначала шахта углубляется в грунт на 3–4 м, дно ее выравнивается (выравнивание должно быть абсолютно строгим, в противном случае колодезный сруб окажется перекошенным) и на нем начинается монтаж сруба. Сруб монтируется до тех пор, пока не достигнет высоты 0,5 м выше уровня грунта (для бревенчатого сруба это три венца). При наращивании сруба венцы скрепляются между собой досками, которые удаляются после того, как сруб готов, – доски служат временным креплением, предотвращающим отрыв венцов друг от друга по мере наращивания сруба. Затем подрывается грунт в середине каждой стены (глубина – около 0,2–0,3 м) и стены подклиниваются. Только после этого производится выемка грунта в углах сруба. Для облегчения выемки грунта из глубокой шахты можно установить специальную опору с лебедкой. При этом один человек работает в шахте, загружая грунт в тару (в ведро или бочку), а второй (или двое – в зависимости от веса поднимаемого на поверхность грунта) работает наверху (Рис. 1.11). ![]() Рис. 1.11.Опорная вышка для подъема грунта из глубокой шахты После того как грунт извлечен, клинья, подпирающие стены сруба, убираются и сруб равномерно осаживается на отрытую глубину, равномерность осаживания контролируется с помощью отвеса. Для того чтобы облегчить осаживание сруба в шахту, его дно можно снабдить башмаком с режущим стальным ножом (Рис. 1.12). |
![Иллюстрация к книге — Водоснабжение, канализация и отопление загородного дома [i_021.jpg] Иллюстрация к книге — Водоснабжение, канализация и отопление загородного дома [i_021.jpg]](img/book_covers/049/49376/i_021.jpg)
![Иллюстрация к книге — Водоснабжение, канализация и отопление загородного дома [i_022.jpg] Иллюстрация к книге — Водоснабжение, канализация и отопление загородного дома [i_022.jpg]](img/book_covers/049/49376/i_022.jpg)
![Иллюстрация к книге — Водоснабжение, канализация и отопление загородного дома [i_023.jpg] Иллюстрация к книге — Водоснабжение, канализация и отопление загородного дома [i_023.jpg]](img/book_covers/049/49376/i_023.jpg)
![Иллюстрация к книге — Водоснабжение, канализация и отопление загородного дома [i_024.jpg] Иллюстрация к книге — Водоснабжение, канализация и отопление загородного дома [i_024.jpg]](img/book_covers/049/49376/i_024.jpg)
![Иллюстрация к книге — Водоснабжение, канализация и отопление загородного дома [i_025.jpg] Иллюстрация к книге — Водоснабжение, канализация и отопление загородного дома [i_025.jpg]](img/book_covers/049/49376/i_025.jpg)
![Иллюстрация к книге — Водоснабжение, канализация и отопление загородного дома [i_026.jpg] Иллюстрация к книге — Водоснабжение, канализация и отопление загородного дома [i_026.jpg]](img/book_covers/049/49376/i_026.jpg)