Книга Солнечное вещество и другие повести, а также Жизнь и судьба Матвея Бронштейна и Лидии Чуковской (сборник), страница 33 – Матвей Бронштейн, Геннадий Горелик

Авторы: А Б В Г Д Е Ж З И Й К Л М Н О П Р С Т У Ф Х Ч Ш Ы Э Ю Я
Книги: А Б В Г Д Е Ж З И Й К Л М Н О П Р С Т У Ф Х Ц Ч Ш Щ Ы Э Ю Я
Бесплатная онлайн библиотека LoveRead.ec

Онлайн книга «Солнечное вещество и другие повести, а также Жизнь и судьба Матвея Бронштейна и Лидии Чуковской (сборник)»

📃 Cтраница 33

Герц соединил цинковые шары с полюсами катушки Румкорфа и включил на несколько минут высокое напряжение. Между латунными шариками тотчас же заструилась электрическая искра. Она горела яркой трещащей ленточкой, горела и не гасла – все время, пока работала катушка Румкорфа.

Именно такие бегущие непрерывным потоком, негаснущие искры нужны были Герцу, чтобы приступить к изучению магнитного поля, которое невидимо колеблется вокруг них.

Герц взял длинную медную проволоку и согнул ее так, чтобы получился почти полный круг, круг с небольшим перерывом: один конец проволоки оказался на расстоянии двух миллиметров от другого. Этот медный круг он положил на табуретку рядом с тем самым столом, где стояли цинковые шары. Затем он включил высокое напряжение.

Иллюстрация к книге — Солнечное вещество и другие повести, а также Жизнь и судьба Матвея Бронштейна и Лидии Чуковской (сборник) [i_066.jpg]

Катушка Румкорфа, разрядник и разомкнутый проволочный круг


Блестящая искра вспыхнула между латунными шариками. Но Герц на нее не смотрел. Не спуская глаз, он смотрел на медный проволочный круг, лежавший на табуретке. Он увидел: в перерыве между концами изогнутой проволоки тоже сверкают искры, крохотные искорки, прыгающие одна за другой через двухмиллиметровый промежуток.

Медный круг не соединен с катушкой Румкорфа. К нему не подается электрическое напряжение. Он лежит на самой простой, самой обыкновенной деревянной табуретке. Почему же и в нем вспыхивают искры?

Герц выключил катушку Румкорфа, подававшую высокое электрическое напряжение к цинковым шарам. Блестящая искра в разряднике погасла. И вслед за нею сейчас же погасли мелкие искорки в промежутке между концами разомкнутого проволочного круга.

Снова включил Герц катушку Румкорфа. В разряднике снова вспыхнула искра. И в то же самое мгновение показались и таинственные искорки в проволочном круге.

Сомнений быть не могло: медный проволочный круг мелкими искорками отвечает на искру, появляющуюся в разряднике. Вспыхнула искра в разряднике на столе – загораются искорки и в перерыве проволочного круга на табуретке, погасла искра на столе – гаснут искорки и на табуретке.

Почему же загораются искорки в перерыве между концами проволочной дуги? И почему они гаснут?

Герц знал почему: ведь вокруг искры в разряднике колеблется магнитное поле. Электромагнитные колебания, невидимые электромагнитные волны, струятся во все стороны от разрядника. Они растекаются по комнате, они бегут по всем направлениям – к полу, к стенам, к потолку. Люди не видят их, не слышат, не чувствуют. Но разомкнутый проволочный круг их заметил сейчас же. Электромагнитные волны, упавшие на проволоку, возбудили в ней электрический ток. И через перерыв в проволоке немедленно посыпались искры.

Герц немного отодвинул табуретку от стола и снова пропустил сквозь разрядник искру. И что же? Проволочный круг снова ответил на нее искорками, но на этот раз искорки были гораздо слабее и тоньше, чем прежде. Очевидно, электромагнитные волны, растекаясь во все стороны от искры в разряднике, становятся чем дальше от искры, тем слабее.

Герц отодвинул табуретку еще на шаг. Искорки стали еще бледнее и тоньше, но все-таки они появлялись.

И только когда Герц отодвинул табуретку в другой угол комнаты, на расстояние двух с половиной метров от разрядника, искорки перестали появляться.

Герц понял, что ему удалось сделать важное открытие. С помощью своего медного проволочного круга он сумел обнаружить и уловить электромагнитные волны, разбегающиеся во все стороны от разрядника. Он обнаружил эти волны не только вблизи искры, но и поодаль – на расстоянии метра, полутора метров и даже двух.

Думал ли Герц о том, что люди когда-нибудь научатся посылать электромагнитные волны не за метр и не за полтора, а за сотни и тысячи верст – не от стола к табуретке, а с материка на материк, через моря и океаны?

Знал ли он, что его разрядник – это первая в мире радиостанция и что его проволочный круг – это первый в мире радиоприемник?

Знал ли он, что, основываясь на его открытии, люди сконструируют радиотелеграф?

Лучи электрической силы

Не дни, не месяцы, а целые годы продолжались опыты Герца.

Медленно и упорно изучал он электромагнитные волны, повторяя каждый опыт по нескольку раз, внося все новые и новые усовершенствования в свои приборы. Ежедневно он приходил в лабораторию рано утром, а уходил поздно вечером. Не зная отдыха, ставил он опыт за опытом, исписывал длинные листы бумаги сложными выкладками и математическими формулами, рисовал чертежи и схемы, мастерил новые приборы и аппараты.

Много труда положил он на то, чтобы усовершенствовать вибратор – так называл он металлические шары, вокруг которых колеблются электромагнитные волны.

Он добивался того, чтобы искры в вибраторе стали более мощными и энергичными и чтобы направление электрического тока менялось с возможно большей частотой.

После двух лет опытов и вычислений ему удалось наконец построить надежный вибратор.

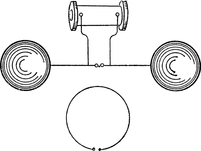
Он взял два латунных цилиндра длиною в девять сантиметров и к каждому из них приделал на конце по латунному шару. Один цилиндр он поставил шаром вверх, а другой повесил над ним шаром вниз. От шара до шара оставался узкий перерыв в три миллиметра.

Стоило теперь соединить цилиндры с индукционной катушкой, один с одним полюсом, другой с другим, – и от шара к шару, через трехмиллиметровый промежуток, начинали сыпаться электрические искры.

В свое время опыты Феддерсена показали: направление электрического тока, скачущего искрой от шара к шару, не остается все время одинаковым. Оно беспрерывно меняется, оно колеблется с невообразимой быстротой.

Но в разряднике Феддерсена направление электрического тока менялось каждые две-три миллионные доли секунды, а в усовершенствованном вибраторе Герца – так гласили точные математические вычисления – оно менялось в тысячи раз быстрее. Даже проворное зеркало необыкновенных часов не могло угнаться за такими частыми колебаниями тока, не могло разложить видимую глазу искру на отдельные вспышки. От вспышки до вспышки проходила теперь не миллионная, а миллиардная доля секунды.

Усовершенствованный вибратор Герца был готов. Оставалось усовершенствовать и резонатор – так Герц называл свой улавливатель электромагнитных волн, свой проволочный круг с перерывом для искры.

В первых опытах Герца резонатор откликался на электромагнитные волны только в близком соседстве от искры. Герц хотел усилить чуткость резонатора, заставить его отзываться на искру, скачущую между шарами, даже тогда, когда он стоит далеко от шаров.

Прежде всего он уменьшил размеры резонатора. Новый проволочный круг был теперь всего только семи сантиметров в диаметре – он свободно умещался на ладони. Сделан он был из тонкой медной проволоки. Перед тем как пустить проволоку в дело, Герц насадил на один ее конец крохотный отполированный латунный шарик, а другой конец заострил. Потом согнул проволоку в круг. На этот раз он оставил между ее концами лишь крохотный перерыв – каких-нибудь несколько сотых долей миллиметра. Простым глазом такую щелочку и не заметишь, а потому Герц запасся увеличительным стеклом.

Вход
Поиск по сайту
Ищем:
Календарь