Книга Захваченные территории СССР под контролем нацистов. Оккупационная политика Третьего рейха 1941–1945, страница 8 – Александр Даллин

Авторы: А Б В Г Д Е Ж З И Й К Л М Н О П Р С Т У Ф Х Ч Ш Ы Э Ю Я
Книги: А Б В Г Д Е Ж З И Й К Л М Н О П Р С Т У Ф Х Ц Ч Ш Щ Ы Э Ю Я
Бесплатная онлайн библиотека LoveRead.ec

Онлайн книга «Захваченные территории СССР под контролем нацистов. Оккупационная политика Третьего рейха 1941–1945»

📃 Cтраница 8

Это был пресловутый приказ о комиссарах. Несмотря на все свои предыдущие протесты, Йодль и Варлимонт приняли его без возражений. В поисках оправдания для нестандартного приказа под текстом Варлимонта Йодль подписал: «Мы должны расквитаться за возмездие против немецких летчиков; поэтому лучше всего изобразить все это как ответную меру». Розенберг же утверждал, что рядовые захваченные специалисты будут крайне необходимы немцам для управления оккупированными районами. Поэтому – отнюдь не возражая против убийств без суда как таковых – он попросил Верховное командование ограничиться истреблением только высших чинов. Судя по всему, Йодль и Варлимонт были готовы поддержать это предложение. Однако на следующий день, 13 мая, Гитлер принял решение, и Кейтель отдал соответствующие приказы: все комиссары должны быть убиты.

За несколько дней до этого 6 мая ОКХ издал аналогичный приказ об обращении с гражданским населением на Востоке. Приказ предусматривал «расстрел в бою или при бегстве» всех местных жителей, которые «участвуют или хотят участвовать во враждебных актах, которые своим поведением представляют собой прямую угрозу для войск или которые своими действиями оказывают сопротивление вооруженным силам Германии». В случае задержания они должны были предстать перед немецким офицером, который решит, будут ли они расстреляны. Уже на этом раннем этапе было санкционировано «применение силы» в населенных пунктах, «в которых совершаются скрытые злонамеренные действия любого рода». И наконец, немецкие солдаты, совершавшие «наказуемые деяния» на оккупированной земле «из-за горечи от зверств или подрывной работы носителей еврейско-большевистской системы», не подлежали преследованию.

Директивы в одобренном Гитлером виде оставались практически неизменными. Особый акцент делался на то, что «войска должны безжалостно защищаться против любой угрозы со стороны враждебного гражданского населения».

Эти меры и дискуссии вокруг них были показательными как в отношении основной ориентировки, с которой немецкие войска отправлялись на советскую территорию, так и в отношении сложности и амбивалентности мнений внутри Верховного командования. Высшие эшелоны (Кейтель, Йодль, Варлимонт) добровольно или не очень составляли и издавали указы по приказу фюрера. Генеральный штаб к одобрению этих приказов подходил с гораздо большей неохотой. К тому же возникали серьезные сомнения касательно того, будут ли командиры армии эти приказы выполнять.

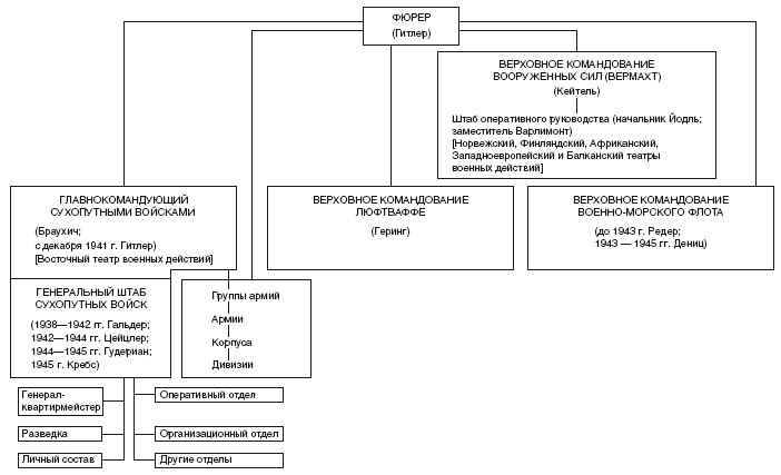
Иллюстрация к книге — Захваченные территории СССР под контролем нацистов. Оккупационная политика Третьего рейха 1941–1945 [i_003.jpg]

ВЫСШЕЕ КОМАНДОВАНИЕ ВЕРМАХТА


Фельдмаршал фон Браухич, главнокомандующий сухопутными силами, позже свидетельствовал, что он обходил и игнорировал эти приказы. Некоторые генералы решили эту дилемму, просто не передав приказ о комиссарах своим подчиненным. Хотя Гитлер продолжал настаивать на том, что оккупационные силы должны были распространять «террор, который сам по себе отбил бы у населения всякое желание оказывать сопротивление», а командиры армии на местах несли личную ответственность за исполнение указа, на деле (что подтверждал даже маршал Паулюс, явившийся на Нюрнбергский процесс в качестве свидетеля обвинения) приказ не выполнялся из-за негласного сопротивления генералов. Генералы Остер и Бек, одни из главных заговорщиков 1944 г., при обсуждении указа с фон Хасселем сошлись во мнении, что «волосы встают дыбом, когда видишь неопровержимые доказательства… систематического превращения военного права в отношении завоеванного населения в неконтролируемый деспотизм – насмешка над законом как таковым».

Фон Тресков, блестящий молодой офицер оперативного отдела штаба группы «Центр» (а позднее лидер антигитлеровского движения), убедил своего командира подать протест в штаб армии. Другие генералы поступили так же. Продолжительная враждебность военных вынудила Кейтеля издать секретный указ, приказывавший генералам «уничтожить все копии… указа фюрера от 13 мая 1941 г.». Но он добавил: «Уничтожение копий не означает отмену приказа». Разрыв между политикой и практикой, а также между большим количеством генералов и послушных подхалимов вроде Кейтеля неумолимо увеличивался с началом Восточной кампании.

Предполагаемые наследники

Ранние замечания Гитлера навели всех на мысль, что каждый из трех основных претендентов на наследие Востока – Розенберг, Гиммлер и вермахт – получит долю в будущей администрации, причем основная тяжесть ляжет на гражданское население, а вермахт и СС будут выполнять конкретные, ограниченные функции. Однако вскоре стало очевидно, что на фактическое разделение власти влияли многочисленные интриги между конкурирующими группами. И жертвой этих интриг почти всегда был Розенберг.

Большую часть времени находившийся за кулисами Мартин Борман придерживался позиции, которую он мог продвигать, пользуясь своим авторитетом у Гитлера. «Злой гений Гитлера», «Мефистофель фюрера», «коричневый кардинал» – эти и подобные эпитеты отображают мнение других немецких лидеров о Бормане. Как и у Гиммлера, у Бормана тоже была своя личная империя – аппарат нацистской партии, – но он не был скован такими вещами, как преданность великой цели Гиммлера, соблюдение самодельных «принципов» Розенберга или традиции и щепетильность армии. Старательно скрываясь за кулисами, он был откровенным сторонником макиавеллизма, безудержным в своей ярости по отношению к любому, кто активно или пассивно стоял на его пути.

Борман презирал Розенберга как витавшего в облаках мечтателя и считал само собой разумеющимся, что Розенберг должен был быть использован в его (Бормана) интересах. Поэтому Борман был претендентом совсем другого кроя – эффективным, и не из-за какого-то его официального статуса в восточных делах, а из-за авторитета, которым он пользовался у самого Гитлера; у своего коллеги в штаб-квартире фюрера Ганса Генриха Ламмерса, начальника Имперской канцелярии; а позднее и у номинального подчиненного Розенберга гаулейтера Эриха Коха, рейхскомиссара Украины.

Некоторые в СС ожидали, что в соответствии со своим элитным статусом и растущим влиянием в Третьем рейхе Гиммлер станет главным политиком на будущем оккупированном Востоке. В СС уже намечались планы относительно роли, которую они сыграли бы в будущей администрации. Борман, однако, был намерен не допустить дальнейшего роста влияния СС. Потому он решительно поддержал кандидатуру Розенберга в имперском министерстве оккупированных восточных территорий – не потому, что уважал Розенберга, а именно потому, что знал, что он не опасный соперник.

У Бормана был шанс в апреле 1941 г., когда переговоры о координации действий между будущими отрядами СД и армией предоставили возможность для неофициальных обсуждений, в ходе которых СС выдвинули дополнительные требования. В чем СС и армия нашли точку соприкосновения, так это во враждебности к гражданским ветвям. Потому было вполне естественно, что некоторые офицеры СС пытались убедить ОКВ, что им следует поделить «восточный пирог» между собой, чтобы вермахт стал хозяином передовой зоны, а СС остались свободным корпусом, фактически ответственным за новый порядок на Востоке. Для армейских офицеров представители СС стремились изобразить будущую роль СД на Востоке как «передовых групп» будущих «комиссариатов». Этот план был обречен на неудачу. Военные боялись предоставить СС слишком много свободы, в то время как в самих СС происходили внутренние противоречия, так как ваффен СС требовали более привлекательной роли, чем роль «сторожа» в тылу. Более того, слишком длинной была история трений и подозрений между армией и СС, чтобы ее можно было так просто забыть; и Гитлер уже дал Розенбергу первое задание по подготовке будущей администрации. Таким образом, в середине мая, когда генерал Вагнер доложил о требованиях СС начальнику Генерального штаба сухопутных войск, Гальдер загадочно отметил в своем дневнике: «Отряды СС в тылу: в миссиях, запрошенных этими подразделениями, должно быть отказано».

Вход
Поиск по сайту
Ищем:
Календарь