Книга Код. Тайный язык информатики, страница 39 – Чарльз Петцольд

Авторы: А Б В Г Д Е Ж З И Й К Л М Н О П Р С Т У Ф Х Ч Ш Ы Э Ю Я
Книги: А Б В Г Д Е Ж З И Й К Л М Н О П Р С Т У Ф Х Ц Ч Ш Щ Ы Э Ю Я
Бесплатная онлайн библиотека LoveRead.ec

Онлайн книга «Код. Тайный язык информатики»

📃 Cтраница 39

124

01111101

125

01111110

126

01111111

127

Теперь вы можете представить числа в диапазоне от –128 до +127. Старший значащий бит (крайний слева) называется знаковым разрядом. Знаковый разряд равен 1 для отрицательных чисел и 0 — для положительных.

Чтобы вычислить дополнение числа до двух, сначала вычислите его дополнение до единицы, а затем прибавьте 1. Это эквивалентно инвертированию всех цифр и прибавлению 1. Например, десятичное число 125 в двоичном формате выражается как 01111101. Чтобы выразить число –125 в виде дополнения до двух, сначала инвертируем цифры 01111101 для получения 10000010, а затем прибавим 1, в результате чего получим 10000011. Вы можете проверить результат по приведенной выше таблице. Для выполнения обратной операции повторите те же действия — инвертируйте все биты и прибавьте 1.

Эта система позволяет выражать положительные и отрицательные числа, не используя знак «–». Кроме того, с ее помощью можно складывать положительные и отрицательные числа, руководствуясь только правилами сложения. Например, сложим двоичные эквиваленты чисел –127 и 124. Это просто, если использовать в качестве шпаргалки предыдущую таблицу.

Иллюстрация к книге — Код. Тайный язык информатики [i_248.jpg]

Результат эквивалентен числу –3 в десятичной системе счисления.

В данном случае нужно следить за условиями переполнения и исчезновения разряда. Такое может произойти, когда в результате сложения получается число больше 127 или меньше –128. Например, вы прибавляете 125 к 125.

Иллюстрация к книге — Код. Тайный язык информатики [i_249.jpg]

Поскольку старший бит равен 1, результат следует интерпретировать в качестве отрицательного числа, которое соответствует –6 в десятичной системе счисления. Что-то подобное происходит и при сложении чисел –125 и –125.

Иллюстрация к книге — Код. Тайный язык информатики [i_250.jpg]

С самого начала мы решили ограничиться 8-битными числами, поэтому необходимо проигнорировать крайнюю левую цифру. Правые восемь бит эквивалентны числу +6.

Вообще, результат сложения положительных и отрицательных чисел не является верным, если знаковые разряды двух операндов одинаковы, а знаковый разряд результата отличается.

Теперь у нас есть два разных способа использования двоичных чисел. Двоичное число может быть со знаком (знаковым) или без знака (беззнаковым). Восьмибитные числа без знака находятся в диапазоне от 0 до 255, 8-битные числа со знаком — в диапазоне от −128 до 127. По самим числам невозможно понять, сопровождаются они знаком или нет. Например, кто-то говорит: «У меня есть 8-битное двоичное число, значение которого равно 10110110. Каков его десятичный эквивалент?» Сначала вы должны спросить: «Это число со знаком или без знака? В зависимости от этого ответом может быть либо число –74, либо 182».

В этом и состоит проблема с битами: они всего лишь нули и единицы, которые ничего не говорят о себе.

Глава 14
Обратная связь и триггеры

Известно, что электричество приводит предметы в движение. Оглядевшись по сторонам в обычном доме, можно увидеть электрические двигатели в различных устройствах, например в часах, вентиляторах, кухонных комбайнах, проигрывателях компакт-дисков. Электричество также заставляет вибрировать конусы в динамиках, благодаря чему стереосистемы и телевизоры воспроизводят звуки, речь и музыку. Однако самый простой и изящный пример того, как электричество приводит предметы в движение, вероятно, иллюстрируется классом устройств, которые быстро исчезают по мере их замены электронными аналогами. Я имею в виду уже ставшие раритетом электрические зуммеры и звонки.

Рассмотрим реле, соединенное с переключателем и батарейкой следующим образом.

Иллюстрация к книге — Код. Тайный язык информатики [i_251.jpg]

Неудивительно, если эта схема кажется немного странной. Мы еще не встречались с таким способом подключения. Обычно реле подключается так, что вход отделен от выхода. Здесь все закольцовано. Замыкание переключателя делает цепь непрерывной.

Иллюстрация к книге — Код. Тайный язык информатики [i_252.jpg]

Ток в замкнутой цепи заставляет электромагнит притягивать гибкую полоску.

Иллюстрация к книге — Код. Тайный язык информатики [i_253.jpg]

Когда полоска меняет свое положение, цепь размыкается, поэтому электромагнит теряет свои магнитные свойства, а полоска возвращается на свое место.


А это, конечно же, снова замыкает схему. Происходит следующее: до тех пор, пока переключатель замкнут, металлическая полоска двигается назад и вперед, поочередно замыкая и размыкая цепь, что, скорее всего, сопровождается звуком. Устройство, издающее дребезжащий звук, называется зуммером. Если вы присоедините к нему молоточек и разместите рядом чашечку, появится электрический звонок.

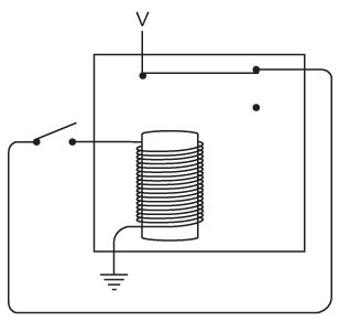
Чтобы сделать зуммер, можно выбрать один из двух способов подключения этого реле. Вот еще одна схема подключения с общепринятыми символами для обозначения источника питания и земли.

Иллюстрация к книге — Код. Тайный язык информатики [i_254.jpg]

Возможно, в этой схеме вы узнали инвертор, описанный в главе 11, поэтому ее можно изобразить проще.

Иллюстрация к книге — Код. Тайный язык информатики [i_255.jpg]

Как вы помните, выход инвертора — 1, если вход — 0, и выход — 0, если вход — 1. Замыкание переключателя в этой цепи приводит к поочередному размыканию и замыканию реле в инверторе. Постоянную работу инвертора может обеспечить и схема без переключателя.

Иллюстрация к книге — Код. Тайный язык информатики [i_256.jpg]

Может показаться, что эта иллюстрация противоречит логике, поскольку выход инвертора должен располагаться напротив входа, однако в данном случае выход является входом! Имейте в виду, что инвертор на самом деле просто реле, которому требуется немного времени для перехода из одного состояния в другое. Так что даже если вход равен выходу, вскоре выход станет противоположен входу (что, конечно, приведет к изменению входного сигнала и т. д.).

Чему равен выход этой цепи? Его значение быстро меняется между наличием и отсутствием напряжения. Можно сказать, значение выхода быстро чередуется между 0 и 1.

Реклама
Вход
Поиск по сайту
Ищем:
Календарь