Онлайн книга «Пэчворк. Лоскутный шедевр за 3 дня»
|
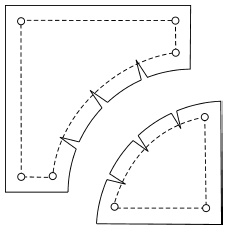
Совсем другое дело, когда предстоит сшивать полоски ткани, которые могут оказаться не только многочисленными, но и мелкими. В такой ситуации достаточно раскрасить эскиз цветными карандашами или фломастерами, если, конечно, вы располагаете необходимым их набором. Лоскутные одеяла входили в приданое невесты и новорожденного. На них можно было увидеть лоскуты от материнской юбки, отцовской рубашки. Отличительными особенностями русских лоскутных изделий были яркость, насыщенность их расцветок, непременно присутствовал красный цвет. Особенно тщательно выполните чертеж блока-основы, так как по нему должны быть изготовлены все шаблоны и сверяться все лоскутные блоки. Поскольку он служит для контроля, сохраните чертеж до завершения работы. Составление узоров в лоскутном шитье – едва ли не самое интересное занятие, поскольку, по-разному комбинируя одни и те же элементы, можно получать различные рисунки и композиции (рис. 10). ![]() Рисунок 10. Конструирование узора: а) исходный элемент; б) первая комбинация; в) вторая комбинация В пэчворке узоры чаще представляют собой повторяющиеся элементы. Но поскольку невозможно с одинаковой точностью многократно повторить одни и те же элементы, при крое в лоскутном шитье широко применяют шаблоны (так называется выкройка с припусками на швы), которые, кроме того, существенно ускоряют работу. Шаблоны разрабатывают и для отдельных деталей (ромбов, квадратов, треугольников и др.), и для отдельных блоков. Чтобы изготовить шаблон, начертите основной контур соответствующей детали. Отступив от первоначального контура на 7 мм кнаружи, проведите второй контур. Так вы предусмотрите припуски на швы, которые могут варьироваться от 5 мм до 1 см (очень удобно, если припуск совпадает с расстоянием от иглы до края лапки швейной машины), но для всех сторон они непременно должны быть одинаковыми, иначе при сборке окажется невозможным подогнать швы, что испортит внешний вид изделия. Очень точный шаблон получается на миллиметровой бумаге. Начертив его, прикрепите бумагу к картону и канцелярским или сапожным ножом проведите по линиям сначала внутреннего, потом наружного контура. При этом старайтесь, чтобы на краях шаблона не образовывалось заусенцев. В противном случае пользоваться таким шаблоном будет неудобно. В результате вы получите шаблон-рамку, ширина которой равняется припуску на шов. Таким образом можно подготовить шаблоны разных фигур (рис. 11). ![]() Рисунок 11. Шаблоны-рамки: а) квадрат; б) треугольник; в) ромб; г) шестиугольник; д) восьмиугольник Шаблоны-рамки в большей степени предназначаются для начинающих мастериц. С приобретением навыка достаточно будет вырезать картонную фигуру только по внешнему контуру, а по углам внутреннего контура шилом проколоть отверстия, чтобы при раскрое сделать на ткани отметки (рис. 12). Вместо картона, края которого со временем, особенно при интенсивном использовании, ломаются, используйте прозрачный пластик. Такой шаблон удобен еще и тем, что сквозь него виден рисунок на ткани, который можно разместить в необходимом месте на той или иной детали. Шаблоны не выбрасывайте после каждой работы, и постепенно у вас соберется своеобразная картотека. Главное – не забывайте на каждом шаблоне указывать его размеры. Редко в крестьянском доме можно было не увидеть лоскутного одеяла, причем кусочки ткани нередко имели неправильную форму, сшивались бессистемно. Возможно, это объяснялось тем, что создание художественно цельного полотна никто не ставил своей целью. Лоскутное изделие выполняло только утилитарную функцию. ![]() Рисунок 12. Простой шаблон: а) треугольник; б) трапеция; в) шестиугольник Пользоваться шаблоном легко: положите на стол лоскут лицевой стороной вверх (их можно собрать в стопку, если при раскрое будете применять роликовый нож), наложите на него шаблон, учитывая направление долевой нити (этот момент очень важен и требует неукоснительного соблюдения, поскольку в противном случае собранное полотно будет деформироваться). На полосе долевая нить должна быть направлена по ее длине, на квадрате – по одной из сторон, на прямоугольном треугольнике – по какому-либо катету и т. д. Обведите шаблон карандашом или мелом и вырежите деталь. Все детали, которые понадобятся для конкретного изделия, выкраивайте заранее. Благодаря появлению дешевых хлопчатобумажных тканей с набивным рисунком обычной одеждой становились ситцевые сарафаны и рубахи, которые декорировали лоскутными орнаментами. Все, что оставалось при раскрое изделий, а также части отслужившей одежды рачительные хозяйки научились использовать, поэтому практически в каждом доме можно было увидеть лоскутные одеяла, коврики и др. Нередко в лоскутном шитье применяют детали, форма которых имеет закругления. Чтобы при сшивании детали идеально совпали, в припусках на швы делают надрезы и отмечают опорные точки, по которым совмещают линии (рис. 13). ![]() Рисунок 13. Шаблон для детали с закруглением Самым простым является узор, составленный из одинаковых элементов, например треугольников (рис. 14). Блок состоит из 16 двухцветных квадратов. Чтобы выкроить детали, приготовьте 1 шаблон – треугольник. ![]() Рисунок 14. Схема узора 1 Представляем лишь схемы узоров, а о том, как выкраивать детали, пользоваться шаблонами и сшивать элементы в блоки, мы расскажем далее. Блок состоит из 16 квадратов, из которых 4 одноцветных и 12 двухцветных. Чтобы выкроить детали, приготовьте 2 шаблона – квадрат и треугольник (рис. 15). ![]() Рисунок 15. Схема узора 2 Блок состоит из 20 квадратов, из которых 6 одноцветных и 14 двухцветных. Чтобы выкроить детали, приготовьте 2 шаблона – квадрат и треугольник (рис. 16). |
![Иллюстрация к книге — Пэчворк. Лоскутный шедевр за 3 дня [i_011.jpg] Иллюстрация к книге — Пэчворк. Лоскутный шедевр за 3 дня [i_011.jpg]](img/book_covers/079/79766/i_011.jpg)
![Иллюстрация к книге — Пэчворк. Лоскутный шедевр за 3 дня [i_012.jpg] Иллюстрация к книге — Пэчворк. Лоскутный шедевр за 3 дня [i_012.jpg]](img/book_covers/079/79766/i_012.jpg)
![Иллюстрация к книге — Пэчворк. Лоскутный шедевр за 3 дня [i_013.jpg] Иллюстрация к книге — Пэчворк. Лоскутный шедевр за 3 дня [i_013.jpg]](img/book_covers/079/79766/i_013.jpg)
![Иллюстрация к книге — Пэчворк. Лоскутный шедевр за 3 дня [i_014.jpg] Иллюстрация к книге — Пэчворк. Лоскутный шедевр за 3 дня [i_014.jpg]](img/book_covers/079/79766/i_014.jpg)
![Иллюстрация к книге — Пэчворк. Лоскутный шедевр за 3 дня [i_015.jpg] Иллюстрация к книге — Пэчворк. Лоскутный шедевр за 3 дня [i_015.jpg]](img/book_covers/079/79766/i_015.jpg)
![Иллюстрация к книге — Пэчворк. Лоскутный шедевр за 3 дня [i_016.jpg] Иллюстрация к книге — Пэчворк. Лоскутный шедевр за 3 дня [i_016.jpg]](img/book_covers/079/79766/i_016.jpg)