Онлайн книга «Пророчества Тутанхамона»
|
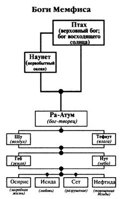
Рисунок 19. ![]() Рисунок 20. ![]() Рисунок 21. Богом-создателем был бог солнца в различных ипостасях, представлявший собой сочетание Ра, дневного светила, и Атума, заходящего солнца. Поэтому его называли Ра-Атум. Порой его изображали в виде первозданного змея, свернувшегося вокруг границ вселенной. В ипостаси бога Хепри [7]он был священным скарабеем (навозный жук), создавшим себя из навозного шара, где были скрыты его яйца, и шар, который Хепри катит по песку пустыни, является символом солнца, пересекающего небосвод. Он также отождествлялся с первозданным холмом, участком земли, первым поднявшимся из безбрежного океана, а как птица феникс он нес с собой свет, жизнь и возрождение. Как рассказывает легенда, появившись из извечного хаоса, великий бог Атум выплюнул первую божественную пару — бога воздуха Шу и богиню влаги Тефнут (в другой интерпретации Шу и Тефнут появились после мастурбации Атума). Эти двое породили Геба, бога земли, и Нут, богиню неба. От них произошли: Осирис, бог загробной жизни и плодородия; Исида, богиня божественной любви; Сет, бог разрушения; и Нефтида, сестра и помощница Исиды. Осирис и Исида произвели на свет сына Гора, ястреба. В Мемфисе (рис. 21) Птах породил Наунет и вместе с ней создал Атума, который затем создал гелиопольскую эннеаду. В Гермополе (рис. 20) четыре пары богов участвовали в акте творения: Нун и Наунет (первобытный океан), Хух и Хаухет (бесконечность пространства), Кук и Каукет (мрак), Амон и Амаунет (воздух или невидимое). Среди египтологов нет всеобщего согласия относительно имен богов, в основном ввиду сложности интерпретации и перевода иероглифических тестов. Так, например, в надписях на стенах храма Дария II, построенного в оазисе Харга, Керех и Керехет заменяют в гермопольской огдаде Амона и Амаунет. Точно так же имя бога-создателя изменялось на протяжении различных периодов египетской истории, внося еще большую путаницу. Имя Ра, бога солнца, впервые встречается в текстах, датируемых примерно 2865 г. до н. э. (вторая династия, Древнейший период), его носил царь Pa-неб, правивший в Гелиополе. Позднее культ поклонения Ра получает широкое распространение и достигает своего пика во времена строительства великих пирамид, около 2500 г. до н. э. ![]() Рисунок 22 (сверху). Поклонение богу солнца Ра совпало с двумя периодами великих культурных достижений в Египте — сначала со строительством великих пирамид при правлении четвертой династии, а затем со временем правления восемнадцатой династии, наступившим через 1000 лет. Бог Ра мог перевоплощаться, принимая форму змеи, сбрасывающей кожу (пернатого змея). В течение других исторических периодов солнце принимало другие образы: ![]() Рисунок 23. Солнце в образе бога Амон-Ра с двумя перьями на голове. ![]() Рисунок 24. Солнце в образе Харахти (Гор-ахути), ястреба с солнечным диском на голове, поверх которого возлегает змея (пернатый змей). ![]() Рисунок 25. Солнце в образе бога Хепри, навозного жука, который, согласно легенде, возрождается из навозного шара, который он катит по пустыне, тем самым символизируя передвижение солнца по небосводу. ![]() Рисунок 26. Короны и королевские регалии (слева направо): белая корона Верхнего Египта; красная корона Нижнего Египта; двойная корона Верхнего и Нижнего Египта; корона Атеф; голубая корона. История протодинастического периода достаточно туманна, и среди ученых нет единого мнения о том, кто первым занял египетский трон. Некоторые считают, что второй египетский царь, «Гор-ахути», взял имя Менее и, сменив на троне первого царя, Нармера, основал столицу в Мемфисе, таким образом закрепив контроль над недавно объединенными территориями. Другие считают, что Нармер и Менее — это одно и то же лицо. Глиняная печать, недавно обнаруженная при раскопках на царском кладбище в Абидосе, позволяет предположить, что третьим царем был Джер (который, согласно списку царей, найденному в храме Сети I в Абидосе, мог также называться Ити). На рубеже веков французский археолог Эмиль Амелине и британский египтолог Флиндерс Питри обнаружили захоронение наследника Джера, царя Джета, в гробнице, в районе Абидоса. Там находилась погребальная стела с вырезанным на ней иероглифом в виде змеи — отсюда и имя Джет (змея). Здесь мы имеем первые признаки появления перьев (Гор-ахути, Менее) и змеи (Джет) наряду с распространением поклонения солнцу как богу Ра и началом строительства пирамид. Первой пирамидой в районе Гелиополя (пригород современного Каира) была ступенчатая пирамида в Саккаре, построенная по приказу первого правителя третьей династии Джосера, по проекту царского архитектора Имхотепа. Первоначальной целью строительства пирамиды было создание погребального комплекса, но это также первый пример возведения колоссального каменного сооружения в Египте. Именно здесь имя Нетджерихет (Гор) было обнаружено на стенах гробницы. В период правления царя Джедефра, который занимал трон между великими строителями пирамид Хуфу (Хеопсом) и Хафра (Хефреном), культ поклонения солнцу впервые достиг своего пика, и имя Ра стало использоваться как суффикс царского титула. Сами великие пирамиды с их отполированной внешней облицовкой из мрамора отражали свет сияющего в небе солнца и рассеивали солнечные лучи, когда солнце стояло в зените. Таким образом, пирамиды символизировали солнечное излучение и, как мы увидим позднее (глава 3), плодородие, перерождение и вечную жизнь. В «текстах пирамид», рисунках на стенах гробниц и в папирусных свитках египетские боги и фараоны предстают перед нами в символических коронах, с царскими регалиями и другими атрибутами, позволяющими идентифицировать тот персонаж, который они должны изображать (см. также Приложение 2). |
![Иллюстрация к книге — Пророчества Тутанхамона [i_025.jpg] Иллюстрация к книге — Пророчества Тутанхамона [i_025.jpg]](img/book_covers/079/79273/i_025.jpg)
![Иллюстрация к книге — Пророчества Тутанхамона [i_026.jpg] Иллюстрация к книге — Пророчества Тутанхамона [i_026.jpg]](img/book_covers/079/79273/i_026.jpg)
![Иллюстрация к книге — Пророчества Тутанхамона [i_027.jpg] Иллюстрация к книге — Пророчества Тутанхамона [i_027.jpg]](img/book_covers/079/79273/i_027.jpg)
![Иллюстрация к книге — Пророчества Тутанхамона [i_028.jpg] Иллюстрация к книге — Пророчества Тутанхамона [i_028.jpg]](img/book_covers/079/79273/i_028.jpg)
![Иллюстрация к книге — Пророчества Тутанхамона [i_029.jpg] Иллюстрация к книге — Пророчества Тутанхамона [i_029.jpg]](img/book_covers/079/79273/i_029.jpg)
![Иллюстрация к книге — Пророчества Тутанхамона [i_030.jpg] Иллюстрация к книге — Пророчества Тутанхамона [i_030.jpg]](img/book_covers/079/79273/i_030.jpg)
![Иллюстрация к книге — Пророчества Тутанхамона [i_031.jpg] Иллюстрация к книге — Пророчества Тутанхамона [i_031.jpg]](img/book_covers/079/79273/i_031.jpg)