Книга Увлекательно о космосе. Межпланетные путешествия, страница 15 – Яков Перельман

Авторы: А Б В Г Д Е Ж З И Й К Л М Н О П Р С Т У Ф Х Ч Ш Ы Э Ю Я
Книги: А Б В Г Д Е Ж З И Й К Л М Н О П Р С Т У Ф Х Ц Ч Ш Щ Ы Э Ю Я
Бесплатная онлайн библиотека LoveRead.ec

Онлайн книга «Увлекательно о космосе. Межпланетные путешествия»

📃 Cтраница 15

Наконец, чтобы придать ракете устойчивость в полете, к ней прикрепляется деревянная палка в несколько раз длиннее гильзы; этот «хвост» мешает летящей ракете перекидываться в воздухе. Таково в основных чертах несложное устройство и всякой пороховой ракеты, какое бы назначение и какие бы размеры она ни имела. Но ошибкой было бы думать, что изготовление ракет – дело простое, посильное для любителя. Прежде всего фабрикация, а также пуск ракет сопряжены с опасностью взрыва даже в руках опытного профессионала. Следует поэтому настойчиво предостеречь от любительского экспериментирования с ракетами, не раз уже кончавшегося катастрофами с пожарами и гибелью людей. Техника изготовления ракет требует основательного знания всех деталей производства, знания, которое нельзя почерпнуть из самых подробных руководств по пиротехнике.

На некоторых деталях поучительно будет здесь остановиться.

Порох для ракет употребляется обычно черный, дымный, особого состава. Укажем состав, употреблявшийся всемирно известной германской пиротехнической лабораторией в Шпандау [20]: 76 частей селитры, 10 частей серы и 16 частей черемухового угля – состав, выработанный путем многолетних опытов и применяемый лабораторией с 1886 г. Порох разрывает ракету, если заряд недостаточно плотно впрессован в гильзу. Необходимо, чтобы горение состава происходило только с поверхности, то есть не слишком быстро. Присутствие в заряде трещин может повлечь за собой одновременное воспламенение всей пороховой массы и взрыв ракеты. Пиротехники опасаются даже тончайших трещинок в прессуемой массе заряда. Поэтому ракеты крупного калибра (начиная с 8 см) изготовляются с помощью гидравлического пресса, под давлением 750 атм, с соблюдением тщательных предосторожностей.

Иллюстрация к книге — Увлекательно о космосе. Межпланетные путешествия [i_029.jpg]

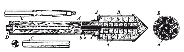
Рис. 22. Разрез светящейся ракеты


Гильзы делаются для небесных ракет картонные, для более крупных – металлические, лучше всего из алюминия или из сплавов магния. Медь в качестве материала для гильз избегается не только из-за тяжеловесности и недостаточной прочности, но и ввиду ее хорошей теплопроводности: быстрое нагревание стенок ракеты легко может вызвать преждевременное воспламенение и взрыв всего заряда. Стальные гильзы также не рекомендуются, так как в случае взрыва они разлетаются градом острых осколков.

При изготовлении металлических гильз для ракет продолжительного горения прибегают к теплоизоляции стенок.

Чтобы дать представление об устройстве ракет крупного калибра, на рис. 22 показан разрез военной светящейся ракеты, употребляемой для освещения позиций противника. Вот ее описание (из курса артиллерии Нилуса и Маркевича):

Трехдюймовая светящаяся ракета состоит из: 1) железной гильзы А, набитой движущим (форсовым) пороховым составом, имеющей внутренний диаметр 3 дюйма; 2) жестяного колпака В, заряженного светящими звездками и мякотью; и 3) длинного деревянного хвоста С, служащего для направления движения ракеты.

У заднего кольца гильзы закрепляется железный поддон Б. Посередине поддона ввинчивается железный наконечник деревянного хвоста. Около него проделаны отверстия для выхода газов ракетного состава и для его зажигания. Сумма площадей этих отверстий равна '/4 площади внутреннего поперечного сечения.

Гильза запрессовывается составом из селитры, серы и угля по длине около 5 калибров. При сплошной набивке состава поверхность горения равнялась бы поперечному сечению и была бы слишком малой: количества образующихся газов было бы недостаточно для того, чтобы преодолеть инерцию ракеты и привести ее в движение. Для увеличения поверхности горения в составе выделывают по оси цилиндрический канал, не доводя его до конца состава. При зажигании ракеты воспламеняется вся поверхность этого канала. На состав ставится медная дистанционная трубка а с медным же поддоном b, набитая также ракетным составом: она служит для передачи огня звездкам с некоторым замедлением, после того как форсовый состав уже выгорел и ракета начинает падать вниз. Промежуток между трубкой а и стенками гильзы забит измельченной серой е, удерживающей трубку на месте. Затем к стенкам гильзы прикрепляется шейка жестяного колпака В, наполненная звездками d.

Звездки готовятся из прессованного в цилиндрики состава бенгальского огня. На колпак надевается коническая крышка, которая соединяется с колпаком с помощью штыкового соединения. Свободное место в крышке над звездками закладывается войлоком. Отверстия поддона заклеиваются пластырем. Ракета весит около 16 кг.

Чем ракета крупнее, чем больше ее заряд и продолжительность горения, тем большая скорость накапливается к концу горения и, следовательно, тем выше подъем ракеты. Но это возрастание высоты взлета с увеличением калибра ракеты имеет предел, обусловленный тем, что поверхность горения пороховой массы растет пропорционально квадрату калибра, в то время как общий вес ракеты увеличивается пропорционально кубу калибра. Для крупных ракет получается поэтому невыгодное соотношение между поднимаемым грузом и количеством газов, образующихся при горении заряда. По соображениям подобного рода считалось еще недавно, что предельная высота подъема пороховых ракет равна 2–2½ км.

Предел этот, однако, был недавно далеко превзойден крупнокалиберными ракетами инженера Тиллинга, а также инженера Ф. Зандера [21], работавшего совместно с безвременно погибшим деятелем звездоплавания Максом Валье. Летом 1928 г. Зандер запускал свои пороховые ракеты до границы стратосферы, то есть на высоту 12–13 км. При калибре 22 см ракеты Зандера поднимали грузы в 400–500 кг на высоту 4–5 км, откуда они плавно опускались на парашюте.

«Каким способом такие результаты достигнуты, об этом, по соображениям секретности, естественно, ничего сообщить нельзя», – читаем мы в книге Валье.

Испытание подобных ракет сопряжено с большою опасностью. «Опыты производились на особом полигоне, – пишет Валье, – где за пуском ракет следили через окошечки толстого сруба с помощью стереотруб, фотоаппаратов и кинематографической ленты. На первых порах почти ежедневные взрывы вдребезги разносили дорогие инструменты, а острые осколки гильз вонзались на несколько сантиметров в стены сруба.

Случалось, что тяжелые, добела раскаленные дюзы взметались на сотни метров вверх или относились в сторону; далеко откинутая часть невыгоревшего заряда едва не причинила однажды лесного пожара».

Вход
Поиск по сайту
Ищем:
Календарь