Книга Линейные корабли «Ришелье» и «Жан Бар», страница 6 – Сергей Сулига

Авторы: А Б В Г Д Е Ж З И Й К Л М Н О П Р С Т У Ф Х Ч Ш Ы Э Ю Я
Книги: А Б В Г Д Е Ж З И Й К Л М Н О П Р С Т У Ф Х Ц Ч Ш Щ Ы Э Ю Я
Бесплатная онлайн библиотека LoveRead.ec

Онлайн книга «Линейные корабли «Ришелье» и «Жан Бар»»

📃 Cтраница 6

Главный калибр. Основной задачей линкора в 30-е годы считалось быстрое уничтожение вероятного противника при обеспечении защиты от огня орудий самого большого калибра. Французы полагали, что наиболее оптимальной является схема расположения орудий ГК в носовой части корпуса (как на "Дюнкерке"), поскольку при этом:

– сокращалась длина цитадели, что позволяло применить более толстую броню;

– в носовых секторах могли действовать все башни, получавшие к тому же максимально возможные углы горизонтальной наводки;

– упрощалось управление стрельбой;

– авиационное вооружение и шлюпки удалялись от районов воздействия дульных газов;

– снижалось или устранялось вовсе воздействие на приборы управления огнем дыма и топочных газов.

Последнее преимущество, при всей его кажущейся незначительности, с точки зрения французов играло большую роль. Внимательно изучив опыт Ютландского боя 1916 года, они пришли к выводу, что выходящие из трубы дым и горячие газы могут в критический момент боя серьезно ухудшить видимость и воспрепятствовать эффективному ведению огня. В попытке решить эту проблему была даже сконструирована шарнирная труба, но из-за перегрузки от слишком сложной конструкции пришлось отказаться в пользу причудливого комплекса "настройко-мачто-труба", в котором верхняя часть собственно дымохода резко отклонялась в корму.

Но главным фактором в пользу носового расположения башен ГК все-таки была доказавшая свою эффективность в проекте "Дюнкерка" экономия веса на артиллерии и броневой цитадели, "погонный метр" которой на "Ришелье" весил 25 т. Восемь 380-мм орудий в двух башнях весили 4952 т, тогда как девять в трех башнях 6945 т. К тому же 4-орудийные установки позволяли лучше группировать залпы. Орудие 380- мм/45 модели 1935 года могло пробить у дульного среза 748 мм брони, на дистанции 20000 м броню толщиной 378-мм. Иногда приводятся расчетные данные: 393 мм вертикальной брони или 104 мм горизонтальной (палубы) с дистанции 22000 м. 331 мм или 138 мм соответственно с 27000 м. Разрывной заряд бронебойного 884-кг снаряда весил 23 кг и состоял из пикриновой кислоты плюс 20% нитронафталина. Фугасный снаряд имел такой же вес и аналогичные с бронебойным баллистические характеристики, что не вызывало при смене типа снарядов никаких сложностей при стрельбе. Принципа равенства по весу самых крупных бронебойных и фугасных снарядов к этому времени придерживались почти все развитые морские державы, кроме США и Италии. Боевой заряд состоял из 288 кг пороха SD21 и разделялся на 4 части. Если сравнить практически одинаковые по калибру 380-мм и 381-мм орудия разных стран, можно отметить следующее. Французская пушка по пробиваемости превосходила 52-калиберную немецкую (стояла на "Бисмарке" и "Тирпице", вес снарядов по 880 кг, начальная скорость 820 м/с) на всех дистанциях (как по бортовой, так и по палубной броне). Более старая английская 381-мм 42-калиберная, бывшая превосходным оружием в годы первой мировой войны и к 30-м годам сохранившаяся на линкорах типов "Куин Элизабет", "Ройял Соверин", линейных крейсерах "Худ", "Рипалс" и "Ринаун", также уступала французской по всем статьям (вес снарядов 879 кг, начальная скорость 732 м/с), кроме пробития палубной брони на дистанциях 27 км и выше. Итальянцы, не имевшие опыта создания крупных орудий, решили для линкоров типа "Витторио Венето" создать самую мощную 381-мм 50-калиберную пушку с весом бронебойного снаряда 885 кг и начальной скоростью 850 м/с (полубронебойный 824 кг и 870 м/с). Но чувство меры им явно изменило. Это орудие, хотя и превосходившее все остальные подобного калибра по бронепробиваемости, за исключением пробития палуб на дальних дистанциях (а именно этот фактор стал решающим во второй мировой войне), обладало низкой живучестью ствола и отвратительной точностью стрельбы.

Орудия в башне располагались не равномерно: расстояние между осями средних было 2,95 м, а между осями крайних, имевших общую люльку – 1,95 м. Скорость вертикальной наводки – 5,5°/с, горизонтальной – 5°/с. Углы обстрела башен на типе "Ришелье" удалось увеличить даже по сравнению с "Дюнкерком": у первой он составил 300, у второй 312°. Для получения таких беспрецедентно больших углов пришлось значительно сузить носовую надстройку, а ее стенки защитить тонкой броней.

Столь необычное расположение башен не вызвало никаких трудностей. Опытные стрельбы на "Ришелье’’ показали отсутствие отрицательного воздействия дульных газов на надстройку и конструкторы сочли такое решение удачным. Однако все течет и все меняется, в том числе и взгляды французских специалистов. Уже в 1939 году исследования, проведенные на верфи Луар, показали, что при возрастании угрозы воздушных атак и, как следствие, увеличении числа стволов зениток на корабле, предпочтительнее оказывается традиционная схема расположения ГК в обоих оконечностях. Поэтому на проекте "Гаскони" для усиления ПВО башни ГК разместили по одной в носу и корме, а башни СК над ними и также по ДП.

Углы обстрела башен ГК сократились до 275°, зато при наличии большего пространства, свободного от воздействия дульных газов, удалось установить самую мощную зенитную батарею среди всех линкоров типа "Ришелье". Соответственно изменились контуры надстроек и расположение ЭУ. Возникавшее при этом увеличение весов уже никого не волновало – к этому времени все договорные ограничения по водоизмещению не соблюдались и оставалась только проблема расположения нижней бронепалубы относительно ватерлинии (ВЛ): для безопасности корабля эта палуба должна была находиться над водой при любой нагрузке.

На первых трех кораблях с носовым расположением ГК башни были достаточно разнесены друг от друга – между ними находился 11-метровый водонепроницаемый отсек с аварийными дизель-генераторами и погребами расположенных поблизости зенитных автоматов. Поэтому риск вывода из строя всей 380-мм артиллерии одним попаданием снаряда или торпеды был невелик. Но перемещение в корму энергетической установки заставило сделать ее очень компактной и здесь такой риск существовал – одно попадание могло лишить корабль энергии на двух валах из четырех. Также имело место нежелательное сосредоточение постов управления и офицерских кают в районе башеннообразной носовой надстройки. Все это было платой за попытку втиснуть мощное вооружение, 30-узловую скорость и отличную защиту в договорные 35000 Т водоизмещения.

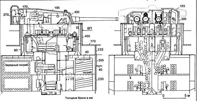
Иллюстрация к книге — Линейные корабли «Ришелье» и «Жан Бар» [pic_15.jpg]

Продольный и поперечный разрезы 380-мм четырехорудиинои башни


Каждая башня, разделенная броневой перегородкой на две полубашни, обслуживалась двумя парами снарядных и зарядных погребов – своя пара погребов на два орудия. Переборка, над которой как в седле сидел командир башни, была огнестойкой и обеспечивала действия любой полубашни в случае, если другая в бою выходила из строя. Погреба каждой полубашни располагались на одном уровне впереди (снарядные) и позади (зарядные) основания башни вместо традиционного размещения (снарядные выше зарядных или наоборот). То есть на каждой из двух палуб над двойным дном имелось по зарядному и снарядному погребу, в которых хранилось по 104 выстрела на ствол. Имелось по два ковшовых подъемника в перегрузочное отделение и четыре верхних элеватора – по одному на орудие. Башни проектировались на 25-секундный цикл стрельбы, довольно короткий для столь большого калибра. Это обеспечивалось возможностью заряжания при любом угле возвышения: энергично досылаемый в ствол снаряд удерживался на месте своим ведущим пояском. За снарядом с помощью цепного "полугибкого" досылателя в камору орудия попарно подавались четыре заряда. Во время досылания последних первые удерживались на месте силой инерции, а при закрывании затвора неподвижными оставались все четыре. Полное время досылания составляло всего 13,5 секунд. Затворы приводились в действие гидропневматикой и автоматически открывались вверх во время отката орудия после выстрела. Время их открытия и закрытия равнялось 3,5 с.

Вход
Поиск по сайту
Ищем:
Календарь