Онлайн книга «Японские тяжелые крейсера.Том 1: История создания, описание конструкции, предвоенные модернизации.»
|
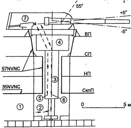
ПРОДОЛЬНЫЙ РАЗРЕЗ 20-СМ БАШНИ МОДЕЛИ “Е ” ![]() 1 - зарядный погреб; 2 - перегрузочное отделение для снарядов и зарядов внутри снарядного погреба; 3 - центральный ствол; 4 - энергетическое отделение с электромоторами и насосами; 5, 6 - снарядный и зарядный подъемники; 7 - гидродосылатель (заряжание при фиксированном угле +5°) 3) В системах управления стрельбой директоры типа 14 и визиры типа 13 заменили директорами типа 94 и визирами типа 92, для чего потребовалось переделать верхнюю часть носовой надстройки. Главный директор заключили в башенку вместе с 6-метровым дальномером типа 14, а вспомогательный в башенке без дальномера расположили за второй дымовой трубой, которая стала гораздо тоньше. Еще два 6-метровых дальномера установили в башнях №2 и №3. Вычислительный прибор типа 92 разместили в модернизированном ЦАП под бронепалубой. 90-см прожекторы типа “SU” заменили тремя более мощными типа 92 диаметром 110 см, установленными на вышках по бокам от первой трубы и между трубами по ДП. Модернизация зенитного вооружения 1) В качестве зенитной артиллерии среднего калибра пришлось оставить 12-см/45 орудия типа 10 года в одноорудийных установках модели “В ”, поскольку новые 12,7-см спарки для этих кораблей оказались слишком громоздкими. Зенитки сдвинули к носу, чтобы освободить место для стеллажей с запасными торпедами. Для улучшения подачи боезапаса установили новые подъёмники. Зенитные директоры типа 91, установленные в 1932-33 годах на решетчатых вышках по бокам от первой трубы, заменили двумя новыми типа 94. Их установили на уровне среднего мостика носовой надстройки вместе с 4,5-метровыми дальномерами типа 94. Зенитный вычислительный прибор установили в ЦАП. 2) На переделанных надстройках около второй дымовой трубы установили четыре спаренные установки 25-мм автоматов, стрельбой которых управляли два директора типа 95, расположенные в кормовой части носовой надстройки на уровне компасного мостика. Два спаренных 13-мм пулемета перенесли в переднюю часть носовой надстройки, а их пост управления оборудовали на НП у борта, где прежде находилось КО №1. НОСОВАЯ НАДСТРОЙКА “ФУРУТАКА” В 1941 ГОДУ ![]() А- пост управления огнем ГК с директором типа 94; В - пост слежения за целью; С - платформа УЗО; D, Е. F, G - компасный, верхний, средний и нижний мостики; 1 4 - 6-м и 1,5-м дальномеры типа 14; 2 - сигнальный мостик; 3 - антенна радиотелефона; 5 - позиция 13,2-мм спарок; 6 - наблюдательный пост; 7 - зенитный директор типа 94 с 4,5-м дальномером; 8 - пост слежения за воздухом; 9 - директор зенитных автоматов; 10 - зенитные бинокли; 11 - место сигнального прожектора Модернизация торпедного вооружения. Неподвижные спаренные ТА типа 12 заменили двумя четырехтрубными поворотными со щитами (модель 1) на верхней палубе по бокам от катапульты. С 1940 года эти крейсера несли по 16 торпед типа 93: 8 находились в ТА, а остальные по 4 с борта - в закрытых стеллажах спереди аппаратов на роликах, что позволяло быстро производить перезарядку. Для управления торпедной стрельбой под постом УАО ГК на носовой надстройке установили два директора типа 93 модели 2 и два торпедных визира типа 93. Вычислительный прибор также стоял в ЦАП. На месте прежнего кормового торпедного отсека расположились отделения компрессоров для подготовки сжатого воздуха и кислорода и отделение для сборки торпед. Модернизация авиационного оборудования. Установленные в 1932-33 годах катапульты модели 1 заменили более мощными типа Куре №2 модель 3 модиф. 1 (по 1 на корабль). Эта пороховая катапульта длиной 19,4 м могла запускать самолеты весом до 3000 кг со скоростью 27 м/с. На треногой грот-мачте установили более мощный подъёмный кран для работы с гидросамолетами, которых обычно на борт принималось два - типа 94 №2, Один стоял на катапульте, другой - на платформе перед грот-мачтой. В надстройке под платформой располагались топливные баки с газолином. В июне 1939 - ноябре 1940 года “Фурутака” и в феврале 1939 - ноябре 1940 года “Како” несли по одному ГСМ типов 94 и 95. 6.4.3. Модернизация энергетической установки. 1) Двенадцать котлов смешанного отопления уступили место десяти нефтяным типа Ро-Го Канпон “большой” модели. Параметры пара остались те же, но котлы получили подогреватели. Полностью изменилось расположение КО, которых за счет снятия поперечных переборок стало всего пять. Однако продольная переборка была настолько крепко связана с набором корпуса, что снять её не оказалось возможным. Передняя труба объединяла дымоходы восьми носовых котлов, а очень тонкая задняя - двух кормовых. Из-за этих переделок часть пространства перед новым КО №1 (прежде занятого КО №1) освободилась. Под нижней палубой оборудовали дополнительные топливные цистерны, чтобы увеличить радиус действия, а над НП разместили кубрики, пост управления зенитными автоматами и щитовую. 2) Прежнее расположение турбин оставили, заменив только лопатки. Проектная скорость при 110000 л.с. оценивалась в 33,3 узла, но “Фурутака” во время пробегов у постов Укушима 9 июня 1939 года смог достичь только 32,95 уз. при мощности 103340 л.с. и водоизмещении 10630 т. 3) Угольные бункеры заменили дополнительными нефтяными цистернами, которые появились также в нижней части новых булей и носовой части прежнего КО №1. Максимальная ёмкость цистерн составила 1858 т, что позволило поднять дальность на скорости 14 узлов до 7900 миль (ранее было 7000 миль по проекту), несмотря на возросшее водоизмещение. 4) Поскольку для вспомогательного оборудования стали широко использовать электроприводы, к прежним генераторам, работавшим от ДВС (общая мощность 315 кВт) добавили турбогенераторы: носовой в 300 кВт и два по 135 кВт в кормовой части МО. 6.4.4. Дополнительные модификации. Экипаж несколько увеличился и стал насчитывать 639 человек, из которых 50 офицеров. Жилые помещения расширили и обитаемость в них улучшили. Дополнительные кубрики и каюты оборудовали в прежних торпедных отсеках на СП. Из-за увеличения осадки иллюминаторы на уровне складской палубы заделали, а помещения на ней заняли под кладовые. Расширили устройства внутрикорабельной связи, установили средства защиты от отравляющих веществ: заслонки в шахтах вентиляции, дополнительные вентиляторы с антигазовыми фильтрами. Не защищенную до этого боевую рубку против штурмовых атак авиации обшили 36-мм плитами стали NVNC. ПОПЕРЕЧНОЕ СЕЧЕНИЕ КРЕЙСЕРОВ “ФУРУТАКА” (справа) и “АОБА” (слева) после модернизации ![]() 1 - нефтяные цистерны; 2, 3 - водонепроницаемый отсек и отсек сос стальными водонепроницаемыми трубами; 4 - кладовая; 5 - тоннель для кабелей; 6 - КО с переборкой по ДП. Толщина булей из стали D: 10(вверху)-16 (внизу) мм. |
![Иллюстрация к книге — Японские тяжелые крейсера.Том 1: История создания, описание конструкции, предвоенные модернизации. [img_43.jpg] Иллюстрация к книге — Японские тяжелые крейсера.Том 1: История создания, описание конструкции, предвоенные модернизации. [img_43.jpg]](img/book_covers/077/77629/img_43.jpg)
![Иллюстрация к книге — Японские тяжелые крейсера.Том 1: История создания, описание конструкции, предвоенные модернизации. [img_44.jpg] Иллюстрация к книге — Японские тяжелые крейсера.Том 1: История создания, описание конструкции, предвоенные модернизации. [img_44.jpg]](img/book_covers/077/77629/img_44.jpg)
![Иллюстрация к книге — Японские тяжелые крейсера.Том 1: История создания, описание конструкции, предвоенные модернизации. [img_45.jpg] Иллюстрация к книге — Японские тяжелые крейсера.Том 1: История создания, описание конструкции, предвоенные модернизации. [img_45.jpg]](img/book_covers/077/77629/img_45.jpg)