Онлайн книга «Тяжелые крейсера Японии. Часть I.»
|
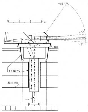
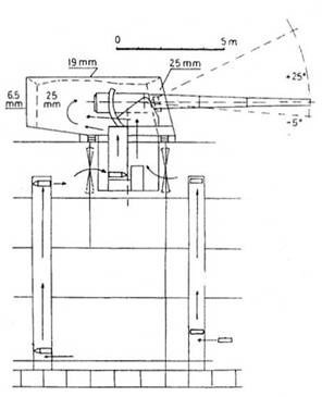
После достройки и до модернизации в 1932-1933 годах оба крейсера несли по четыре 80-мм/40 кал. зенитных орудия "типа 3 года" на пьедестальных установках без щитов с ручным заряжанием, которые располагались на верхней палубе по бокам от дымовых труб. Скорость горизонтальной наводки равнялась 11 град/с, скорость вертикальной наводки 7 град/с, проектная скорострельность 13-18 выстр./ мин., дальность стрельбы по горизонтали 10800 м. по вертикали при при максимальном угле возвышения 75° 6800м. Общая длина ствола равнялась 3,2 м. вес с затвором достигал 600 кг, ствол имел 21 нарез, живучесть ствола равнялась 1200-2000 выстрелов. Стрельбы, проведенные в 1926 году линкорами 1-й эскадры (“Нагато”, “Фусо”, "Исё" и "Ямаширо") и 2-й эскадры (“Кирисима". “Хией"), на которых тогда стояли эти орудия, дали 4.57'/. попадании. Стрельба велась с управлением по дальномерам, со средним темпом 11,2 выстрела в минуту, на дистанции 3000 м по парусиновой цели, буксируемой гидросамолетом со скоростью 60 узлов (110 км/ч). Сами линкоры шли со скоростью 15 узлов. Для ближней защиты от самолетов на мостике установили два 7.7-мм пулемета системы Льюиса, которые импортировались из Англин и были приняты на вооружение в 1925 году. Эти пулеметы оказались слишком тяжелыми и ненадежными. Их скорострельность составляла 550 выстр./мин.. а эффективная дальность стрельбы всего 1000 м. Для управления стрельбой 200-мм орудий сохранили систему наведения “слежение за указателем". Основной центральный автомат стрельбы (директор) "типа 14" стоял на верху носовой надстройки, а резервный такого же типа – на крыше самолетного ангара. Оба эти прибора можно было использовать также и при стрельбе по воздушным целям, поскольку их 64-мм телескопы модели "L" слежения за целью с мощностью увеличения 6-7 раз (с 23 июля 1927 года переименованы в 6-см полузенитные телескопы") имели угол возвышения 90°. Основной центральный автомат стрельбы (Хойбаи) размещался в посту управления огнем почти и 22 м над ВЛ. в соответствии с внутренним приказом по морской артиллерии №18 от 24 апреля 1923 года, устанавливавшим структуру "устройств управления артиллерийским боем” для линкоров, крейсеров и эсминцев. Сразу под ним, в визирном посту, находилось устройство слежения за целыо (Сокутекибаи) "типа 13", которое подсчитывало скорость цели и дистанцию до неё. Из-за большой высоты расположения этих устройств пришлось принять специальные меры для уменьшения их вибрации, возникавшей при стрельбе орудий. Замена на линкоре “Нагато” треногой фок-мачты. несущей все устройства управления артиллерийским огнем, на семиугольную, не дала полностью удовлетворительных результатов. Поэтому, при проектировании крейсеров типа "Миоко" в 1923 году помощник Хираги Фудзнмото предложил принять мачты типа “пагода”, которые явились как бы развитием американских "решетчатых” мачт, но были полностью зарытыми по наружной поверхности. После исследований на виброустойчивость "пагоды" приняли для проектов "Миоко” и “Аоба". а также для уже строившихся крейсеров "Фурутака” и “Како”, чей проект соответственно модифицировали. ![]() Тяжелые крейсера типа "Фурутака”. 1928 г (Продольный разрез башенной установки для 200-мм/50 кал. орудия) ![]() Тяжелые крейсера типа "Фурутака”. 1937 г (Продольный разрез башенной установки для двух 203-мм/50 кал. орудий) Для определения дистанции на крейсерах имелось по четыре дальномера “бинокулярной совмещающей системы" с базой 3,5 м. установленных по два на борт на уровне компасного мостика и кормового поста управления артиллерийским огнем (резервного). Для ночных боев предусматривалось три 90-см прожектора типа “SU". Один по диаметральной плоскости над компасным мостиком и два между трубами (левый ближе к носу, оба на одном уровне). Эти прожекторы, впервые появившиеся в 1918 году, заметши прожекторы фирмы “Сименс". Последние оказались недостаточно мощными и излучали изохроматический свет, а новые типа “SU” голубовато-белый с интенсивностью 9000 свечей на 1 м² при силе тока 150А и напряжении 75В, что позволяло вести стрельбу на дистанции 3500-4000 м. Вертикальная наводка прожекторов производилась в пределах от -30° до +100°. Управлялись они из специального поста, размещенного в нижней части носовой надстройки, или из постов управления огнем главного калибра (носового и кормового резервного). По проекту торпедное вооружение не предусматривалось. однако оба крейсера вошли в строй, имея по 12 неподвижных торпедных аппаратов. Установка на крейсерах "класса А” тяжелого торпедного вооружения произошла по требованию МГШ и вопреки мнению проектантов корабля. После подписания Вашингтонского договора, планируя возможное генеральное сражение, МГШ чтобы компенсировать ограничения, наложенные на линейные силы, стал придавать большое значение ночному бою и торпедным атакам. Эта же концепция привела к созданию эсминцев "специального" типа (головной “Фубуки”), и к перевооружению в 1941 году двух 5500-тонных крейсеров типа “Кума" в "торпедные крейсера” с десятью четырехтрубными 610-мм торпедными аппаратами каждый. Сначала предполагалось установить на крейсера типа “Фурутака” поворотные аппараты на верхней палубе: но диаметральной плоскости, как на "Юбари”, или по бортам, как на 5500-тонных крейсерах. Но большая высота борта (по проекту 5.5 м против 4 м па 5500- тонных) заставила перенести аппараты на палубу ниже, а также сделать их спаренными неподвижными, чтобы дать им лучшую защиту (плиты стали НТ толщиной 19-25.4 мм). Торпедные аппараты установили внутри корпуса: четыре пары труб “типа 12 года" (1923 г.) над машинными отделениями и две пары между башенной установкой главного калибра №3 и носовой надстройкой. Из-за недостаточной ширины корпуса аппараты правого и левого бортов несколько смещались относительно друг друга по длине корабля. Нормальный запас торпед включал 12 ед.. по в военное время предполагалось нести ещё 12 резервных "типа 8 года № 2". Торпеды имели длину 8.415 м. калибр 610-мм. вес 2362 кг, боеголовку с 346 кг взрывчатого вещества "шимоза". Дальность хода составляла 20000 м на скорости 27 узлов. 15000 м. на 32 узлах и 10000 м. па 38 узлах. В дальнейшем опасения проектантов по вопросу безопасности торпедного оружия полностью подтвердились и в ходе войны на Тихом океане, когда около 50% японских тяжелых крейсеров погибло именно после детонации собственных торпед, имевших кроме мощнейшего заряда еще и взрывоопасные кислородные двигатели. Не помогли и принятые меры предосторожности: после модернизации крейсеров поворотные торпедные аппараты, располагали на спонсонах, чтобы при развороте их по траверзу боеголовки торпед оказывались как можно дальше от борта, а запасные торпеды помещали в специальные бронированные ящики. ![]() Тяжелые крейсера типа “Фурутака”. 1935 г (Наружный вид центральной части) |
![Иллюстрация к книге — Тяжелые крейсера Японии. Часть I. [pic_7.jpg] Иллюстрация к книге — Тяжелые крейсера Японии. Часть I. [pic_7.jpg]](img/book_covers/077/77617/pic_7.jpg)
![Иллюстрация к книге — Тяжелые крейсера Японии. Часть I. [pic_8.jpg] Иллюстрация к книге — Тяжелые крейсера Японии. Часть I. [pic_8.jpg]](img/book_covers/077/77617/pic_8.jpg)
![Иллюстрация к книге — Тяжелые крейсера Японии. Часть I. [pic_9.jpg] Иллюстрация к книге — Тяжелые крейсера Японии. Часть I. [pic_9.jpg]](img/book_covers/077/77617/pic_9.jpg)