Книга Первые русские броненосцы, страница 4 – Владимир Грибовский

Авторы: А Б В Г Д Е Ж З И Й К Л М Н О П Р С Т У Ф Х Ч Ш Ы Э Ю Я
Книги: А Б В Г Д Е Ж З И Й К Л М Н О П Р С Т У Ф Х Ц Ч Ш Щ Ы Э Ю Я
Бесплатная онлайн библиотека LoveRead.ec

Онлайн книга «Первые русские броненосцы»

📃 Cтраница 4

Ввиду невыясневшегося еще распределения орудий между пароходами активной обороны и плавучими батареями решили вначале ограничиться постройкой в Николаевском адмиралтействе первых двух плотов для обороны Очакова. 19 апреля 1877 г. спустили на воду платформу и четыре понтона мортирной плавучей батареи № 1. 27 апреля погрузили в Адмиралтействе орудия, уложили якоря и цепи, а 30 апреля по приказу главного командира мортирная плавучая батарея № 1, зачисленная в третий ранг кораблей флота, подняла гюйс и начала кампанию. Командиром батареи еще 15 апреля был назначен капитан-лейтенант Д. Д. Постников, бывший до этого старшим офицером корвета "Львица", помощником и артиллерийским офицером — прапорщик корпуса морской артиллерии A.M. Яковлев [* Андрей Николаевич Яковлев (переведен вторым артиллерийским офицером на пароход активной обороны "Веста") героически погиб 1 июля в беспримерном сражении у Кюстенджи (ныне Констанца) небронированной "Весты" с турецким броненосцем "Фетхи-Буленд".].

27 июня его сменил поручик Д. М. Коняев. а 22 сентября вместо него прибыл прапорщик Н. Н. Тухтеев. Команду составляли 2 унтер-офицера, 5 комендоров и 23 матроса. По требованию начальника морской и береговой обороны Очакова вице-адмирала И. Г. Руднева, опасавшегося скорого появления турецкого флота, батарею решено было отправить на позицию, не ожидая доставки брони. Приняв в Спасске боеприпасы, батарея на буксире военной шхуны "Ингул" 1 мая перешла в Очаков.

Пробная стрельба бомбами из установленных на батарее трех 152-мм нарезных мортир и картечью из двух 152-мм гладкострельных орудий подтвердили надежность конструкции батареи, не имевшей ни малейших сотрясений. Однако непрекращавшаяся течь в понтонах, доходившая до уровня 0,5 м в сутки, заставила, выгрузив орудия и боеприпасы, вернуть батарею 13 мая в Николаев. Ее сменила спущенная 20 мая на воду батарея № 2.

После подъема на эллинг выяснилось, что почти все доски понтонов батареи № 1 были выпилены из сырого леса, давшего из-за рассыхания к концу постройки многочисленные и глубокие трещины. Недостаточная конопатка была к тому же нарушена из-за чрезмерных деформаций корпусов понтонов при их принудительном подведении под платформу с помощью твердого балласта. В результате такой неумеренной экономии потребовались дополнительные средства и время на исправление дефектов. Работа эта с заменой ряда понтонов и бочек была выполнена корабельным инженером поручиком С. Ф. Корнеевым.

18 и 28 июля обе батареи вновь, и на этот раз без приключений, заняли свои места на позиции в лимане. Батареей № 2 с 29 апреля командовал капитан-лейтенант С.И. Денисов, артиллерийским офицером батареи был прапорщик А.А. Курта. Боевыми трубками при стрельбе из мортир заведывал унтер-офицер Петр Курапов. В сентябре он за отличную службу был произведен в кондукторы. Вместо него прибыл назначенный на должность артиллерийского содержателя унтер-офицер 1-ой статьи Соколов. С наступлением зимних холодов на батареях, не имевших жилых помещений для команды, дежурили смены из шести человек, а остальные размещались на располагавшихся поблизости обслуживавших шхунах " Бомборы" и " Новороссийск".

Работы в Керчи осложнялись отсутствием сколько-либо солидных мастерских, кузницы и нехваткой леса. Горько, и не раз, наверное, приходилось старожилам порта и инженерам вспоминать о близоруком, если не сказать больше, отказе Морского министерства от сооружения 10 лет назад в Керчи верфи броненосного судостроения. Тогда был готов к осуществлению проект 6-пушечной (для 229-мм) орудий броненосной плавучей батареи.

Дело погубила "инициатива" великого князя Константина Николаевича, который в угоду "сбалансированности и бездефицитности", как сказали бы мы сегодня, государственного бюджета добровольно, собственными руками, урезал смету расходов Морского министерства чуть ли не на треть. Тогда в архив сдали проекты и верфи, и батарей, ликвидировали еле дышавшую на ладан черноморскую флотилию и упразднили военный порт в Севастополе. Это был самый (не считая еще предстоявших поповок) негосударственный шаг слывшего большим либералом великого князя. Он тогда оставил флот у разбитого корыта. Плоды устроенной им в Черном море разрухи приходилось теперь пожинать и в Керчи.

Вместо отличной, по последнему слову оснащенной верфи (все станки для нее уже начинали тогда заказывать в Англии) инженеры теперь располагали лишь чудом уцелевшей после Крымской войны допотопной техникой воистину "времен Очакова и покоренья Крыма". С бору да по сосенке собирали и материалы.

Для первой и частью для второй керченских батарей 500 трехсаженных бревен диаметром 7 вершков и 1500 сосновых досок толщиной 64 мм были получены взаймы из " инженерного оборонительного запаса" от строителя Керченской крепости генерал-майора К. Э. Седергольма.

Военная обстановка торопила. 2 мая от шкипера пришедшего в порт греческого судна стало известно о турецкой эскадре вблизи Анапы, в море перед линией минных заграждений были замечены огни судов. Корпус батареи № 3, заложенной 1 апреля 1877 г., был готов уже 17 мая. Готовность задерживалась изготовлением в кузнице железных обойм для крепления понтонов. Приходилось на ходу импровизировать, заменяя, например, требовавшиеся по чертежам литые детали клюзов и кнехтов изготовленными из листового железа. 21 мая батарея была спущена на воду, течи ни в свободных отсеках, ни в крюйт-камерах не обнаружилось.

Успешной была и пробная стрельба из всех трех мортир холостыми боевыми зарядами при углах возвышения от 45° до 55°. Как доносил главному командиру "начальник отряда военных судов в Керчи" капитан 1-го ранга Э.О. Викорст, батарея при стрельбе колебаний не имела, течи в понтонах не появлялось.

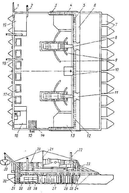
Иллюстрация к книге — Первые русские броненосцы [pic_4.jpg]

Батарейный плот постройки 1877–1878 гг. (Вид сверху и продольный разрез)

1 — железная фиш-балка; 2-крамбол; 3 — верти кал ьн ые деревянные брусья под броней траверза; 4-броневые плиты траверза; 5-киповые планки; 6-броневые плиты бруствера; 7-понтоны; 8-229-мм нарезное орудие на поворотной платформе; 9-погоны для поворота орудия; 10-железный камбуз; 11-амбразура; 12-верти кальн ые деревянные брусья носового бруствера; 13-банкетка для скорострельного нарезного орудия; 14-палубная решетчатая площадка забортного трапа; 15-забортный трап; 16-каюта командира; 17-люки входа в крюйт-камеры; 1 8-деревянные шлюпбалки; 19-офицерская каюта; 20- фальшборт; 21 — тентовая стойка; 22-труба камбуза; 23-крепление переднего штыря платформы орудия; 24-поперечные брусья платформы плота; 25-вертикальная переборка в корпусе понтона; 26- днище понтона; 27-бочка; 28-боеприпасы в крюйт-камере; 29-настил крюйт-камеры; 30-горизонтальная водоотливная труба; 31-трап в крюйт-камеру; 3 2-вертикальная труба для откачивания воды из отсеков понтонов; 33-6-весельный ял.


Ввиду отсутствия в Керчи предусматривавшихся в качестве дополнительного к мортирам вооружения 152-мм гладкоствольных пушек временно решили установить 107-мм нарезные орудия. Команду назначили с военной шхуны "Салгир", которую с вступлением в строй батарей разоружили, и вместе с плавучим маяком она должна была обеспечивать снабжение обеих батарей. На позициях батареи обслуживала военная шхуна "Пицунда", выполнявшая при необходимости и роль буксировщика. В ее вахтенном журнале вписывались и главнейшие события службы и плаваний батарей. Это была новая реально осуществленная форма боевого комплекса "батарея-буксировщик".

Реклама
Вход
Поиск по сайту
Ищем:
Календарь