Онлайн книга «Т-34 История танка»
|
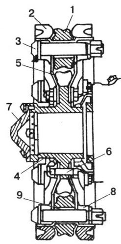
Помимо Красной Армии в период Второй мировой войны танки Т-34 состояли на вооружении Народного Войска Польского, Народно-освободительной армии Югославии (НОАЮ) и Чехословацкого корпуса. ![]() Танк Т-34 "утюжит" немецкую артиллерийскую батарею. Судя по положению станин 105-мм гаубицы, ее расчет пытался покинуть позицию, но сделать этого не успел. Центральный фронт, 1943 год ![]() Танк Т-34 и его экипаж из состава 1-й польской танковой бригады имени Героев Вестерплатте. Зима 1943/44 года. Следует отметить, что основные специалисты — командиры машин (они же наводчики) и механики-водители были откомандированы в Войско Польское из Красной Армии Варианты литых башен улучшенной формы ![]() завод № 183, 1942 год ![]() УЗТМ, 1942 год ![]() УЗТМ, 1943 год ![]() Передача экипажам танковой колонны "Североморец", построенной на средства моряков Северного флота. Зима 1944 года С июля 1943 года по январь 1945-го Войско Польское получило 118 танков Т-34, главным образом с завода "Красное Сормово" и ремонтных предприятий. На момент окончания боевых действий в Европе в различных польских воинских частях (1-й танковой бригаде, Офицерской танковой школе, 3-м учебном танковом полку и др.) имелось 62 танка этого типа. Некоторое количество этих машин переоборудовали в БРЭМ и эксплуатировали еще в 50-х годах. Указать точное количество танков, полученных НОАЮ и Чехословацким корпусом, не представляется возможным. По-видимому, речь может идти о нескольких десятках единиц. Трофейные танки Т-34 в ограниченном количестве использовались в Вермахте. В частности, во время наступления под Курском летом 1943 года в моторизованной дивизии СС "Рейх" имелось 25 "тридцатьчетверок". На части из них немцы установили свои командирские башенки. В финской армии число танков Т-34 не превышало 9 единиц, 7 из которых эксплуатировались до 1960 года. Незначительное количество Т-34 использовалось в частях венгерской и румынской армий, а также в Русской освободительной армии генерала Власова. ![]() Экипаж готовит машину к боям. 30-я гвардейская танковая бригада, Ленинградский фронт, зима 1943 года ![]() В феврале — марте 1944 года в войска начали поступать танки Т-34-85. В частности, примерно в это время их получили соединения 2-го, 6-го, 10-го и 11-го гвардейских танковых корпусов. К сожалению, эффект от первого боевого применения новых танков был невысоким, так как бригады получали всего по нескольку машин. Большинство в них составляли "тридцатьчетверки" с 76-мм пушками. К тому же совсем мало времени отводилось в боевых частях на переподготовку экипажей. Вот что по этому поводу писал в своих воспоминаниях М.Е. Катуков, в апрельские дни 1944-го командовавший 1-й танковой армией, которая вела тяжелые бои на Украине: "Пережили мы в те трудные дни и радостные минуты. Одна из таких — приход танкового пополнения. Получила армия, правда, в небольшом количестве, новые "тридцатьчетверки", вооруженные не обычной 76-мм, а 85-мм пушкой. Экипажам, получившим новые "тридцатьчетверки", пришлось дать всего два часа на их освоение. Больше дать мы тогда не могли. Обстановка на сверхшироком фронте была такая, что новые танки, обладавшие более мощным вооружением, надо было как можно скорее ввести в бой". Одним из первых Т-34-85 с пушкой Д-5Т получил 38-й отдельный танковый полк. ![]() ![]() ![]() Ведущие колеса танков Т-34 разных периодов выпуска. Вверху — раннего образца, с фиксацией осей роликов корончатыми гайками. В центре — цельнолитое без роликов образца 1942 года. Внизу — позднего образца, с фиксацией осей роликов чеками ![]() Ведущее колесо раннего образца: 1 —ролик: 2 — бандаж; 3 — ось ролика; 4 — ступица колеса; 5 — диск колеса; 6 — стяжной болт; 7 — броневой колпак; 8 — бонка; 9 — втулка ![]() Ведущее колесо позднего образца: 1 — кольцо; 2 —ролик; 3 — ось ролика; 4 — броневой колпак; 5 — болт; 6 — чека ![]() Экипажи югославского танкового полка, сформированного в СССР, получают боевую задачу, 1944 год ![]() ТО-34 в засаде. 47-й отдельный огнеметный танковый полк. Прибалтика, октябрь 1944 года Эта часть имела смешанный состав: помимо Т-34-85 в ней находились и огнеметные танки ОТ-34. Все боевые машины полка были построены на средства Русской православной церкви и несли на своих бортах название "Димитрий Донской". В марте 1944 года полк вошел в состав 53-й общевойсковой армии и принял участие в освобождении Украины. В заметном количестве Т-34-85 использовались в ходе наступления в Белоруссии, начавшегося в конце июня 1944 года. Они составляли уже более половины из 811 "тридцатьчетверок", принимавших участие в этой операции. В массовом же порядке Т-34-85 применялись в боевых действиях в 1945 году: в Висло-Одерской, Померанской, Берлинской операциях, в сражении у озера Балатон в Венгрии. В частности, накануне Берлинской операции укомплектованность танковых бригад боевыми машинами этого типа была почти стопроцентной. |
![Иллюстрация к книге — Т-34 История танка [img_121.jpg] Иллюстрация к книге — Т-34 История танка [img_121.jpg]](img/book_covers/077/77240/img_121.jpg)
![Иллюстрация к книге — Т-34 История танка [img_122.jpg] Иллюстрация к книге — Т-34 История танка [img_122.jpg]](img/book_covers/077/77240/img_122.jpg)
![Иллюстрация к книге — Т-34 История танка [img_123.jpg] Иллюстрация к книге — Т-34 История танка [img_123.jpg]](img/book_covers/077/77240/img_123.jpg)
![Иллюстрация к книге — Т-34 История танка [img_124.jpg] Иллюстрация к книге — Т-34 История танка [img_124.jpg]](img/book_covers/077/77240/img_124.jpg)
![Иллюстрация к книге — Т-34 История танка [img_125.jpg] Иллюстрация к книге — Т-34 История танка [img_125.jpg]](img/book_covers/077/77240/img_125.jpg)
![Иллюстрация к книге — Т-34 История танка [img_126.jpg] Иллюстрация к книге — Т-34 История танка [img_126.jpg]](img/book_covers/077/77240/img_126.jpg)
![Иллюстрация к книге — Т-34 История танка [img_127.jpg] Иллюстрация к книге — Т-34 История танка [img_127.jpg]](img/book_covers/077/77240/img_127.jpg)
![Иллюстрация к книге — Т-34 История танка [img_128.jpg] Иллюстрация к книге — Т-34 История танка [img_128.jpg]](img/book_covers/077/77240/img_128.jpg)
![Иллюстрация к книге — Т-34 История танка [img_129.jpg] Иллюстрация к книге — Т-34 История танка [img_129.jpg]](img/book_covers/077/77240/img_129.jpg)
![Иллюстрация к книге — Т-34 История танка [img_130.jpg] Иллюстрация к книге — Т-34 История танка [img_130.jpg]](img/book_covers/077/77240/img_130.jpg)
![Иллюстрация к книге — Т-34 История танка [img_131.jpg] Иллюстрация к книге — Т-34 История танка [img_131.jpg]](img/book_covers/077/77240/img_131.jpg)
![Иллюстрация к книге — Т-34 История танка [img_132.jpg] Иллюстрация к книге — Т-34 История танка [img_132.jpg]](img/book_covers/077/77240/img_132.jpg)
![Иллюстрация к книге — Т-34 История танка [img_133.jpg] Иллюстрация к книге — Т-34 История танка [img_133.jpg]](img/book_covers/077/77240/img_133.jpg)
![Иллюстрация к книге — Т-34 История танка [img_134.jpg] Иллюстрация к книге — Т-34 История танка [img_134.jpg]](img/book_covers/077/77240/img_134.jpg)
![Иллюстрация к книге — Т-34 История танка [img_135.jpg] Иллюстрация к книге — Т-34 История танка [img_135.jpg]](img/book_covers/077/77240/img_135.jpg)