Онлайн книга «Плавающий танк ПТ-76»
|
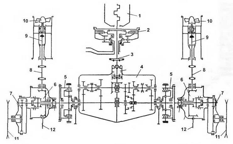
Бортовые передачи шестеренчатые одноступенчатые. ![]() Кинематическая схема трансмиссии: 1 — двигатель; 2 — главный фрикцион; 3 — зубчатая муфта; 4 — коробка передач; 5 — бортовые фрикционы; 6 — внутренние редукторы; 7 — бортовые передачи; 8 — карданные валы; 9 — приводы к насосам водометного движителя; 10 — рабочие колеса водометного движителя: 11 — ведущие колеса; 12 — приводы к водооткачивающим насосам ![]() Низкое удельное давление обеспечивало танку ПТ-76 хорошую проходимость на вязком грунте при выходе из воды на берег ХОДОВАЯ ЧАСТЬ танка применительно к одному борту состоит из шести пустотелых штампованных обрезиненных опорных катков диаметром 670 мм. Подвеска индивидуальная торсионная с гидравлическими амортизаторами на 1-м и 6-м катках. Ведущие колеса заднего расположения — литые с двумя зубчатыми венцами по 13 зубьев в каждом. Направляющее колесо — пустотелое с металлическим ободом. Гусеницы металлические мелкозвенчатые цевочного зацепления. В каждой гусенице 96 траков шириной 360 мм, шаг траков в гусенице 128 мм. ВОДОМЕТНЫЕ ДВИЖИТЕЛИ. В силовом отделении танка вдоль бортов корпуса установлены два водометных движителя реактивного действия. Каждый водометный движитель состоит из приемного патрубка, водяного насоса пропеллерного типа, водопроточной трубы, кормовых патрубков, заслонки, карданного вала и трубы заднего хода. Забор воды производится через входные окна, расположенные на днище корпуса. Окна экранированы защитными решетками. Перемычки решеток имеют обтекаемую форму для уменьшения сопротивления воды, поступающей к насосу. Насос выполнен одноступенчатым с 5-лопастным рабочим колесом диаметром 340 мм. За ним установлен направляющий аппарат. Последний представляет собой профилированные направляющие лопатки, служащие для выпрямления вращающегося потока воды с целью уменьшения потерь на трение. Водопроточная труба имеет переменное сечение: на входе 350 мм, а на выходе—235 мм. На выходе к трубе прикреплен кормовой патрубок, представляющий собой цилиндр с боковым отверстием. По периметру последнего приварена труба, предназначенная для осуществления на плаву движения задним ходом; другим концом труба вварена в верхний бортовой лист корпуса танка, имеющий окно с броневыми перегородками. Заслонки установлены снаружи вертикального кормового листа корпуса танка. Управление ими осуществляется с места механика-водителя. Водометный движитель включается и выключается также с места механика- водителя с помощью рычагов управления внутренними редукторами. ![]() Подвеска (с правого борта танка): 1 — балансир; 2 — боек; 3 — кронштейн; 4 — спиральная пружина; 5 — винт; 6 — торсионный вал; 1 — вкладыш; 8 — кронштейн оси балансира; 9 — кронштейн; 10 — буфер; 11 — винт; 12 — прокладка; 13 — захват; 14 — шайба; 15 — болт; 16 — пружинное кольцо; 17 — крышка; 18 — прокладка; 19 — кольцо лабиринта; 20 — сальниковое уплотнение; 21 — большая втулка; 22 — малая втулка; 23 — тяга амортизатора ![]() ПТ-76 поздних выпусков в хорошей комплектации можно увидеть в Военно-историческом музее бронетанкового вооружения и техники в Кубинке При включении водометного движителя вращение от ведущего вала внутреннего редуктора передается на рабочее колесо водяного насоса. Вода засасываемая насосами, проходит через направляющие аппараты, водопроточные трубы и при открытых кормовых патрубках с большой скоростью выбрасывается за корму танка, создавая при этом реактивный напор (силу тяги), под действием которого танк движется вперед. При закрытых кормовых патрубках вода перепускается через трубы заднего хода и выбрасывается в сторону носовой части танка под небольшим углом к его продольной оси; машина при этом движется кормой вперед. Прикрытие заслонкой одного кормового патрубка вызывает поворот танка. Полностью закрытому патрубку соответствует наименьший радиус поворота. ЭЛЕКТРООБОРУДОВАНИЕ выполнено по однопроводной схеме (за исключением дежурного освещения). Напряжение 24 В. Источники: генератор Г-731 мощностью 1,5 кВт, две аккумуляторные батареи 6-СТЭН-140М емкостью 140 А-ч каждая. Потребители: электростартер СТ-713, электродвигатели— поворота башни., вентилятора боевого отделения, маслозакачивающего насоса, водооткачивающего насоса и насоса системы дымопуска, фары, звуковой сигнал, контрольноизмерительные приборы, радиостанция, ТПУ. СРЕДСТВА СВЯЗИ. На ПТ-76 ранних выпусков установлены приемопередающая симплексная телефоно-телеграфная радиостанция 10-РТ-26Э и внутреннее переговорное устройство ТПУ-47. В конце 1950-х годов они заменены на приемопередающую телефонную радиостанцию с частотной модуляцией Р-113 и переговорное устройство Р-120. ![]() Водометный движитель: 1 — корпус водяного насоса: 2 — трубка для заправки смазки: 3 — водопроточная труба; 4 — внутренний редуктор; 5 — сопловый патрубок; 6 — корпус привода к заслонке; 7 — кормовой патрубок; 8 — заслонка: 9 — труба заднего хода; 10 — броневая перегородка: 11 — картер привода; 12— лопатки направляющего аппарата; 13 — рабочее колесо: 14 — решетка; 15— карданный вал: 16 — постамент; 17 — приемный патрубок ![]() На плаву ПТ-76 из состава разведывательного взвода 3-го танкового батальона финской армии. Весна 1980 года Радиус действия радиостанции Р-113 при радиосвязи с однотипной радиостанцией в условиях среднепересеченной местности при работе на 4-м штыревую антенну: при выключенном подавителе шумов и отсутствии посторонних радиопомех — не менее 20 км; при включенном подавителе шумов — до 10 км; при наличии посторонних помех радиоприему — 8 —12 км. В ходе капитального ремонта танков с конца 1960-х годов устанавливаются радиостанция Р-123 и переговорное устройство ТПУ-124. На корме башни снаружи укреплено переговорное устройство для командира десанта. ПРОТИВОПОЖАРНОЕ ОБОРУДОВАНИЕ. На танке ПТ-76 смонтирована противопожарная автоматическая углекислотная установка, два баллона которой содержат углекислый газ, заполняющий при пожаре пространство внутри танка. Четыре термозамыкателя расположены в силовом отделении. |
![Иллюстрация к книге — Плавающий танк ПТ-76 [img_49.jpg] Иллюстрация к книге — Плавающий танк ПТ-76 [img_49.jpg]](img/book_covers/077/77238/img_49.jpg)
![Иллюстрация к книге — Плавающий танк ПТ-76 [img_50.jpg] Иллюстрация к книге — Плавающий танк ПТ-76 [img_50.jpg]](img/book_covers/077/77238/img_50.jpg)
![Иллюстрация к книге — Плавающий танк ПТ-76 [img_51.jpg] Иллюстрация к книге — Плавающий танк ПТ-76 [img_51.jpg]](img/book_covers/077/77238/img_51.jpg)
![Иллюстрация к книге — Плавающий танк ПТ-76 [img_52.jpg] Иллюстрация к книге — Плавающий танк ПТ-76 [img_52.jpg]](img/book_covers/077/77238/img_52.jpg)
![Иллюстрация к книге — Плавающий танк ПТ-76 [img_53.jpg] Иллюстрация к книге — Плавающий танк ПТ-76 [img_53.jpg]](img/book_covers/077/77238/img_53.jpg)
![Иллюстрация к книге — Плавающий танк ПТ-76 [img_54.jpg] Иллюстрация к книге — Плавающий танк ПТ-76 [img_54.jpg]](img/book_covers/077/77238/img_54.jpg)