Книга Дневная книга (сборник), страница 6 – Милорад Павич

Авторы: А Б В Г Д Е Ж З И Й К Л М Н О П Р С Т У Ф Х Ч Ш Ы Э Ю Я
Книги: А Б В Г Д Е Ж З И Й К Л М Н О П Р С Т У Ф Х Ц Ч Ш Щ Ы Э Ю Я
Бесплатная онлайн библиотека LoveRead.ec

Онлайн книга «Дневная книга (сборник)»

📃 Cтраница 6

– Нет.

– Поэтому у тебя и нет любовника. Я только что купила новые духи «Elizabeth Arden Blue Grass», как и полагается для нового любовника, а здесь, у «Шекспира», отыскала эту чертову женскую версию. Это словарь, в котором на двести девяносто третьей странице нью-йоркского издания Кнопфа есть дырка, та самая, которую этот парень ищет в качестве предмета обмена. С такой штукой в руках я тут же позвоню по телефону из объявления. Интересно узнать, что есть в его экземпляре…

2–6
Черные и белые отделения

Если поднять крышку и открыть ящик, перед нами окажется поверхность для письма. Она ограничена латунной рамкой, оснащенной некоторыми вспомогательными устройствами, которые обеспечивают доступ в разные отсеки и части ящика.

Итак, в рамке расположены два замка и одно углубление для внутреннего ключа, который по размеру больше, чем ключ от внешнего замка. По форме он представляет собой трубку с треугольным отверстием в торце. В прошлом похожими инструментами пользовались зубные врачи, чтобы рвать зубы. Латунь, из которой сделан ключ, местами изъедена и покрыта зеленым налетом.

В верхней части ящика находится первый внутренний замок. При закрывании этого замка внутренним ключом возникает особый эффект. На дне ящика, из имеющегося там отверстия, при повороте ключа выступает винт. Для того чтобы во время качки ящик не упал со стола или с другой деревянной поверхности, с помощью упомянутого ключа и винта его можно прочно на ней зафиксировать. И пока ящик закрыт на ключ, винт остается недоступным.

«Будь у тебя хоть две левых руки, не украдешь!» – так сказал об этом хитром устройстве официант.

Между латунной рамкой ящика и покрытой сукном поверхностью для письма, в верхней его части, расположены пять маленьких отделений из светлого и темного дерева, напоминающих пять ванночек. В одном из них, по-видимому, когда-то находилась чернильница, так как на дереве осталось несколько зеленых клякс, а в другом – баночка с песком для посыпания свежих записей. Четыре из пяти ванночек квадратные, а пятая прямоугольная, она имеет форму корытца из темного тика и предназначена для перьевых ручек. В центре этого корытца есть небольшая дужка. Судя по всему, к нижней стороне этой ванночки можно было прикреплять промокательную бумагу, которая довольно быстро вытеснила из употребления песок. Таким образом, отделение для ручек могло использоваться и в качестве миниатюрного пресс-папье.

Два отделения пусты.

В прямоугольном корытце лежит темно-зеленая ручка из кедра, на конце ее закреплен медный держатель, куда вставляют перо.

В соседней ванночке осталось немного красноватого песка; кроме того, там лежит старый свисток в форме фаллоса и стеклянная пробка от флакона, который в ящике не обнаружен. Свисток предназначен для того, чтобы вызывать души умерших. Звук у него странный, что-то похожее на «кмт! кмт! кмт!». Это зов, на который откликаются ледяные сны мертвых душ, когда они порой, чтобы согреться, забираются в теплые сны живых. Только тогда их и можно вызвать. Точнее, свисток служит для того, чтобы мог подать голос тот, кто хочет вызвать души мертвых. Если свистнуть три раза, вызовешь душу умершего и ее ледяной сон из их временного пристанища. Душа умершего и ее сон найдут тебя по звуку свистка. Таким образом, свисток предупреждает о том, что, возможно, существует нечто, что запрятано в шкатулке гораздо глубже, чем нам известно.

Короче говоря, если вы что-то ищете и не находите, не теряйте надежды. Может быть, это «что-то» найдет вас.

Что же касается стеклянной пробки от флакона, то, посмотрев сквозь нее на свет, можно, как под увеличительным стеклом, прочитать вырезанную на ее донышке надпись на греческом языке. Эта надпись в стеклянной пене выглядит так:

Не забывай, что твои годы идут парами, как сестры, как мать и дочь или как сестра и брат. А иногда как отчим и падчерица или как любовники…

Тот, кто догадается перевернуть стеклянную пробку и посмотреть с другой стороны, прочтет следующее:

Для того чтобы встретить ночь всех твоих ночей как день, нужно заранее понять, какова та пара лет, которая входит в твою жизнь.

В отделении, где когда-то была чернильница, сейчас находится пузырек с черной краской и палочка, с помощью которой женщины в азиатских и африканских странах раскрашивают боковую часть своих ступней.

II
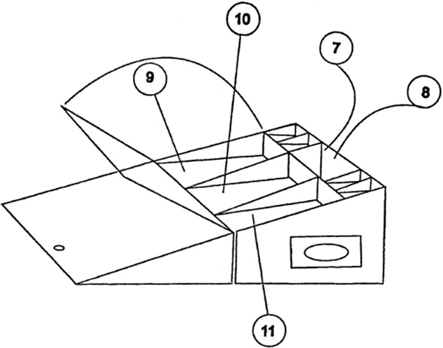
Средний уровень ящика для письменных принадлежностей
Иллюстрация к книге — Дневная книга (сборник) [i_003.jpg]

На этом уровне ящика для письменных принадлежностей расположены: выдвижной ящик из розового дерева (7), ящик из древесины ореха (8), а также три довольно больших отделения (9–11)


7
Ящик из розового дерева

Средний уровень ящика становится виден тогда, когда извлечешь оттуда ванночку для ручек (4). Под ней обнаруживается пустое пространство. Если теперь вынуть левую стенку средней ванночки, высвободится потайная пружина и на этом месте, слева, из глубины, выскочит выдвижной ящик из розового дерева (7), запрятанный до этого под ванночками. В нем лежат нож, вилка и прядь женских волос. Одновременно с появлением ящика начинает играть музыкальная шкатулка, скрытая где-то внутри так, что ее нельзя ни увидеть, ни пощупать, а можно только услышать.

У музыкальной шкатулки в запасе семь мелодий – по одной для каждого из семи морских ветров. Иными словами, она заводит ту или иную мелодию в зависимости от того, какой дует ветер. Стоит измениться ветру, меняется и мелодия. Так что мореплаватель мог определять направление ветра, не выходя из каюты, по звукам из музыкальной утробы, и узнавать, что за ветры свистят над палубой и когда происходит их смена. О сирокко предупреждала мелодия, начинавшаяся словами: «В рубашке тихой завтрашних движений…», если дул бора, слышалась песня «Тишина такая, как тогда, когда синие цветы молчат…», трамонтана завывал под звуки «День мой смеркается дважды…» и т. д.

8
Ящик из древесины ореха

Если убрать правую стенку средней ванночки, то и с этой стороны из пустоты выскочит, подброшенный пружиной, ящик из древесины ореха (8). В этом ящике лежит свернутая в трубку рукопись, закрученная в страницу, вырванную из какого-то комикса. На одной из картинок комикса изображен бык с пеной у рта. У него на спине, верхом, лицом друг к другу, сидят молодой человек и девушка. Текст комикса на английском, а картинка называется «Third Argument». Итак, если развернуть вырванную из комикса страницу, обнаружится рукопись. Она представляет собой тетрадь, страницы которой испещрены зелеными чернилами, бумага толстая и рыхлая, наподобие промокательной, с надписью на каждом листе, мелким шрифтом сообщающей, что это экологически чистый продукт. По обложке желтоватого цвета рассыпаны мелкие синие цветы. Сама рукопись составлена мужской рукой и напоминает дневник, в который кое-где вклеены вырезки из отпечатанного типографским способом текста. Далее целиком приводится текст дневника со всеми вставками. Написано в Париже на сербском языке.

Реклама
Вход
Поиск по сайту
Ищем:
Календарь