Книга Дневная книга (сборник), страница 11 – Милорад Павич

Авторы: А Б В Г Д Е Ж З И Й К Л М Н О П Р С Т У Ф Х Ч Ш Ы Э Ю Я
Книги: А Б В Г Д Е Ж З И Й К Л М Н О П Р С Т У Ф Х Ц Ч Ш Щ Ы Э Ю Я
Бесплатная онлайн библиотека LoveRead.ec

Онлайн книга «Дневная книга (сборник)»

📃 Cтраница 11

«Любовные часы» – это стеклянный предмет, наполненный жидкостью, своего рода водяные часы. Из верхней емкости, имеющей форму колокольчика, жидкость капля за каплей падает в нижний колокольчик и отмеряет продолжительность любовного акта. Потом стеклянную вещицу переворачивают, и все начинается сначала. Следует напомнить, что такая клепсидра изобретена довольно давно, еще в древности, но используется и по сей день, правда, один ее полный цикл невозможно измерить нашей нынешней системой исчисления времени. Кроме того, она представляет собой и своеобразную разновидность рассказа без слов о том, что такое любовь. Потому что в таких часах моменты жизни и страсти не просто текут, перемежаясь друг с другом. Иногда одна или несколько капель времени падают вместе, иногда одна капля любовного времени крупнее, а следующая мельче, некоторые падают быстрее, а другие медленнее, или же капли наших страстей обгоняют друг друга. А иногда они столь мелки, что превращаются в непрерывную нить времен. Наконец, бывают и стремительные любовные дожди, которые пробивают медленные капли, если таковые окажутся на их пути. Однако они не могут влиться в вечность с той же неизбежностью, с которой падают сквозь время. В своей кульминационной точке резвые и вялые капли, продолжительные и скоропреходящие страсти на мгновение замирают и уравниваются. Все это мельтешение прекращается в самом конце пути, на границе впадения в вечность, и именно здесь достигается равновесие между быстрым и медленным течением, все капли оказываются у одного и того же устья, а страсть здесь, на самом своем дне, угасает.

Необходимо знать и еще кое-что. Мудрый грек, который три тысячи лет назад измерил, сколько длится любовное соитие мужчины и женщины, и придумал описанное здесь устройство, подарил любовникам еще одну возможность. Любовный акт может продолжаться и дольше, чем требуется для того, чтобы жидкость из верхнего стеклянного колокольчика перелилась в нижний. Так любовники могут измерять не свой, а чужой оргазм и получать подтверждение того, что их страсть длится дольше, чем чужая. Тогда их охватывает такое чувство, будто они поднялись над временем и продолжают любить друг друга даже после того, как время угасло в вечности…

* * *

Как уже говорилось, под клепсидрой лежит листок бумаги. Этот листок представляет собой не что иное, как письмо. Послание, отправленное по электронной почте и распечатанное на принтере фирмы «Эпсон». Послано оно неизвестной особой (по имени Лили?), написано по-французски и адресовано некоей мадемуазель Еве. Из Парижа в Париж.

Электронное письмо

Subject: Босния

From: L. Т.

То: Е. Т.

Сегодня я вспомнила Тимофея. Помнишь того моего странного любовника на белом быке, о котором уже давно нет ни слуху ни духу? Если вдуматься, станет ясно, что он обладал некоторыми познаниями и в моей профессии, правда довольно странными. Например, он говорил, что печь старее дома, то есть что человек сначала построил печь и только потом, по ее образцу, выдумал дом.

Теперь представь себе, звонит сегодня консьержка и приносит мне почту. Среди всего прочего нахожу странное письмо. Из Боснии! От Тимофея! Не поверишь, но он воюет в Боснии, причем на стороне сербов. Ужас! Пишет, что его буквально вытащили из машины посреди Белграда, узнали из документов, что он родился в Сараеве, и тут же отправили на фронт. Он даже сигарет не успел купить.

Сейчас на столе передо мной находятся компьютер, соленый чай из хрена и его письмо. Письмо написано, разумеется, по-французски, но меня изумило, что это совсем не тот французский, которым мой любовник изъяснялся в Париже и в Греции, когда мы были вместе. В письме я просто не могу узнать его. Это какой-то другой язык, будто бы кастрированный, и только мысль, передаваемая этим мертвым языком, иногда подает признаки жизни. Он пишет, что те, кто знает, что происходит в Боснии, – молчат, а те, кто не знает, – кричат во весь голос. «Если будешь писать мне, – добавляет он, – не называй меня при обращении господином. Это слово не соответствует моему реальному положению. На войне господ не бывает…»

В качестве post scriptum он добавил совершенно невероятную вещь. Представляешь, он пишет, давно прислал бы мне письмо, но не знал, как подписаться, потому что забыл свое имя!

11
Отделение с запахом сандалового дерева

В отделении с запахом сандалового дерева хранится крошечная женская глиняная трубка для курения опиума и мужская трубка «Могул». Название фирмы говорит о том, что она не могла быть куплена в магазине, а была сделана на заказ или получена в подарок. На трубке можно разглядеть посвящение на французском языке какому-то господину Т. М. от некоей мадам Л.: «На память о Греции». Рядом с трубкой лежит пачка круглых листочков бумаги, между ними рассыпаны щепотки табака. С помощью бумажек легко сделать «заряд», позволяющий быстро набить трубку. На одном из этих листочков записан интернет-адрес: http://www.khazars.com/visnja sa zlatnom kosticom. По этому адресу действительно можно найти и прочитать текст под таким названием, правда, возникает вопрос, следует ли вообще принимать во внимание этот текст из всемирной паутины, ведь это единственный предмет, который находится не в шкатулке для письма в качестве ее содержимого, а в фальшивой компьютерной бесконечности, которая называется cyberspase. Тот, кто не любит компьютеры, может не искать его, а просто пропустить.

III
Нижний уровень ящика для письменных принадлежностей
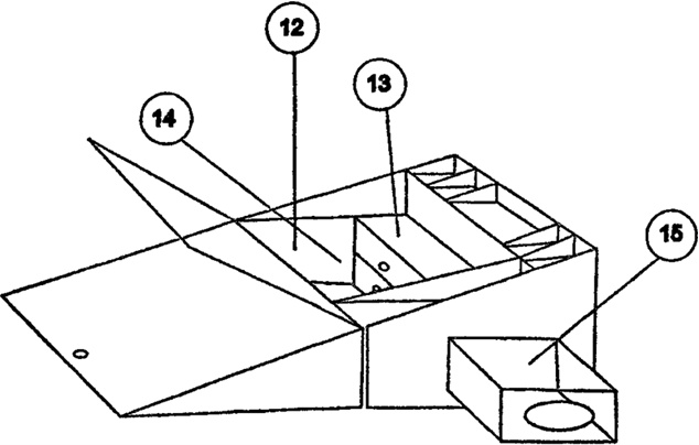
Иллюстрация к книге — Дневная книга (сборник) [i_004.jpg]

Нижний уровень ящика для письменных принадлежностей составляют: отделение для драгоценностей (12), ящичек для золотых монет (13) и колец (14). На этом же уровне расположен и внешний выдвижной ящик (15).


12
Отделение для драгоценностей

Тот уровень, который пора открыть сейчас, находится на самом дне шкатулки. Часть этого пространства занимает внешний выдвижной ящик (15), а остальное приходится на отделение для драгоценностей (12). Для того чтобы до него добраться, следует воспользоваться уже упоминавшимся большим внутренним ключом и замочной скважиной, расположенной в латунной раме рядом с углублением, в котором хранится ключ. При открывании замка дно левого отделения, обитого зеленым шелком, поднимается и открывает доступ к отделению для драгоценностей. Оно обито плюшем, цвет которого когда-то был рубиновым, а теперь приобрел оттенок печенки и пахнет позеленевшими медными монетами.

Ничего ценного в отделении для драгоценностей нет. Там лежит только телефонная микропленка, сделанная в Париже, какие используют в автоответчиках. На ней записан взволнованный мужской голос, цвет которого меняется, как времена года, и который на французском языке делает несколько попыток поговорить с кем-то в Париже. В неповрежденных местах пленки записано следующее:

Содержание пленки

Последние три ночи в Боснии я провел на чердаке пустого сеновала, внутри которого я укрыл танк и разместил своих солдат… Сава, черная и немая, как пашня, вздымалась в темноте, когда один из моих солдат зачерпнул из нее воды в оцинкованный тазик. Кажется, я слышал его сквозь сон. Осторожно, чтобы не разбудить меня, он поднялся по деревянным ступеням на балкон чердака, где я спал. На балконе стоял деревянный стул. Солдат поставил тазик на стул и положил возле него кусок мыла. Он проделал это так же, как всегда, заученными движениями. В зубах у него все время была зажата сосновая веточка. Потом он вынул ее изо рта и воткнул между досками пола таким образом, чтобы ее конец, пройдя через пол, был виден с веранды, крышей которой служил балкон. После этого он передвинул стул так, чтобы веточка оказалась точно под центром стоявшего на нем тазика. Затем спустился по деревянной лестнице на веранду и проверил, виден ли оттуда конец ветки. Он был хорошо виден, высовываясь между двумя досками потолка веранды, являвшегося одновременно полом моего балкона. Тут он осторожно передернул затвор и сел на ступеньки, ожидая, когда я проснусь.

Реклама
Вход
Поиск по сайту
Ищем:
Календарь