Книга Черное солнце Третьего рейха. Битва за "оружие возмездия", страница 68 – Джозеф Фаррелл

Авторы: А Б В Г Д Е Ж З И Й К Л М Н О П Р С Т У Ф Х Ч Ш Ы Э Ю Я
Книги: А Б В Г Д Е Ж З И Й К Л М Н О П Р С Т У Ф Х Ц Ч Ш Щ Ы Э Ю Я
Бесплатная онлайн библиотека LoveRead.ec

Онлайн книга «Черное солнце Третьего рейха. Битва за "оружие возмездия"»

📃 Cтраница 68

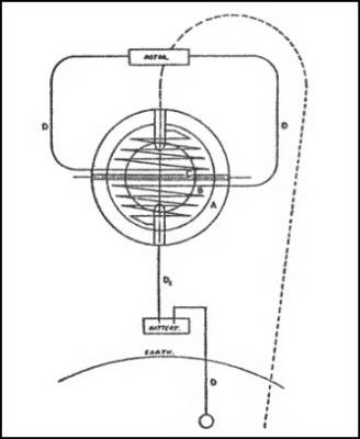
Изолятор, выполненный из керамического материала, помещен внутри стального шара так, чтобы в центральной части оставалось свободное место. Внутри этого свободного места и вокруг пространства между двумя магнитами намотаны две внутренних катушки. Обмотки начинаются у полюсов стержневых магнитов и заканчиваются в центре сферы контактами, от которых отходят выводы за пределы сферы к ротору. Эти катушки выполнены из полой медной трубки, заполненной специальным веществом под названием «электрет», состав которого держится в секрете. После выхода из сферы медные трубки, заполненные электретом, сменяются обычными медными проводами. Электрическое соединение осуществляется от наружной поверхности одного из полюсов к одному из полюсов специальной батареи, через землю замкнутой на другой полюс…

Этот электрет является постоянным магнитом, заключенным внутри сферы… Точный состав электрета, предложенного Шаппеллером, остается неизвестным, однако другой электрет создал профессор Мототаро Эгучи. Он состоит из воска коперниции восконосной и каучука, возможно, с добавлением небольшого количества пчелиного воска. Под действием сильного электромагнитного поля состав медленно запекается, превращаясь в твердое вещество [350].

Иллюстрация к книге — Черное солнце Третьего рейха. Битва за "оружие возмездия" [i_031.jpg]

Устройство, или Катушка Шаппелпера.

Перед тем как перейти к описанию предполагаемой работы этого устройства, важно отметить, что данное устройство очень похоже на некое устройство под названием «колокол», обнаруженное исследователем Ником Куком, которое будет описано ниже. Более того, мы увидим, какое отношение все эти странные катушки, сферы и «колокола» имеют к двум знаменитым предполагаемым крушениям НЛО после войны.

Теперь вернемся к устройству Шаппеллера и принципу его работы. То, что Шаппеллер называл «нейтральной областью», в науке называется границей Блоха магнита, той точкой, которая не является ни «севером», ни «югом». Эта точка представляла для Шаппеллера особый интерес. В его устройстве пустая область между двумя магнитами соответствует нейтральной границе Блоха [351]. Именно эта нейтральная область электрически заряжается, когда устройство подключается посредством заземления батареи. Результатом является новая разновидность магнетизма, светящийся магнетизм, при котором, согласно исследователям, изучавшим работы Шаппеллера, электричество стационарно, а магнетизм излучается [352]. Граница Блоха, точка нулевого магнетизма, отсутствия вращения и перемагничивания, согласно рассуждениям Шаппеллера, являлась той самой точкой, куда энергия входит и откуда она излучается в форме гравитации. Таким образом, согласно одной гипотезе, гравитация является квадруполем (имеет не два, а четыре полюса), излучающим в радиусе 360 градусов [353].

Но самым поразительным в трудах малоизвестного ученого Шаппеллера были его революционные, пророческие взгляды в области термодинамики, за которые современники без колебаний объявили бы его сумасшедшим, но которые тридцать пять лет спустя открыли новую волнующую область физических и химических исследований. Этой областью является кинетика неравновесных термодинамических систем.

Шаппеллеру было что возразить на Второй закон термодинамики. Он утверждал, что существует еще один неизвестный термодинамический цикл, протекающий вопреки Второму закону. Мы назовем эту гипотезу «обратной термодинамикой». Именно обращение Второго закона термодинамики приводит к уменьшению энтропии. Причем увеличение порядка сопровождается уменьшением тепла! Шаппеллер… построил свое сферическое устройство в первую очередь для того, чтобы продемонстрировать основополагающий принцип своей обратной термодинамики. Он не искал для него никаких практических применений [354].

И Шаппеллер, и Шаубергер полагались на физику, основанную не на абстрактных безжизненных процессах, к которой мы привыкли, а на физику живых, созидательных процессов. Однако взгляды Шаппеллера на термодинамику оказались воистину революционными, опередившими свою эпоху на несколько десятилетий. Лишь в 1977 году Илья Пригожин получил Нобелевскую премию по химии за то, что стал первопроходцем в изучении процессов самоупорядочивания, наблюдающихся в системах, доведенных до состояния высокого неравновесия [355]. Эта новая парадигма, поразительно простая, однако имеющая далеко идущие последствия, основывается на том, что в физике равновесие было заменено «неравновесием», особенно при анализе замкнутых систем [356].


1. Материал, поглощающий сигналы радаров, как источник нелинейных волн

Об опытах немецких ученых с прототипами материалов, поглощающих сигналы радаров (МПСР), уже упоминалось выше. Согласно рассказу подполковника ВВС США в отставке Тома Бирдена, в 1945 году немцы обнаружили, что воздействие радиолокационных волн на подобный нелинейный материал приводит к возникновению сверхсветовых продольных «волн сжатия». Тем самым они вывели науку далеко за границы линейной физики, которая оттачивалась до совершенства в лабораториях союзников, в основном в рамках «Манхэттенского проекта». Задумайтесь над информацией, которая была накоплена к настоящему моменту:

1) Немецкие ученые не отвергали концепцию эфира, заменив представление о статическом эфире, господствовавшее в XX веке, идеей динамического эфира.

2) Затем этот эфир дал толчок изучению сил и частиц, признаваемых обычной физикой, но только через различные морфологические комбинации вихревых и вращающихся структур, тем самым основной подход стал нелинейным или, другими словами, чисто топологическим.

3) Эти взгляды также сочетались как с оккультными доктринами первобытной материи, жизненной силы, «вихря», так и с теорией энергии нулевой точки, вытекающей из уравнений квантовой механики, истинно «немецкой», «арийской» науки.

4) Немецкие ученые объединяли экзотические идеи и технологии в необычные сочетания, наиболее яркими примерами чего являются:

а) эффекты импульсов высокого напряжения и фокусировки.

Реклама
Вход
Поиск по сайту
Ищем:
Календарь