Книга Средний танк PZ.IV. «Рабочая лошадка» Панцерваффе, страница 7 – Михаил Барятинский

Авторы: А Б В Г Д Е Ж З И Й К Л М Н О П Р С Т У Ф Х Ч Ш Ы Э Ю Я
Книги: А Б В Г Д Е Ж З И Й К Л М Н О П Р С Т У Ф Х Ц Ч Ш Щ Ы Э Ю Я
Бесплатная онлайн библиотека LoveRead.ec

Онлайн книга «Средний танк PZ.IV. «Рабочая лошадка» Панцерваффе»

📃 Cтраница 7
Иллюстрация к книге — Средний танк PZ.IV. «Рабочая лошадка» Панцерваффе [i_055.jpg]

На рисунке показана установка пулемета MG 34 на кронштейне командирской башенки.

Иллюстрация к книге — Средний танк PZ.IV. «Рабочая лошадка» Панцерваффе [i_056.jpg]

Судя по фото, этот пулемет предназначался не столько для ведения огня по воздушным целям, сколько для самообороны.

Танки Pz.IV первоначально оборудовали монокулярным телескопическим прицелом TZF 5b, а начиная с Ausf.E — TZF 5f или TZF 5f/1. Эти прицелы имели 2,5-кратное увеличение. Курсовой пулемет MG 34 оснащался 1,8-кратным телескопическим прицелом KZF 2.

Боекомплект пушки в зависимости от модификации танка колебался от 80 до 122 выстрелов. У командирских танков и машин передовых артиллерийских наблюдателей он составлял 64 выстрела. Боекомплект пулеметов — 2700…3150 патронов.

ДВИГАТЕЛЬ И ТРАНСМИССИЯ. На танке устанавливались двигатели Maybach HL 108TR, HL 120TR и HL 120TRM, 12-цилиндровые, V-образные (развал цилиндров — 60°), карбюраторные, четырехтактные, мощностью 250 л.с. (HL 108) и 300 л.с. (HL 120) при 3000 об/мин. Диаметры цилиндров 100 и 105 мм. Ход поршня 115 мм. Степень сжатия 6,5. Рабочий объем 10 838 см3 и 11 867 см3. Следует подчеркнуть, что оба двигателя были аналогичной конструкции.

Топливо — этилированный бензин с октановым числом не ниже 74. Емкость трех бензобаков 420 л (140+110+170). Танки Ausf.J имели четвертый топливный бак емкостью 189 л. Расход топлива на 100 км при движении по шоссе — 330 л, по бездорожью — 500 л. Подача топлива принудительная, с помощью двух топливных насосов Solex. Карбюраторов — два, марки Solex 40 JFF II.

Иллюстрация к книге — Средний танк PZ.IV. «Рабочая лошадка» Панцерваффе [i_057.jpg]

Таблица составлена на основе немецких источников.


Система охлаждения — жидкостная, с одним радиатором, расположенным наклонно с левой стороны двигателя. С правой стороны двигателя находились два вентилятора.

С правой стороны от двигателя был установлен двигатель DKW PZW 600 (Ausf.A — E) или ZW 500 (Ausf.E — H) механизма поворота башни мощностью 11 л.с. и рабочим объемом 585 см3. Топливом служила смесь бензина и масла, емкость топливного бака — 18 л.

Иллюстрация к книге — Средний танк PZ.IV. «Рабочая лошадка» Панцерваффе [i_058.jpg]

Сравнительные размеры двух выстрелов: противотанковой пушки PaK 40 (слева) и танковой — KwK 40. Вопреки расхожему мнению они не взаимозаменяемы.

Иллюстрация к книге — Средний танк PZ.IV. «Рабочая лошадка» Панцерваффе [i_059.jpg]

Двигатель Maybach HL 108TR.

Иллюстрация к книге — Средний танк PZ.IV. «Рабочая лошадка» Панцерваффе [i_060.jpg]
Иллюстрация к книге — Средний танк PZ.IV. «Рабочая лошадка» Панцерваффе [i_061.jpg]

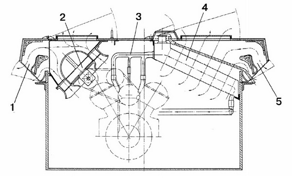
Схема охлаждения двигателя Maybach HL 120TRM:

1 — окна воздуховывода; 2 — откидной блок вентиляторов; 3 — трубопроводы системы охлаждения; 4 — радиатор; 5 — окна воздухопритока.


Трансмиссия состояла из карданной передачи, трехдискового главного фрикциона сухого трения, коробки передач, планетарного механизма поворота, бортовых передач и тормозов.

Пятискоростная коробка передач Zahnradfabrik SFG75 (Ausf.A) и шестискоростные SSG76 (Ausf.B — G) и SSG77(Ausf.H и J) — трехвальные, с соосным расположением ведущего и ведомого валов, с пружинными дисковыми синхронизаторами.

ХОДОВАЯ ЧАСТЬ танка применительно к одному борту состояла из восьми сдвоенных обрезиненных опорных катков диаметром 470 мм, сблокированных попарно в четыре балансирные тележки, подвешенные на четвертьэллиптических листовых рессорах; четырех (у части Ausf.J — трех) сдвоенных обрезиненных (кроме Ausf.J и части Ausf.H) поддерживающих катков.

Ведущие колеса переднего расположения имели два съемных зубчатых венца по 20 зубьев каждый. Зацепление цевочное.

Гусеницы стальные, мелкозвенчатые, из 101 (начиная с варианта F1 — 99) одногребневого трака каждая. Ширина гусеницы 360 мм (до варианта Е), а затем — 400 мм.

Иллюстрация к книге — Средний танк PZ.IV. «Рабочая лошадка» Панцерваффе [i_062.jpg]

Такое направляющее колесо использовалось на танках модификаций от F1 до H (вверху), а такое на машинах модификации J (внизу).

Иллюстрация к книге — Средний танк PZ.IV. «Рабочая лошадка» Панцерваффе [i_063.jpg]

ЭЛЕКТРООБОРУДОВАНИЕ было выполнено по однопроводной схеме. Напряжение 12 В. Источники: генератор Bosch GTLN 600/12-1500 мощностью 0,6 кВт (у Ausf.A — два генератора Bosch GQL300/12 мощностью по 300 кВт каждый), четыре аккумулятора Bosch емкостью 105 А*ч. Потребители: электростартер Bosch BPD 4/24 мощностью 2,9 кВт (у Ausf.A — два стартера), система зажигания, башенный вентилятор, контрольные приборы, подсветка прицелов, приборы звуковой и световой сигнализации, аппаратура внутреннего и внешнего освещения, звуковой сигнал, спуски пушки и пулеметов.

Иллюстрация к книге — Средний танк PZ.IV. «Рабочая лошадка» Панцерваффе [i_064.jpg]

* 3192 мм с гусеницами Ostkette и 3330 мм с бортовыми экранами.


СРЕДСТВА СВЯЗИ. Все танки Pz.IV оснащались радиостанцией Fu 5, с дальностью действия 6,4 км телефоном и 9,4 км телеграфом.

Иллюстрация к книге — Средний танк PZ.IV. «Рабочая лошадка» Панцерваффе [i_043.jpg]
БОЕВОЕ ПРИМЕНЕНИЕ

Первые три танка Panzer IV поступили в Вермахт в январе 1938 года. Общий заказ на боевые машины этого типа включал 709 единиц. План же на 1938 год предусматривал поставку 116 танков, и фирма Krupp-Gruson почти выполнила его, передав войскам 113 машин. Первыми «боевыми» операциями с участием Pz.IV стали аншлюсс Австрии и захват Судетской области Чехословакии в 1938 году. В марте 1939 года они прошли по улицам Праги.

Вход
Поиск по сайту
Ищем:
Календарь