Книга Истребитель Ла-5. Сломавший хребет Люфтваффе, страница 24 – Николай Якубович

Авторы: А Б В Г Д Е Ж З И Й К Л М Н О П Р С Т У Ф Х Ч Ш Ы Э Ю Я
Книги: А Б В Г Д Е Ж З И Й К Л М Н О П Р С Т У Ф Х Ц Ч Ш Щ Ы Э Ю Я
Бесплатная онлайн библиотека LoveRead.ec

Онлайн книга «Истребитель Ла-5. Сломавший хребет Люфтваффе»

📃 Cтраница 24

Безусловно, наилучший маскирующий эффект серо-голубая окраска давала в воздухе, как при наблюдении Як-9 на фоне земли, так и на фоне неба. В последнем случае она скрадывала размеры, а в некоторых случаях, и контур самолета, и расстояние до него.

Интересно, что в заключении серо-голубая окраска сравнивается не с новой трехцветной окраской, а только со стандартной двухцветной: «Серо-голубая окраска верхних и боковых поверхностей дает лучший маскирующий эффект по сравнению с принятой для серийных самолетов, стандартной двухцветной окраской. Серо-голубую окраску самолета Як-9 № 01-18 считать эталоном».

Отчет о сравнительных испытаниях не дает и ответа о том, кто предложил камуфляж из двух оттенков серого цвета. Из него видно, что маскировочная служба ВВС разработала трехцветную окраску; не могли быть авторами и специалисты НИИ ВВС, поскольку там даже не знали «рецептуру лаков, нанесенных на самолет». Вопрос остается открытым. Во всяком случае, для авиапромышленности новый камуфляж был более удобен, хотя бы по причине меньшей номенклатуры красок и их ингредиентов.

Говоря о стандартности камуфляжа, не следует думать, что все пятна на самолетах расположены всегда на одних и тех же (с точностью до сантиметров) местах и имеют одну и ту же форму на всех самолетах. Форма пятен бывала искажена. Со временем расположение и форма пятен на выпускаемых самолетах несколько изменялась по причине износа трафаретов и их замены. Кроме того, при окраске пульверизатором без трафарета четкие углы пятен становились скругленными. Это не могло считаться отступлением от стандартной схемы: ведь на ней был изображен некий стилизованный истребитель, кстати, с мотором водяного охлаждения, и не стояло ни одного размера! Но все же общность камуфляжа на фотографиях подавляющего большинства истребителей Ла-5 всех серий очевидна.

Дополнительной окраске на зимний период в белый цвет все самолеты с новым камуфляжем уже не подлежали.

Ла-5Ф выпуска завода № 21 на капоте имели букву «Ф» в круге. На капоты Ла-5ФН сначала также наносили литеры «ФН» в круге белого цвета, но позднее эта надпись приняла более известный вид: буквы начали вписывать в ромб. Начиная с Ла-5ФН, бортовые номера начали наносить большими белыми цифрами высотой во весь фюзеляж.

Множество Ла-5 имели на борту различные тактические обозначения, указывающие на принадлежность самолета к авиаполку и дивизии. Как правило, эти обозначения представляли собой полосы, обычно белые, нанесенные вокруг хвостовой части фюзеляжа. Кроме полос встречались окрашенные в какой-нибудь контрастный цвет (красный, белый, желтый) законцовки крыла или верхушки киля (так называемые «пилотки»).

Часто на Ла-5 наносились дарственные надписи, личные эмблемы пилотов и обозначения побед. Чтобы описать все известные варианты таких индивидуальных окрасок, потребовалась бы отдельная книга.

Иллюстрация к книге — Истребитель Ла-5. Сломавший хребет Люфтваффе [i_120.jpg]

Ла-5ФН 159-го иап, Лавенсаари, 1944 г.

Иллюстрация к книге — Истребитель Ла-5. Сломавший хребет Люфтваффе [i_121.jpg]
Иллюстрация к книге — Истребитель Ла-5. Сломавший хребет Люфтваффе [i_122.jpg]
КРАТКОЕ ТЕХНИЧЕСКОЕ ОПИСАНИЕ
Иллюстрация к книге — Истребитель Ла-5. Сломавший хребет Люфтваффе [i_123.jpg]
Иллюстрация к книге — Истребитель Ла-5. Сломавший хребет Люфтваффе [i_124.jpg]

Ла-5 — деревянный низкоплан. Основным конструкционным материалом была сосна. Для изготовления полок коробчатых лонжеронов крыла и некоторых шпангоутов использовали дельта-древесину. Деревянные детали планера склеивали смоляным ВИАМ-Б-3 или карбамидным клеем КМ-1.

Крыло — двухлонжеронное, состоящее из центроплана и двух отъемных частей (консолей), набиралось из двояковыпуклых несимметричных профилей NACA-23016 и NACA-23010 относительной толщиной 16 и 10% соответственно и технологически делилось на центроплан и консоли. Между лонжеронами центроплана находились выклеенные из фанеры два кессона для топливных баков.

Иллюстрация к книге — Истребитель Ла-5. Сломавший хребет Люфтваффе [i_125.jpg]
Иллюстрация к книге — Истребитель Ла-5. Сломавший хребет Люфтваффе [i_126.jpg]

Консоль крыла

Иллюстрация к книге — Истребитель Ла-5. Сломавший хребет Люфтваффе [i_127.jpg]

Фюзеляж ЛА-5

Иллюстрация к книге — Истребитель Ла-5. Сломавший хребет Люфтваффе [i_128.jpg]

Конструкция центроплана самолета ЛА-5

Иллюстрация к книге — Истребитель Ла-5. Сломавший хребет Люфтваффе [i_129.jpg]

Конструкция руля высоты самолета Ла-5

Иллюстрация к книге — Истребитель Ла-5. Сломавший хребет Люфтваффе [i_130.jpg]

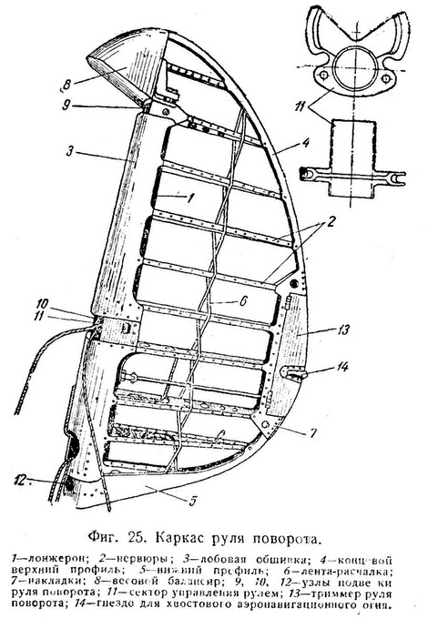
Конструкция руля поворота самолета Ла-5

Иллюстрация к книге — Истребитель Ла-5. Сломавший хребет Люфтваффе [i_131.jpg]

Конструкция элерона самолета Ла-5

Иллюстрация к книге — Истребитель Ла-5. Сломавший хребет Люфтваффе [i_132.jpg]

Конструкция стабилизатора самолета Ла-5

Иллюстрация к книге — Истребитель Ла-5. Сломавший хребет Люфтваффе [i_133.jpg]

Приборная доска летчика

Иллюстрация к книге — Истребитель Ла-5. Сломавший хребет Люфтваффе [i_134.jpg]

Капот двигателя

Силовой набор центроплана Ла-5 включает десять нервюр, преимущественно деревянных, за исключением торцевых, изготовленных из металла. Эти нервюры имели трубу, связывавшую оба лонжерона, и проходившую сквозь передний лонжерон. Труба предназначалась для крепления основной опоры шасси. В носовой части центроплана находились выемки — купола, предназначенные для уборки колес шасси. Обшивка крыла между лонжеронами — фанерная, носка — выклеена из шпона.

Реклама
Вход
Поиск по сайту
Ищем:
Календарь