Книга Танки Первой Мировой, страница 51 – Семен Федосеев

Авторы: А Б В Г Д Е Ж З И Й К Л М Н О П Р С Т У Ф Х Ч Ш Ы Э Ю Я
Книги: А Б В Г Д Е Ж З И Й К Л М Н О П Р С Т У Ф Х Ц Ч Ш Щ Ы Э Ю Я
Бесплатная онлайн библиотека LoveRead.ec

Онлайн книга «Танки Первой Мировой»

📃 Cтраница 51

Взгляды военного министерства и высшего командования на назначение разрабатываемой машины значительно расходились. Скептицизм командования в отношении танков и нежелание тратить и без того дефицитные средства попусту породили решение о разработке универсального шасси. 15 ноября были сформулированы требования к гусеничному самоходному шасси, которое можно было бы использовать для танка и для трактора или грузовика — последнее назначение «механических транспортных средств» военному руководству казалось куда важнее. При этом машина должна была развивать скорость до 12 км/ч, преодолевать рвы шириной 1,5 м и подъемы крутизной 30°. Только к концу 1920-х годов окончательно стала ясна невозможность создать полноценный танк на шасси трактора или эффективно использовать танк как трактор (вынужденно строившиеся в разных странах и в разное время «бронетрактора» — уже другая тема).

Иллюстрация к книге — Танки Первой Мировой [i_115.jpg]

Испытание A7V в варианте «грузовой машины» или трактора.

К участию в разработке были привлечены фирмы «Даймлер», «Бюссинг», NAG, «Бенц», «Опель». К разработке ходовой части привлекли представителя зарубежного отделения «Холт» Х. Стайнера и берлинскую фирму «Брасс унд Херштетт». Несмотря на скептицизм ставки. поддержка военного министерства обеспечила средства для проведения работ. Разработка проекта велась спешно и была завершена уже к 22 декабря. В основу компоновочной схемы машины была положена симметрия в продольной и поперечной плоскостях. Эта симметрия сказывалась даже на расположении дверей корпуса.

Учитывая «универсальный» характер разрабатывавшегося шасси, описание машины начнем именно с него.

Конструкция собиралась на массивной прямоугольной коробчатой раме. В геометрическом центре машины располагался двигательный отсек, закрытый капотом. Над ним помещалась площадка с местами водителя и командира. Заметим, что на первом варианте шасси было установлено два места водителя, повернутые в противоположные стороны, для переднего и заднего хода — та же идея «челнока». Для увеличения полезного объема корпуса гусеницы были помещены практически под днищем корпуса. Таким образом, компоновка машины была как бы трехэтажной — ходовая часть, платформа с силовой установкой посередине и площадка управления.

Требования к танку предполагали скорость движения 10 км/ч. При планировавшейся массе 25–30 т и предполагаемом сопротивлении движению для этого требовался двигатель мощностью около 200 л.с. Такие двигатели имелись в Германии (например, для «цеппелинов»), но получить их было затруднительно. Фирма «Даймлер» могла поставить двигатели мощностью 100 л.с. и снабжать ими строящиеся танки. Поэтому решено было применить двухдвигательную установку с работой каждого двигателя на гусеницу одного борта. Двигатели были карбюраторные, 4-цилиндровые рядные, жидкостного охлаждения, с рабочим объемом 17 л, диаметром цилиндров 165 мм и рабочим ходом поршня 200 мм. Расход бензина двигателем на 1 км пути составлял 4–7 л. Двигатели были установлены параллельно, носками коленчатых валов к корме. Каждый двигатель крепился к раме отдельно в трех точках. Трубопроводы двигателей были устроены так, чтобы карбюраторы и питающие патрубки находились по внешним сторонам и не нагревались от соседнего двигателя. Выхлопные трубы выводились на внутреннюю сторону и по днищу корпуса выводились через глушители наружу с обоих бортов машины. Глушитель крепился на раме снаружи под верхней ветвью гусеницы. Система питания двигателей рассчитывалась таким образом, чтобы ее работа не зависела от наклона машины. Два бака емкостью 250 л каждый помещались в передней части корпуса под днищем, дно их прикрывалось 10-мм бронелистами. Для большей пожарной безопасности они были перекрыты железными листами и изолированы от боевого отделения. Подача бензина производилась давлением отработанных газов, причем каждый бак мог питать оба двигателя. Для пуска двигателей и в качестве страховочного запаса служили два вспомогательных бака возле места механика-водителя с бензином лучшей очистки и качества. Зажигание смеси осуществлялось от магнето с пусковым магнитом. Число оборотов двигателя регулировалось предохранительным механизмом, ограничивавшим его максимальное значение, и дроссельным клапаном со специальным ручным рычагом. Пуск двигателей мог производиться несколькими способами: электростартером, П-образной стартерной рукояткой на три человека, распылителем «Бош», накачиванием смеси насосом. Для подогрева служила ацетиленовая горелка. Запустив один из двигателей и придав танку первоначальное движение, можно было запустить второй через сцепление. Каждый двигатель снабжался счетчиком оборотов. Тщательно была разработана система смазки. Стекающее в картер двигателя масло откачивалось насосом в отдельный бак, откуда оно другим насосом вновь подавалось через фильтры к местам трения. Это предотвращало заливание цилиндров маслом и забрызгивание свечей зажигания даже при продольном наклоне машины в 45°. Для охлаждения двигателей вдоль передней и задней стенок капота вертикально устанавливались два трубчатых радиатора. Они крепились эластичными хомутами и располагались в особых карманах на войлочной прокладке, снижавшей действие вибрации. Радиаторы обдувались четырьмя вентиляторами — каждая пара вентиляторов приводилась во вращение от вала двигателя ременной передачей (со стороны маховика) с регулируемым натяжением. Воздух забирался изнутри корпуса и выбрасывался наружу через решетки ниже двигателей.

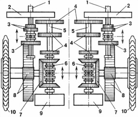
Иллюстрация к книге — Танки Первой Мировой [i_116.jpg]

Схема трансмиссии танка A7V:

1 — носок коленчатого вала, 2 — главный фрикцион, 3 — скользящие шестерни ведущего вала, 4 — шестерни передаточного вола, 5 — ведущий вал, 6 — подвижная втулка конической передачи, 7 — коническая шестерня бортового вала, 8 — бортовой редуктор, 9 — тормоз, 10 — ведущее колесо.

Привод и управление гусеницы каждого борта составляли законченный агрегат, помещенный в едином картере. Он включал сцепление, трехскоростную коробку передач, конические передачи переднего и заднего хода, однорядный бортовой редуктор. Сцепление (главный фрикцион) помещалось на конце удлиненного носка коленчатого вала двигателя. Коробка передач — тракторного типа, с ведущим и передаточным валом и скользящими шестернями. Значения скорости — 3, 6 и 12 км/ч. Переключение скоростей производилось соответствующим рычагом перемещением скользящих шестерен на ведущем валу, включение переднего или заднего хода — перемещением втулки конической передачи, торможение гусеницы — колодочным тормозом на конце передаточного вала. Доводку трансмиссии осуществила фирма «Адлер».

Поворот машины производился выключением и торможением одной гусеницы. Минимальный радиус поворота составлял при этом 2,2 м и был примерно равен ширине колеи машины. Включив задний ход одной из гусениц, можно было развернуть машину на месте. При повороте с большим радиусом механик-водитель поворотом вправо или влево рулевого колеса («волана») изменял соотношение числа оборотов двигателей. Таким образом, механик-водитель управлял машиной в одиночку и мог в широких пределах варьировать повороты и движение машины. Органами управления ему служили рулевое колесо, две педали сцепления, рычаг переключения передач, два рычага тормозов, два рычага заднего хода, рычаг насоса. С соответствующими механизмами органы управления были связаны через гибкие тросы.

Реклама
Вход
Поиск по сайту
Ищем:
Календарь