Книга Танки Первой Мировой, страница 16 – Семен Федосеев

Авторы: А Б В Г Д Е Ж З И Й К Л М Н О П Р С Т У Ф Х Ч Ш Ы Э Ю Я
Книги: А Б В Г Д Е Ж З И Й К Л М Н О П Р С Т У Ф Х Ц Ч Ш Щ Ы Э Ю Я
Бесплатная онлайн библиотека LoveRead.ec

Онлайн книга «Танки Первой Мировой»

📃 Cтраница 16
Иллюстрация к книге — Танки Первой Мировой [i_023.jpg]

«Маленький Вилли» на заводском дворе. Обратим внимание на ходовую части с жесткой подвеской, колесный «хвост» и крышку, перекрывающую предусматривавшееся поначалу отверстие под вращающуюся башню.

Тактико-технические характеристики «Маленького Вилли»

Боевая масса, т 18,3
Экипаж, человек 4-6
Высота, м 2,41
Длина, м 5,45 без «хвоста»
Ширина, м 2,8
Толщина брони, мм 6
Вооружение 7,7-мм пулемет
Двигатель:
марка «Даймлер»
тип карбюраторный
число цилиндров 6
охлаждение жидкостное
мощность, л.с. 105 (при 1000 об/мин)
Трансмиссия механическая
Коробка передач 2-скоростная
Подвеска жесткая
Тип гусеницы металлическая крупнозвенчатая
Максимальная скорость, км/ч 3,2
Преодолеваемый подъем, град. 20
Ширина преодолеваемого рва, м 1,5
Высота стенки, м 0,6

Однако Суинтон считал, что «Маленький Вилли» еще не отвечает боевым задачам. Командование британских войск во Франции выдвинуло обоснованные реальными условиями требования к машине — двигаться по склону крутизной до 27° (45 %), преодолевать ров шириной 2,44 м и стенку высотой 1,37 м.

Тогда в импровизированном бюро Триттона и Вильсона, в номере отеля «Уайт Харт» в Линкольне, родилась идея придать обводам гусеницы форму, близкую параллелограмму: для увеличения высоты зацепа верхнюю ветвь пустить поверх корпуса и вынести направляющее колесо вперед. «Это была достаточно неуклюжая выдумка, — писал позже Суинтон, — однако она обещала решить самую трудную проблему — улучшить способность взбираться по склону и преодолевать широкие окопы». Так к корпусу танка по обоим бортам добавились бронированные рамы, на которые монтировались гусеничные обводы. Поворотная башня слишком подняла бы центр тяжести такой машины, и установку вооружения решили «по-морскому» — в бортовых спонсонах, т. е. выступающих бортовых казематах, что могло обеспечить достаточные углы наведения оружия. Использовать эту конструкцию, позаимствованную у броненосных кораблей, в танках предложил якобы Д'Энкур. Совместный комитет на заседании 24 сентября 1915 г. принял за основу эту схему и требования к машине по проходимости, установив ей массу до 22 т. А уже 29 сентября группе офицеров продемонстрировали деревянный макет в масштабе 1:1. В ноябре завод Фостера приступил к изготовлению машины, известной под именами «Большой Вилли», «Машина Вильсона», «Кингз Сентипед» («королевская сороконожка»). А 14 января «Большого Вилли» уже испытали на поле вблизи завода в Линкольне.

Черчилль к тому времени ушел из правительства из-за провала Дарданелльской операции и находился на фронте в качестве командира пехотного полка. 3 декабря он направил в Комитет имперской обороны и в штаб Френча докладную записку «Варианты наступления», в которой предлагал совместное использование бронированных гусеничных тракторов и пехоты, движущейся по полю боя под прикрытием колесных бронещитов. Записка попала к новому главнокомандующему генералу Дугласу Хэйгу, который для ознакомления с вопросом командировал в Англию подполковника инженера Эллиса.

30 января 1916 г. компания Фостера представила новую машину на испытания, о чем Д'Энкур известил Китченера. По железной дороге машины доставили в Хетфильд, в поместье маркиза Солсбери, в парке которого под руководством Суинтона и Хеттерингтона возвели полосу препятствий. Здесь 2 февраля «Маленький» и «Большой Вилли» продемонстрировали министру снабжения Д. Ллойд-Джорджу, военному министру Китченеру, министру иностранных дел лорду Бальфуру, начальнику Имперского генерального штаба генералу У. Робертсону, лордам Адмиралтейства, подполковнику Эллису. «Было сделано все, что в человеческих силах, чтобы гарантировать машину от поломок, — вспоминал Суинтон. Это меня особенно беспокоило, так как ставка была слишком велика». Машины преодолевали рвы, воронки, эскарп. «Большой Вилли» произвел и большее впечатление. Ллойд-Джордж впоследствии так описывал свои ощущения. «Чувство удивительного восхищения овладело мной, когда я увидел это безобразное чудовище под названием «Королевская сороконожка». Она легко двигалась через плотные заграждения, перелезала по глубокой грязи и через окопы… Напоминавшее слона чудовище прорывалось через кустарники, втаптывало молодые деревья в землю и оставляло после себя широкий след разрушений». Но Китченер остался при своем мнении: «Эта прелестная дорогая механическая игрушка не поможет выиграть войну». Полковник Кромптон презрительно окрестил машину «слизняком». Однако Хэйг, познакомившись с докладом Робертсона и Эллиса, уже 8 февраля просил передать армии первые же 40 штук.

К этому времени машину начали именовать «танк». Считается, что этот термин появился 24 декабря 1915 г. в проекте решений Комитета имперской обороны, подготовленном Суинтоном и подполковником Дейли-Джонсоном, и стал детищем секретного делопроизводства. В целях сохранения тайны распространялись слухи, что англичане выполняют заказ русской армии на «полевые емкости для воды» (сначала хотели упомянуть Месопотамию, но ее британцы успели потерять). Из предложенных названий — «цистерна», «резервуар» и «танк» выбрали последнее (tank — «бак», «емкость»). При перевозке первых танков на них писали кириллицей: Осторожно. Петроградъ» (правда, неграмотно написанное «ПЕТРОГРААЪ» показывало, что никто из русских в этой акции не участвовал).

Иллюстрация к книге — Танки Первой Мировой [i_024.jpg]

Демонстрация «Большого Вилли» (он же «Королевская сороконожка»), февраль 1916 г.

Иллюстрация к книге — Танки Первой Мировой [i_025.jpg]

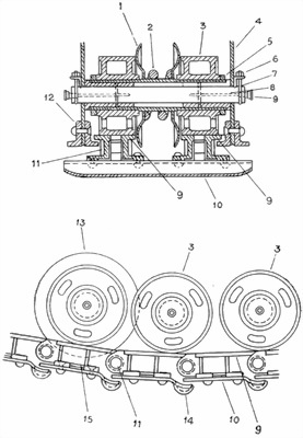
Схема жесткой подвески опорных катков с тарелями:

1 — тарель, 2 — распорная пружина, 3 — опорный каток без реборды, 4 — борт, 5 — упорное кольцо, 7, 8 — ось, 9 — рельс трака, 10 — башмак трака, 11 — палец, 12 — уголок, 13 — опорный каток с ребордой, 14 — изгиб пластины башмака, 15 — крепление рельса к башмаку.

8 февраля «Большого Вилли» показали королю Георгу V, а 12 февраля прошли уже официальные испытания. Поскольку это был первый образец, прародитель, за ним утвердилось прозвище «Мать» (Mother) 28,45-тонный танк (выдержать требования по массе не удалось) приняли на вооружение под обозначением Mk I, «Марка Один».

Реклама
Вход
Поиск по сайту
Ищем:
Календарь